Сохранен 643
https://2ch.su/wm/res/8112526.html
К сожалению, значительная часть сохранённых до 2024 г. изображений и видео была потеряна (подробности случившегося). Мы призываем всех неравнодушных помочь нам с восстановлением утраченного контента!

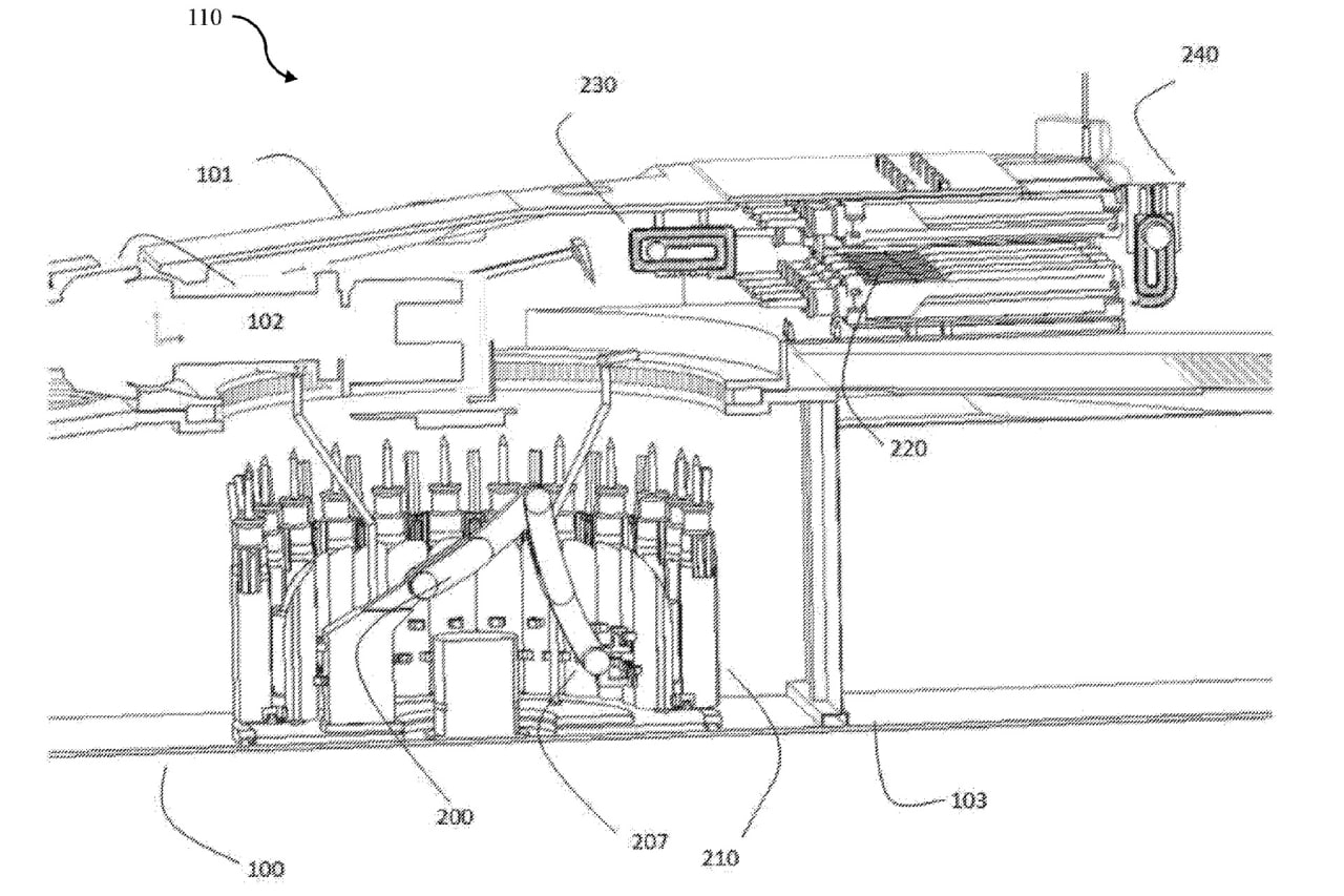
Т-80БВ с башней Т-90М и новым АЗ

 Аноним  OP 12/12/23 Втр 14:56:27 #1 №8112526 
Т-80БВ башня Бурлак.jpg
Т-80БВ башня Бурлак (2).jpg
image.png
image.png
оборонка обмолвилась недавно, что возобновляет производство Т-80... но ведь у нас нет больше технологии ЛИТЫХ башен, да и нафиг они не нужны я думаю - скорее всего поставят катанно-сварную от Т-90А/Т-90М, это и дешевле и лучше. Пикча 1 - то как оно будет выглядеть на шасси Т-80БВ

ну а я чисто решил побаловаться - запихнул в башню от Т-90М автомат заряжания от Бурлака, а карусель в танке больше не нужна = сильно лучше выживаемость, вышибные панели на бурлаке имелись кажется. зеленое - ДЗ
Чё думаешь Военач, реально ли отказаться от карусели и сделать что-то похожее на мои рисунки?

Пикча 3 и 4 - башня "Бурлака" на шасси Т-80БВМ
Аноним  OP 12/12/23 Втр 15:01:01 #2 №8112536 
почему АЗ в корпусе нужно убирать? потому что любое поражение танка советской школы в корпус = гарантированное уничтожение машины с экипажем. Как мы видим, западные коробочки хоть и не показали себя почти никак с точки зрения боевой эффективности, НО почти всегда сохраняют жизнь экипажу (речь о Леопард 2).
Плевать на танк, это всего-лишь 50тонн стали, а вот экипаж бесценен.
Аноним ID: Экранированный Михаил Кошкин  12/12/23 Втр 15:03:21 #3 №8112540 
>>8112526 (OP)
>а карусель в танке больше не нужна = сильно лучше выживаемость
Для жеребят лучше конечно, но фпв на изичах будет выводить из строя.
Аноним  OP 12/12/23 Втр 15:08:11 #4 №8112559 
>>8112540
>но фпв на изичах будет выводить из строя
это пока вообще неясно, как решить, только строить избу на башне
Аноним ID: Разбитый Виктор Золотов  12/12/23 Втр 15:21:56 #5 №8112593 
>>8112536
ФПВ дрон ударом в нишу легко выводит танк из строя. ПРосто надо уже Т-14 делать (даже барен такой себе сделал), где есть бронекапсула и защита бк ДЗ и КАЗ.
Аноним ID: Титановый Чечелашвили  12/12/23 Втр 15:36:01 #6 №8112636 
>>8112526 (OP)
>сильно лучше выживаемость
Нет. Вероятность поражения БК увеличится.
>вышибные панели на бурлаке имелись кажется
Они не спасают от детонации БК.
Аноним ID: Титановый Чечелашвили  12/12/23 Втр 15:38:08 #7 №8112641 
>>8112593
>где есть бронекапсула
Которая не защитит от взрыва БК.
Аноним ID: Полковой Карл Вальтер  12/12/23 Втр 15:40:13 #8 №8112646 
17020696011610.mp4
>>8112526 (OP)
>но ведь у нас нет больше технологии ЛИТЫХ башен, да и нафиг они не нужны я думаю
Свинодибилище, твою умственную малозаметность видно, ты запеленгован. Тебе уже 300 раз ссали в ебало, и пруфы на обратное ты не принесло, дебилявое мартыханище.
>>8112536
Тебе напомнить, как твои баренские коробки дают рывок в лидеры башнемета? А? Дебилявое создание?
Аноним  OP 12/12/23 Втр 15:44:06 #9 №8112654 
>>8112646
свинидла, нахуя нужны литые башни, если катанно-сварные и прочнее, и дешевле?
Аноним ID: Титановый Чечелашвили  12/12/23 Втр 15:47:56 #10 №8112660 
>>8112536
Были фото Лео 2 с оторванной башней. То есть, в случае подрыва ОФС в БК, один хуй экипажу пизда. А ОФС - это основной снаряд на СВО.
>любое поражение танка советской школы в корпус = гарантированное уничтожение машины с экипажем.
Не пизди. АЗ Т72 - это таблетка с минимальными габаритами в горизонтальной и тем более в вертикальной плоскости.
Забашенная ниша - это вертолётная площадка для FPV дронов и решание снижающее безопасые углы маневрирования башни в лобовой проекции, плюс с бортов она на высоте и не прикрывается ни складками местности, ни всякими рукотворными объектами в городе.
Аноним ID: Гиперзвуковой Джозеф Макконнелл  12/12/23 Втр 16:45:15 #11 №8112840 
qkfdep19l0981.png
>>8112536
Первая же картинка из гугла - пробития в корпус и башню, брат жив, зависимость от лучшей школы БТТ есть
Аноним ID: Драгунский Герман Граф  12/12/23 Втр 18:49:44 #12 №8113261 
>>8112660
>АЗ Т72 - это таблетка с минимальными габаритами в горизонтальной и тем более в вертикальной плоскости.

В горизонтальной плоскости АЗ это круг диаметров примерно 1.8метра. При этом забашенная нишая это прямоугольник длиной метр и шириной примерной 2.

В вертикальной плоскости Т-72 это хуева гора выстрелов немеханизированной укладки, которые засунуты во все-все уголочки танка.
Аноним ID: Зенитно-ракетный фон Манштейн  12/12/23 Втр 19:11:40 #13 №8113346 
>>8112593
>даже барен такой себе сделал
Ну и где же?
Аноним ID: Ядерный Риббентроп  12/12/23 Втр 19:52:47 #14 №8113514 
Заптур А4.mp4
>>8112526 (OP)
>но ведь у нас нет больше технологии ЛИТЫХ башен
У вас и технологий сварки больше нет, порксан. БТР трещина и невозможность серийного производства ололота об этом прямо говорят.
>а карусель в танке больше не нужна = сильно лучше выживаемость
Карусель +- никак не влияет на выживаемость танка, животное. Хочешь выживаемость, не вози фугасы.
>Чё думаешь Военач
Думаю, что ты очередная ебанашка с пятачком.
>>8112536
>почему АЗ в корпусе нужно убирать?
Потому что ты очередная ебанашка с пятачком. АЗ в корпусе, в отличии от забашенной ниши, лучше всего защищен в танке и не открыт всем ветрам для ебки.
>потому что любое поражение танка советской школы в корпус = гарантированное уничтожение машины с экипажем
Пиздабол раз.>>8112840. Дело не в "АЗ корпусе", а в наличии в танке фугасов, пиздабол два.
>Как мы видим, западные коробочки хоть и не показали себя почти никак с точки зрения боевой эффективности
Лол кек чебурек.
>НО почти всегда сохраняют жизнь экипажу (речь о Леопард 2)
Вот здесь особенно видно, как ребята за шторкой отсиделись.
>Плевать на танк, это всего-лишь 50тонн стали, а вот экипаж бесценен.
Танк должен выполнять задачи по поддержке пихотов и для этого он должен возить опасные фугасы, а не осуществлять комфортное и безопасное времяпрепровождение 3 сычям и одному негру. Если танк это делать не может, то он бесполезное дерьмо, а его экипаж тогда лучше спрятать в окоп дать по мосинке, толку больше будет. А теперь можешь хрюкнуть, покормил.
Аноним ID: Двуствольный Валерий Венедиктов  12/12/23 Втр 19:53:02 #15 №8113516 
143010141903otvaga2004b02.jpg
>>8112654
>Катанно-сварные
Ты совсем одибилела свынко? Или ты по заветам дилда-высирана живешь? Может еще клепки тебе покажутся панацеей от всего? Ты ж дибил, лол. От эрзац-полугуса, до создания вафлеметов у тебя головушка не пашит.
Мне стоит напомнить лучший танк для таких как ты. Он на пике.
Все твои свинопроблемы решает вмиг. + как у барена, 2 пидорашки и одна нигра.
Аноним ID: Тактический Олави Пуро  12/12/23 Втр 20:06:32 #16 №8113559 
maxresdefault.jpg
>>8113516
Это 64 с башкой от 55? Но зачем
Аноним ID: Форсированный Владимир Левков  12/12/23 Втр 20:33:27 #17 №8113638 
>>8112526 (OP)
Ты одебилел? Твои вышибные панели с первого фпв будут вышибаться, никакой коуп-кейдж не поможет.
Аноним ID: Драгунский Герман Граф  12/12/23 Втр 21:00:04 #18 №8113702 
>>8112526 (OP)
>оборонка обмолвилась недавно, что возобновляет производство Т-80

А производство ГТД-1250 она возобновила?
Аноним ID: Танталовый Роммель  12/12/23 Втр 21:08:58 #19 №8113737 
H0tuYJd5Ds8.jpg
>>8113559
Мы спорим тут и обсуждаем этот вопрос целых 11 лет (На залупных форумах, вроде авантюры, это обсуждают с онгоинга)
Однако, т 64-55 это не верх дебилявости. Был еще такой жуткий проект, под названием М60А3 84. Это... это клиника пиздец.
Аноним ID: Ударный Лавочкин  12/12/23 Втр 21:11:23 #20 №8113752 
Кстати по поводу литых башен. Автор видео утверждает что всё проёбано в 90-е. Смотреть с 4-й минуты.

https://www.youtube.com/watch?v=oLZEn6qZbjI&ab_channel=%D0%9A%D0%B0%D0%BD%D0%B0%D0%BB%D0%9F%D1%80%D0%B0%D0%B2%D0%B4%D0%B0%D0%96%D0%B8%D0%B7%D0%BD%D0%B8
Аноним ID: Ударный Лавочкин  12/12/23 Втр 21:14:46 #21 №8113762 
>>8113702
>А производство ГТД-1250 она возобновила?

Якобы заявляется что будут капиталиться старые телеги с хранения. Которых очень много.
https://www.youtube.com/watch?v=sZpWGN_Dz6E&ab_channel=Hellfire555
https://www.youtube.com/watch?v=J-_xxdITDl8
Аноним ID: Десантируемый Владимир Вахмистров  12/12/23 Втр 23:18:15 #22 №8114087 
>>8113737
Ну если посудить то сейчас броня вообще не решает,поэтому телега от какого то старенького танка вполне сойдёт,сейчас всё главное в башне находится.Можно много ресурсов и времени сэкономить
Аноним ID: Зенитно-ракетный фон Манштейн  13/12/23 Срд 00:00:29 #23 №8114220 
>>8113762
>Т-80 с нуля
>будут капиталиться старые телеги
Аноним ID: Дневальный Маунтбеттен  13/12/23 Срд 04:44:51 #24 №8114655 
>>8113752
Еще клепку проебали в 30-40е.
Аноним ID: Снайперский Дитрих  13/12/23 Срд 13:37:54 #25 №8115518 
>>8113261
>В горизонтальной плоскости АЗ это круг диаметров примерно 1.8метра.
Я имею ввиду борт. А сверху этот круг прикрыт броневоздухом, бронёй башни, ДЗ и козырьком.
>немеханизированной укладки
Их не возят сейчас. Даже в забашенной не механизированной укладке Т90М тоже не возят, ибо из-за этого теряли танки.
Аноним ID: Инженерный Врангель  13/12/23 Срд 17:57:09 #26 №8116289 
image.png
>>8115518
>Их не возят сейчас.

То есть 22 выстрела БК танка, ясненько.

>А сверху этот круг прикрыт броневоздухом, бронёй башни, ДЗ и козырьком.

Он прикрыт крышей башни, толщина которой что-то около 30мм. Конечно, местами там встречаются более стойкие преграды, но только местами.
Аноним ID: Зенитный Драгунов  13/12/23 Срд 19:13:51 #27 №8116506 
>>8116289
И поликом БК. ТЫ забыл тарабсе, или ты думаешь там экипаж как флинстоуны АЗ ногами вращают?
Аноним ID: Ядерный Риббентроп  13/12/23 Срд 21:53:39 #28 №8117134 
>>8116289
>уиии коробочки разрывает!!!
>не возят бк вне карусели, для большей безопасности
>уииии бк недостаточно!!!
Чубатый скот, ты серишь.
>Он прикрыт крышей башни
БК в забашенной нише? Да и больше нихуя там нет. Хрюкни.
Аноним ID: Бронебойный Телеш  13/12/23 Срд 21:56:09 #29 №8117146 
>>8116289
>То есть 22 выстрела БК танка, ясненько.
И?
>Он прикрыт крышей башни, толщина которой что-то около 30мм. Конечно, местами там встречаются более стойкие преграды, но только местами.
Плюс козырёк, ДЗ и бронвоздух, а также бронлюминий у Т90М.
Аноним ID: Фортификационный Чарльз Хэмбро  13/12/23 Срд 23:16:18 #30 №8117411 
>>8114087
>Хихоль
Пан чуб, я все пынямаю, но эпоха 60х прошла. От кумулятива есть защита, а от брони - толк.
И жеребята, за слоем композитов и в 50 тонной коробке, будут вполне себя комфортно чувствовать.
А это некроебство и некрофилия. Идентично ебке т 55 и запила на ее базе шушпанзеров различной степени.
Аноним ID: Аэромобильный Владимир Поткин  13/12/23 Срд 23:44:29 #31 №8117457 
>>8117411
А какие технические возражения (а не вот это некрофилия и т.д.)

>ватный сленг
>от брони - толк
Нихуя себе, нежданчик,обычно твоя порода обратное говорит
Аноним ID: Фортификационный Чарльз Хэмбро  14/12/23 Чтв 00:24:39 #32 №8117525 
>>8117457
Технические возражения? Ты возраст и задел под модификации этого танка видел (Там все скудно)?
Ib4: Кукарек про т-72 будет нещитовым, как и визг про турецкую модификацию.
>Нихуя себе, нежданчик,обычно твоя порода обратное говорит
Да я тоже вахуи, пан говорит, что некропараша - заебись тема.
Аноним ID: Аэромобильный Владимир Поткин  14/12/23 Чтв 01:38:24 #33 №8117627 
>>8117525
>возраст и задел под модификации
>Ib4: Кукарек про т-72 будет нещитовым, как и визг про турецкую модификацию.
Вскукарекну про т 62м 2022,додик.Но это блять причём здесь,речь про корпуса,что там надо блять модифицировать и нахуя,бронестойкость которая даже современным образцам хуй помогает ?
>вахуи
Ты еще и тик-ток поридж
>пан
Спасибо
Аноним ID: Стратегический Николай Щорс  14/12/23 Чтв 09:46:32 #34 №8118031 
>>8113752
ЧТЗ и УВЗ - проебали, последние башни из задела 1991-93 годов пошли в 2006 году на Т-90К.
ЛКЗ - ну там вообще линии танковой нет, и он был больше как опытное мелкосерийное производство.
ОЗТМ - тоже уже не сольют нихуя, 640ой уже варить собирались. Думаю на новый Т-80 накинут Бурлака либо тот колпак что на Т-90М.
Аноним ID: Окруженный Балабуев  14/12/23 Чтв 10:29:01 #35 №8118129 
>>8117627
>Вскукарекну про т 62м 2022,додик.
Нещитова, некропараша.
>надо блять модифицировать
Контакта налепят и фанерку прикрепят. Любой такой запил некроговна - чисто дохоронить жеребяток и само корыто на поле боя.
>>вахуи
У нас так ротный говорил? Проблемы?
Аноним ID: Зенитный Драгунов  14/12/23 Чтв 11:49:47 #36 №8118302 
>>8113752
А чего все так усираются по литым башням то? В танкотрнде же всегда говорили, что сварная башня лучше литой и устраивали вселенские башнясрачи!
Аноним ID: Гиперзвуковой Джозеф Макконнелл  14/12/23 Чтв 12:04:47 #37 №8118342 
>>8118302
1) Баллистическая форма. 2) Сварной шов слабое место
Аноним ID: Окруженный Балабуев  14/12/23 Чтв 12:19:46 #38 №8118383 
>>8118342
>Сварной шов слабое место
Тебя сварщик как уебет по мартыхановской головушке.
По всем стандартам судостроения, сварной шов и провар в целом, должен быть прочнее основного металла. И при испытаниях, если рвется шов, то сварка считается парашей.
Аноним ID: Гиперзвуковой Джозеф Макконнелл  14/12/23 Чтв 12:48:36 #39 №8118488 
>>8118383
Как ни ебись шов будет концентратором напряжений
Аноним ID: Окруженный Балабуев  14/12/23 Чтв 13:41:56 #40 №8118686 
>>8118488
Это если мартышка будет запиливать квадратный шушпанзер.
А так литье - наше все.
sageАноним ID: Heaven 14/12/23 Чтв 14:11:23 #41 №8118802 
630М. Телега Ушки, дрыгло 1400, башня сварняк 188М.
/thread
Аноним ID: Нервно-паралитический Бартини  14/12/23 Чтв 20:28:50 #42 №8119870 
>>8118686
>литье
Устаревшее говно
Аноним ID: Отдельный специальный Шёрнер  14/12/23 Чтв 21:28:47 #43 №8120070 
>>8119870
>Устаревшее говно
Слово "Клепка", мнение?
Аноним ID: Полузатопленный Дебельвью  18/12/23 Пнд 15:15:15 #44 №8131508 
>>8118302
Потому что литые башни не расходятся по швам после прилёта например мины.
Аноним ID: Прогрессивный Трибуц  18/12/23 Пнд 15:57:46 #45 №8131647 
>>8131508
Да что это за башни то, с такой уебищной сваркой?
>Прилет мины
Это по дидваивальскому танку прилетало? Когда квадратная и сварная башня по кривым швам расходилась.
Аноним ID: Осколочный Сахаров  18/12/23 Пнд 17:44:52 #46 №8131977 
даешь башню т90м на т62!
Аноним ID: Тяжеловооруженный Гротте  19/12/23 Втр 00:55:12 #47 №8133419 
>>8131508
>Потому что литые башни не расходятся по швам после прилёта например мины.
сварные тоже не расходятся.
Аноним ID: Тяжеловооруженный Гротте  19/12/23 Втр 00:59:37 #48 №8133436 
изображение.png
изображение.png
изображение.png
В Закрепе написали, что нужна телега Объекта 187.
Аноним ID: Мультиспектральный Лев Доватор  19/12/23 Втр 02:09:37 #49 №8133606 
>>8133436
>В Закрепе написали
Обоссали эту свинью тупую, не вдупляющую что под новый корпус надо конвейер переделывать. Или это ты и есть?
Аноним ID: Х-образный Ростислав Алексеев  19/12/23 Втр 02:35:13 #50 №8133642 
>>8133606
Это не он, это я писал, про 187 с башкой Т-90М.
Это был чисто теоретический вопрос.
Я не разбираюсь в деталях установки АЗ. Просто сама компоновка 187, по-моему, до сих пор актуальна.Там нет радикальных изменений по сравнению с Т-72. Дело даже не в заднем ходе (который словаки и поляки, кажется, прикрутили к Т-72), а в том, что там нет хероты с декольте. Там форточка для мехвода вынесена назад и находится за слоем композита, насколько я понимаю.
По сути, так же сделали китайцы на серии Тип 99. Их Тип 99 по компоновке и наследует удачные решения 187-го. Почему они шмагли уже два десятка лет как, а УВЗ - нет... я не знаю, и, в принципе, поебать, просто это выглядит как менее трудоёмкая и вполне актуальная замена старым танкам Т-серии.
Ничего не мешает всё ещё принять 187 на вооружение как условный какой-нибудь Т-24. Мне кажется, перевести такой танк под более современные стандарты не так сложно должно быть.
Аноним ID: Х-образный Ростислав Алексеев  19/12/23 Втр 02:42:51 #51 №8133656 
>>8133642
И да, я понимаю, что на деле это всё равно бессмысленно.
Всё равно это будут новые бронекорпусы и башни со всеми последствиями для производства. Всё равно это будет по сути Т-72 версия 2.5.
При этом 20+ лет на разработку 195 и Т-14 уйдут в утиль, а армия получил танк, который был бы очень хорош, например, в этой войне, но уже к следующей покажет себя хуй знает как.
Но и глядеть на мучения с Т-14 тоже довольно неприятно.
Потому что я уже не совсем понимаю перспективы её серийного производства в таких количествах, в каких нужно.
Пусть даже его сделают 100 или 200 штук - этого всё равно ведь будет недостаточно.
Аноним ID: Урановый Масхадов  19/12/23 Втр 03:33:23 #52 №8133738 
>>8133642
>Дело даже не в заднем ходе
Задний ход уже допилили.
>Там форточка для мехвода вынесена назад
Никто не будет пилить все по новой, из-за небольшого усиления в влд.
>Тип 99
>шмагли
Не видел ни в бою, ни экспортных успехов. На биатлон тоже 96 тип привезли, который катки на ходу терял.
>в принципе, поебать, просто это выглядит как менее трудоёмкая и вполне актуальная замена старым танкам Т-серии.
Пока получается, что у рф все танки, "танки Т-серии", лолд. Если ты про замену платформы 72-80, то она уже сделана (Т-14) и это при том что текущий Т-90М более чем актуален.
>Всё равно это будет по сути Т-72 версия 2.5.
72 версии 2.5 это 90М и есть. Убери у него компоновку корпуса и от 72 там вообще ничего не останется уже кроме агрегатов.
>Но и глядеть на мучения с Т-14 тоже довольно неприятно.
Почитай как 64 со скрипом шел, там 10 лет его допиливали, а потом 72-ой вышел, который как танк лучше был, лол, но 64 не пидарнули, чтобы хрюковские товарищи не обиделись. Вот это рили, побежали тогда впереди паровоза.
>Пусть даже его сделают 100 или 200 штук - этого всё равно ведь будет недостаточно.
Ради 200 штук никто бы не стал огород городить с новой компановкой, Х образником и т.д. Т-14 тупо доводится, чтобы не повторять гарбыли с Т-64.
Аноним ID: Тяжеловооруженный Гротте  19/12/23 Втр 04:16:50 #53 №8133778 
>>8133738
>
>Не видел ни в бою, ни экспортных успехов.
Погугли ВТ-4

>На биатлон тоже 96 тип привезли, который катки на ходу терял.
Это разные танки.

>Т-14 тупо доводится
Т-14 импортозамещается. И конца этому не видно.
Аноним ID: Тяжеловооруженный Гротте  19/12/23 Втр 04:18:59 #54 №8133781 
>>8133642
Но тема с моноблоком под В-92 би-турбо 1400 л.с. интересна. Да и можно два моноблока: под ГТД и В-92 для поддержки разных заводов. Танков один хрен надо 3000 + для резерва столько же.
Аноним ID: Урановый Масхадов  19/12/23 Втр 05:21:02 #55 №8133859 
>>8133778
>Погугли ВТ-4
И что я там должен увидеть?
>Это разные танки.
Кек, а вт-4 и 99 тип не разные? Маневренность мое почтение.
>Т-14 импортозамещается
Что именно импортозамещают? С пруфами давай.
Аноним ID: Тяжеловооруженный Гротте  19/12/23 Втр 05:59:43 #56 №8133867 
>>8133859
>И что я там должен увидеть?
экспортные успехи.
>Кек, а вт-4 и 99 тип не разные?
не разные
>Что именно импортозамещают?
Электронику, очевидно. И прочие вещи. Иначе бы так долго не делали.
Аноним ID: Урановый Масхадов  19/12/23 Втр 06:13:10 #57 №8133877 
>>8133867
>экспортные успехи.
А почему все эти успехи меньше одного индусского контракта на Т-90С?
>не разные
А почему называются по разному?
>Электронику, очевидно.
Пруфы где?
>Иначе бы так долго не делали.
Пока его делают, никто в мире, ничего подобного даже не показал, ты с чем сравниваешь?
Аноним ID: Тяжеловооруженный Гротте  19/12/23 Втр 06:19:56 #58 №8133883 
>>8133877
>А почему все эти успехи меньше одного индусского контракта на Т-90С?
Потому что танки сейчас вообще плохо продаются.
>А почему называются по разному?
Так надо.
>Пруфы где?
Это и так очевидно по общему пососу электроники и бодрым заявлениям о скором производстве, которое так и не настаёт.
>Пока его делают, никто в мире, ничего подобного даже не показал
Амеры показали Абрамс Экс
Аноним ID: Урановый Масхадов  19/12/23 Втр 06:32:08 #59 №8133891 
8378101original.jpg
>>8133883
>танки сейчас вообще плохо продаются.
Нормально все продается, отмазки для бедных.
>Так надо.
Надо, чтобы ты был пиздаболом? Ну, ок, пиздабол.
>Это и так очевидно
Пока мне очевидно, что ты беспруфный пиздабол и фуфел.
>которое так и не настаёт
А ето што?
>Амеры показали Абрамс Экс
Показали танк обычной компоновки, через 10 лет после арматы? И какие у "Х" перспективы на сегодняшний день? Испытания хоть начал проходить?
Аноним ID: Стальной Николай Духов  19/12/23 Втр 07:14:49 #60 №8133918 
>>8133891
Компоновка там лафетная, но при этом старый скворешник остался. Перспективы туманные, выглядит как макет от девочек-дизайнеров
Аноним ID: Окопавшийся Бермондт-Авалов  19/12/23 Втр 08:50:25 #61 №8134022 
>>8133891
>Показали танк обычной компоновки, через 10 лет после арматы?

1. Там необитаемая башня.
2. Армата это Абрамс блок 3 спустя 20 лет.
Аноним ID: Урановый Масхадов  19/12/23 Втр 09:07:41 #62 №8134042 
>>8134022
>1. Там необитаемая башня.
То есть, они просто косплеят армату 10 лет спустя? Кек.
>2. Армата это Абрамс блок 3 спустя 20 лет.
Абрамс блок 3, это Т-62М с ГТД +20 тонн, ебанашка. Устарел еще 50 лет назад.
Аноним ID: Х-образный Ростислав Алексеев  19/12/23 Втр 09:42:33 #63 №8134100 
>>8133738
>Задний ход уже допилили.
Я так ни разу и не видел твёрдых пруфов на -15 км/ч, кстати. Насколько я понимаю, в собранных "с нуля" Т-90М 2020+ года такое есть, но роликов на ютубе не попадалось. Но я особо и не искал, поверхностно гуглил.

>Никто не будет пилить все по новой, из-за небольшого усиления в влд.
Да, о том и речь.

>72 версии 2.5 это 90М и есть. Убери у него компоновку корпуса и от 72 там вообще ничего не останется уже кроме агрегатов.
Мне нравится сравнивать ситуацию с Челленджерами 1, 2 и 3. Вот там примерно так же. Правда, Челленджер сам по себе говнина редкостная, речь про концептуальное сходство.

>Почитай как 64 со скрипом шел, там 10 лет его допиливали
Да, поэтому вопросов к долгим срокам принятия Т-14 на вооружение нет.
Главное, чтобы это в итоге сделали так, чтобы было массово, повторюсь.

>>8133781
Ну есть такое, да. Могло бы быть интересно.

>>8134022
>Армата это Абрамс блок 3 спустя 20 лет.
Ебанулся, что ли?
Одна необитаемая башня не делает танк какой-то охуеть йобой. Необитаемые башни на танки пытались вкорячить уже очень давно, и у Т-14 не только в ней преимущество.
В основном Абрамс Х это просто попытка выжать всё, что возможно, из платформы Абрамса, "приобщить" его к поколению Т-14 и условного Тип 10.
Если где и есть замах на йобу, так это у КФ51 Пантеры, там хотя бы домик для дрона придумали в башне и пушка 130-мм.
Аноним ID: Х-образный Ростислав Алексеев  19/12/23 Втр 09:47:39 #64 №8134113 
>>8134100
https://bmpd.livejournal.com/4783210.html
Ого, ну надо же, опять венгры.
Они и KF41 купили.
Причём они отказались от 130-мм пушки в пользу 120-мм пушки, то есть, танк ради производства всё равно лишают характерных черт йобы.
Непонятно только, где тут EVO, это какая-то EVO в обратную сторону. Но им виднее.
Аноним ID: Бригадный Айзек Лэддон  19/12/23 Втр 09:54:00 #65 №8134127 
>>8134100
У Пантеры телега всё та же от Лолопарда. Мы же не считаем новым поколением М1А1 или Т-90 со сварной башней, а дрон вообще к чему угодно прикрутить можно, а потом открутить когда хайп пройдет
Аноним ID: Урановый Масхадов  19/12/23 Втр 10:25:13 #66 №8134196 
>>8134100
>твёрдых пруфов
Визгливый карлик, в военной приемке скорость 80 бвм пруфал. Таким ты видешь твердый пруф, лолд? На 90М такого не видел, но пишут что фиксанули те 5км.ч.
>Т-90М 2020+ года такое есть
У 80 БВМ в районе 10км.ч (да, замерено карликом).
Аноним ID: Мехпехотный Клостерман  19/12/23 Втр 23:44:58 #67 №8136868 
>>8134100
>Да, поэтому вопросов к долгим срокам принятия Т-14 на вооружение нет.
>Главное, чтобы это в итоге сделали так, чтобы было массово, повторюсь.
лол по сути Т-14 начал разрабатываться ещё в 80тые. под названием объект 477.
да и танки сейчас нах ни нужны особенно очередное говно с каруселью.
Аноним ID: Мотострелковый Скоморохов  20/12/23 Срд 00:11:02 #68 №8136920 
>>8118488
Делать отпуск шва.
Аноним ID: Кластерный Моршид  20/12/23 Срд 02:33:00 #69 №8137112 
>>8136868
Карусель это лучшее, что есть.
Защищать в танке в первую очередь надо именно снаряды, потому что если пизданут снаряды - танку кранты. При этом не важно, где снаряды размещены. Даже если в нише за тремя бронешторками, даже если жеребята не пострадали - танк при этом полностью теряет боеспособность и с вероятностью 95% теряет двигатель. Если это случилось в реальном общевойсковом бою - танк будут добивать из всего, что есть, и жеребятам пизда в любом случае.

Карусель по типу Т-72 это такая компоновка снарядов, при которой площадь боеукладки минимальна, и вероятность поразить её с любого ракурса наименьшая. С нишей у тебя сразу по пизде идут углы безопасного маневрирования и безопасного вращения башни, что в современном бою, где тапочник с гранатомётом может откуда угодно высунуться, непростительно вообще.
Аноним ID: Кластерный Моршид  20/12/23 Срд 02:52:10 #70 №8137126 
>>8118302
>А чего все так усираются по литым башням то? В танкотрнде же всегда говорили, что сварная башня лучше литой и устраивали вселенские башнясрачи!
Если упороться гримдарком, можно имагинировать кованые башни. Чтобы гигантский дизельный молот в 100 тонн ебашил заготовку в пресс-форме, а промышленные манипуляторы подкладывали туда всякие вкладыши.
https://www.youtube.com/watch?v=FmptJSppwio
Кованные изделия считаются самыми пиздатыми, ибо металл в процессе упрочняется, уходят крупномасштабные дефекты кристаллической решётки, особенно свойственные литью. При этом ни одна страна мира вроде бы такое сделать не пыталась.
Аноним ID: Диванный аль-Багдади  20/12/23 Срд 02:55:48 #71 №8137128 
>>8137112

Теперь давай про ангары и аппарели. Ангары всё равно пробьют, на БМП всё равно лучше ездить сверху, вот это всё.
Аноним ID: Урановый Масхадов  20/12/23 Срд 03:11:14 #72 №8137143 
>>8137128
Я понимаю, что тебе НЕПРИЯТНО, но ты уж как нибудь затерпи.
Аноним ID: Элитный Охлопков  20/12/23 Срд 06:14:41 #73 №8137282 
>>8137126
Пыталась нацисская германия. Как понимаешь танк выходил даже в условиях военной экономики золотым. Вот если пресовать из полужидкой массы металла отдельные компоненты башни то может что-то и вышло.
Аноним ID: Элитный Охлопков  20/12/23 Срд 06:16:33 #74 №8137284 
>>8118302
>А чего все так усираются по литым башням то?
дешевизна и выская технологичность. Меньшее количество операций по изготовлению.
Аноним ID: Неустрашимый Артур Харрис  20/12/23 Срд 10:45:55 #75 №8137735 
>>8136868
>очередное говно с каруселью
Японско-немецко-прочие пидорашки мриют о нормальном АЗ, дабы послать нигру нахуй. Но только эксперт мартыханов делает неутешительные выводы и говорит, что черножопое в танке нужно.
Необучаемые-с
Аноним ID: Мехпехотный Клостерман  20/12/23 Срд 12:16:12 #76 №8137969 DELETED
>>8137112
>>8137735
бимусор выдумывает лютую херню что бы не признать недостатки.
мне интересно когда вас расстреливать за лож и дезинформацию.
Аноним ID: Горный Юджин Стоунер  20/12/23 Срд 12:19:42 #77 №8137978 
>>8137735

Так то нормальный АЗ (ленточный в нише) и МЗ (на 28 выстрелов, выдерживающий прогиб днища) а то тагильская хуета. На Т-72 она хотя бы работает, на всрате вообще все рекорды побиты, более 10-ти лет не могут заставить АЗ нормально работать. Всё ждут, что оно само.
Аноним ID: Мехпехотный Клостерман  20/12/23 Срд 12:21:00 #78 №8137980 
>>8137969
а да у японии, франации, и юк, автомат заряжания у Япония кстати с 3,2-3,4 кд секунды
Аноним ID: Горный Юджин Стоунер  20/12/23 Срд 12:21:08 #79 №8137981 
>>8137112
>потому что если пизданут снаряды - танку кранты

У Абрамса всё продумано и никакие кранты не наступают.
Конечно, такая компоновка привела к другим недостаткам.
Аноним ID: Урановый Масхадов  20/12/23 Срд 13:18:17 #80 №8138139 
свинодвойка.jpg
>>8137969
Шплинтя, прими таблетки от раздвоения свиноличности, шизоебище.
Аноним ID: Сверхзвуковой Май-Маевский  20/12/23 Срд 14:55:25 #81 №8138357 
image
image
image
image
>>8137981
>У Абрамса всё продумано и никакие кранты не наступают
Да ты сё.
Аноним ID: Ротный Иванэ Мацуи  20/12/23 Срд 15:06:29 #82 №8138372 
>>8138357
>Пик 4
Это та самая проводка загорелась?
Аноним ID: Танковый Хауссер  20/12/23 Срд 15:44:12 #83 №8138420 
Skhema pidor1.png
>>8137969
>Мелкобуква
>лож
Йож. ФФФФФФФФФ!!
Защитник черножопых, ты серишь.
>>8137978
Лол, шплинта признала АЗ на Армате, опять.
Аноним ID: Тяжеловооруженный Гротте  21/12/23 Чтв 01:37:39 #84 №8140154 
>>8138372
Это с вертушек добивали сверху, чтобы арабам не достался.
Аноним ID: Стальной де Голль  21/12/23 Чтв 03:17:36 #85 №8140231 
>>8140154
>Это с вертушек добивали сверху, чтобы арабам не достался.

Бля буду, ни одного Абрамса не подбили, мы сами добили, все ребята живы, вот посмотрите фоточки наших официальных корреспондентов, которым можно снимать только то, что мы разрешим - разве вы видите где-нибудь сгоревшие Абрамсы? Ну ладно, один вот видите, потому что мы кто - правильно, демократия, и у нас независимая пресса!
@
Спустя N лет журналисты достают из загашника фото подбитых Абрамсов, включая даже подбитый Абрамс, который подбила БМП-1.
Аноним ID: Сверхманевренный Рокоссовский  21/12/23 Чтв 10:41:53 #86 №8140541 
>>8140231
>который подбила БМП-1.

МАЛЮТКА
@
ПРИЛЕТАЕТ В ЕБАЛО
@
К ОДНОМУ ИЗ САМЫХ "ЗАЩИЩЕННЫХ" ТАНКОВ НА ТОТ МОМЕНТ
@
АБАСРАМС ДИКО ПЫЛАЕТ
@
МАРТЫШКА ДИКО ОРЕТ
@
ЮПУП ПО ТРАДИЦИИ БАНИТ КАНАЛ С НЕУДОБНОЙ ПРАВДОЙ
Аноним ID: Противотанковый Ясухико Куроэ  21/12/23 Чтв 11:01:18 #87 №8140583 
>>8112526 (OP)
>реально ли отказаться от карусели и сделать что-то похожее на мои рисунки?
Ты расчёты составил? Чертежи сделал? Модель построил? Прогнал всё это через симуляцию на физическом движке?
Аноним ID: Противотанковый Ясухико Куроэ  21/12/23 Чтв 11:02:29 #88 №8140585 
>>8140583
>Ты расчёты составил? Чертежи сделал? Модель построил? Прогнал всё это через симуляцию на физическом движке?
НЕТ - это и будет ответом на вопрос, реально ли отказаться от карусели и сделать что-то похожее на твои рисунки.

/thread
Аноним ID: Гиперзвуковой Омар Бредли  21/12/23 Чтв 14:30:00 #89 №8141027 
>>8140541

А потом ты проснулся обосравшись на лекции.
Аноним ID: Понтонный Петен  21/12/23 Чтв 14:37:51 #90 №8141048 
>>8141027
ПРОСНУЛСЯ
@
ЗАШЕЛ НА ТЫРТУБ
@
А ВИДЕО ТО ВОТ ОНО
@
ЖИДКОЕ ГОВНО ПРИЯТНО ГРЕЕТ ПОРТКИ
Аноним ID: Стальной де Голль  21/12/23 Чтв 16:10:14 #91 №8141276 
>>8140541
Ладно бы Малютка.
Гром, Карл!
Аноним ID: Кластерный фон Клейст  21/12/23 Чтв 16:23:39 #92 №8141317 
1703165019081.png
>>8137981
> ГорныйЮджин Стоунер
> топит за абрамсы
Бля, в голосину с макабы!
Аноним ID: Понтонный Петен  21/12/23 Чтв 16:38:05 #93 №8141356 
>>8141276
>гром
Снято на Йеменфильме.
Аноним ID: Стальной де Голль  21/12/23 Чтв 19:05:04 #94 №8141768 
>>8141356
Неее, БМП-1 Громом - это из Ирака 2003.
Аноним ID: Строевой Эрих Бахем  21/12/23 Чтв 19:57:34 #95 №8141917 
>>8141768
прям лоб башни взял?
ну пиндосы, ну попильщики :D
Аноним ID: Стальной де Голль  21/12/23 Чтв 20:57:57 #96 №8142061 
>>8141917
Нет, конечно в борт.
Претензии-то не к тому, что Абрамс в принципе Громом в борт пробили, претензии к верящим в неуязвимость Абрамсов абромсодрочерам, которые строили свой манямирок на подцензурных СМИ США, у которых все потери - это "амеры сами добивали пустые Абрамсы авиацией".
Аноним ID: Мотострелковый Скрыпник  21/12/23 Чтв 21:31:28 #97 №8142130 
>>8141768
А, я думал новое видео запилили с пробитием абрашки в лоб. Пушт малютка смачно ебанула по сараю таки в лобешник, шо у него аж проводка загорелась.
Аноним ID: Строевой Эрих Бахем  21/12/23 Чтв 23:37:20 #98 №8142411 
>>8142061
не может сгореть только тот танк, который не существует
абрамсодрочеры и абрамсохейтеры это два полюса долбоёбов, истина где-то посередине.
Аноним ID: Картечный Эли Андре Брока  22/12/23 Птн 01:32:04 #99 №8142548 
>>8142411
> истина где-то посередине.
Сгорел, но наполовину? Не 50км проводки, а всего 25?
Аноним ID: Автострадный Валериан Фролов  22/12/23 Птн 09:05:40 #100 №8142777 
1633224974317.png.png
>>8142548
"25 километров проводки бывает достаточно для выявления золотой середины в сраче о абасрамсах"
Ли Петян Баофенг
148,8 г д.н.р.
Аноним ID: Стальной де Голль  22/12/23 Птн 09:24:01 #101 №8142797 
>>8142411
>не может сгореть только тот танк, который не существует
Полностью согласен.
Но когда такое говорили лет пятнадцать назад про Т-шки, абрамсо/лео и челлендеродрочеры визжали, что это не так и ни США, ни Великобритания ни одного танка не потеряли уничтоженными, только от френдлифайра и от добивания своими, чтобы не досталось иракцам.
А сейчас-то после пососа уже всех танков западной школы, кроме всяких Леклерков/Ариетте/К2 все такие "ну чо вы, любой танк можно уничтожить же".
Аноним ID: Строевой Вейган  22/12/23 Птн 09:34:43 #102 №8142813 
>>8142797
>что это не так
Ну так на тот момент они были правы.
Естественно, с учётом того, что обе крупномасштабные операции с использованием западных ОБТ последних поколений получились, фактически, расстрелом мужиков с РПГ-7, в лучшем случае, при поддержке Т-55 или Т-72А с боеприпасами из 1970-х, не говоря уже про превосходство авиации, но ведь это на бумаге победка, правда же?
Бтв в Сирии те же поздние Т-72 и Т-90 себя тоже показали, насколько помню.
Но про это оказалось нещитово, хайптрейн ушел, времена изменились.
Аноним ID: Стальной де Голль  22/12/23 Птн 10:07:20 #103 №8142848 
>>8142813
>Ну так на тот момент они были правы.
На тот момент было также, как и сейчас - любой танк можно уничтожить, и чем более интенсивно он применяется в боевых действиях - тем больше фото/видеоматериалов с уничтоженными танками данного типа.
Просто дрочеры на западные танки отказывались это признавать, пока игнорировать реальность не стало совсем быссмысленно.
Аноним ID: Стратегический Николай Щорс  22/12/23 Птн 15:29:39 #104 №8143598 
>>8141768
Анон, доставь?
Аноним ID: Дерзкий Надирадзе  22/12/23 Птн 20:43:01 #105 №8144608 
бк в носу.jpg
Малютка.webm
>>8142813
>Ну так на тот момент они были правы.
Парашные животные пиздели до последнего. Сначала они судили по конфликтам малой интенсивности против бомжей. А как только бомжи оказались хоть немного с "дюшком" башни леопердов сразу стали лететь в воздух, а аброговно пробиваться в лобешник малюткой. И даже тогда животные визжали про "не ту модификацию". Про СВО, я уже вообще молчу. А6 и членеджер заглотили СРАЗУ же. Аброговно на все это посмотрев, уже год до лбс никак не доедет, лолд.
Аноним ID: Стальной де Голль  22/12/23 Птн 22:06:14 #106 №8144911 
>>8143598
>Анон, доставь?
Буду честен, порылся в закромах - но не нашёл.
Видел в своё время (причём давно, в ковид или раньше) тут на военаче, как раз с комментариями "ебать тут старые неопубликованные фото из иракской компании кто-то из журнашлюх выложил, а на них новые фото горелых Абрамсов, вот на этом фото пишут БМП подбила".
Нихуя не гуглится.
Был уверен до сих пор, что схоронил, но вот увы.

Так что пруфов не будет, можешь смело посылать меня нахуй.
Аноним ID: Танталовый Жак Андре  23/12/23 Суб 15:37:07 #107 №8146648 
>>8144911
Да тут его в самом начале этого года кидали, когда один поросенок начал истерить. Возможно, что оно лежит в бмп треде. Надо поискать
Аноним ID: Десантируемый Александр Турчинов  16/01/24 Втр 20:47:41 #108 №8243040 DELETED
>>8144911
>а на них новые фото горелых Абрамсов, вот на этом фото пишут БМП подбила".
Палю годноту: есть фотки Абрамса, подбитого огнем Брэдли. Разумеется, пиндосы сказали, что патерьнет, но Скотт Риттер (или это был Дуглас Макгрегор?) слил фотки. Исходя из аксиомы, что пиндосы всегда пиздят, можно сделать вывод, что танк подбит не Брэдли, а БМП-2. Не БМП-1, но тоже гордость за советское оружие берет.
Аноним ID: Беспилотный Ян Режняк  17/01/24 Срд 05:48:58 #109 №8244054 
>>8112526 (OP)
Башню имеет смысл ставить только от Прорыва с заменой МЗ на АЗ от 80-ки.
>реально ли отказаться от карусели
Карусель лучше забашенной ниши защищена от дронирования, ебанько.
Аноним ID: Беспилотный Ян Режняк  17/01/24 Срд 05:50:59 #110 №8244055 
>>8133642
А, так эт шплинта опять толстоту качает, так бы сразу и спалиась, шлюхенция.
Аноним ID: Космический Семен Семенченко  17/01/24 Срд 20:02:11 #111 №8246255 
1200px-BlackEagleObj640.png
-1.jpg
maxresdefault.jpg
танк-3SXj8B2fJqk-WqsPCuinySwWCrM0mwT3.jpg
>>8112526 (OP)
А шо Чорного Орела, он же Т-80УМ2 никто не вспомнил?
Аноним ID: Химический Ранжит Мадалана  17/01/24 Срд 21:16:19 #112 №8246497 
>>8246255
Этож мокет ходовой был.
Аноним ID: Двухтактовый Эли Андре Брока  17/01/24 Срд 21:30:01 #113 №8246554 
Как показали хохлы ДМ23 из т55мс с удаленным на на 4% Л7 -105мм сносит т90 в лоб с 3.7 км весь этот пиздеж про старый хлам Кококо питушни лахтовской . Чего не кто не ожидал вообще особенно в ключе детонации динамической защиты.
Так что идите все нахуй.... Посмотрите на Ютубе канал Волгоградец. Такой рекламы для старья в виде Л7 и ДМ23 в 2024 году ни одна страна Ната и думать не могла что это возможно! С многослойный разнесённые бронёй.
Аноним ID: Космический Семен Семенченко  17/01/24 Срд 23:08:59 #114 №8246802 
>>8246554
Ну то что от 115-мм фугаса и лео четвёртому не поздоровится это я и до этого всего знал, задача попасть.
Аноним ID: Орбитальный Валерий Венедиктов  18/01/24 Чтв 03:19:51 #115 №8247178 
>>8246554
где видос.
Аноним ID: Полковой Элифалет Ремингтон  18/01/24 Чтв 09:09:47 #116 №8247586 
>>8246554
>Как показали хохлы
Я не видел, покажи еще раз.
Аноним ID: Инфракрасный Виктор Калашников  18/01/24 Чтв 10:24:11 #117 №8247785 
>>8246554
Как показали москали обстрелом Леопарда фугасом с закрытой позиции рядом с отвалом коксохима, от крупнокалиберного ОФС не спасает и швятость.

Более того, еще в 43-м Тиграм тупо отрывало башни от обстрелов ОФС 122+мм.
Барену наверное все-таки стоит выкинуть нахуй ломы и картечь, да и положить в укладку ОФС. Правда, от их взрыва бронешторка уже не спасает.
Аноним ID: Крупнокалиберный Лаури Тёрни  18/01/24 Чтв 11:53:01 #118 №8248121 
>>8247785
>картечь

Её нет.
Было выпущено всего несколько тысяч снарядов.

>ОФС

У Леопарда всегда была. У Абрамса был в начале многоцелевой, теперь программируемый ОФС. Учи матчасть, короч.
Аноним ID: Снайперский Честер Нимиц  18/01/24 Чтв 14:25:53 #119 №8248600 
>>8248121
>был в начале многоцелевой
Ты про HESH снаряды еще на А1 с 105 мм пухой что ли? Или про кумулятивно-осколочный HEAT который хуевый кумулятив и никакой ОФС?
>теперь программируемый ОФС
Начали печатать в 21, разрабатывали аж с 15 по 19-й в 20-м проходл испытания на учениях в дествующих частях, так что абрамович с ОФС в БК будет в первый раз как раз в СВО дефилировать, если конечно скаклам дадут ОФС для абрамсов.
Аноним ID: Триумфальный Хельмут Хейе  18/01/24 Чтв 21:20:25 #120 №8249877 
>>8248600
>кумулятивно-осколочный HEAT который хуевый кумулятив и никакой ОФС

Тыскозал?

>Начали печатать в 21

3 года уже как в производстве.

>абрамович
>скаклам

На парашу съеби, охранка.
Аноним ID: Композитный Гротте  18/01/24 Чтв 22:53:44 #121 №8250108 
>>8249877
>Тыскозал?
У тебя энергия ВВ уходит либо в воронку как у КС, либо вовне с разрывом толстой оболочки на осколки как у ОФС. А тут ни то ни сё
Аноним ID: Снайперский Кальтенбруннер  18/01/24 Чтв 23:22:39 #122 №8250229 
>>8250108
>У тебя энергия ВВ уходит либо в воронку как у КС

Нет, у меня продукты сгорания равномерно давят во все стороны, формирование струи и песта вперёд не мешает формированию осколочного поля в другие стороны. Конечно, М830 слабее, чем "нормальный" фугас, потому что я не вижу ГПО, фрагментированного корпуса, потому что там меньше ВВ, но всё равно достаточно мощный и сопоставим с 100мм ОФС.
Аноним ID: Двухтактовый Эли Андре Брока  18/01/24 Чтв 23:55:12 #123 №8250333 
Хуевач обосцачь ((( лоб не держит 105 дм23 с
3.6 км где-товообще ! Это пизда....
Аноним ID: Орбитальный Валерий Венедиктов  18/01/24 Чтв 23:58:21 #124 №8250339 
>>8250333
где видос то блять пидорс ты ебаный.
Аноним ID: Двухтактовый Эли Андре Брока  18/01/24 Чтв 23:58:55 #125 №8250340 
Screenshot20240118225224.jpg
Сука это пизда дм23 105 рвет нахуй как тряпку с такой огромной дистанции и так точно это пизда.... Да ещё и прямо в лоб! Это получается что это война затянется навсегда.... Фактически это вечная война так как прорывать нечему и некуда все сдохнут. Все эти ура пиздуны могут теперь только сосать оконный писюн, занюхивая чужие дроны.
Аноним ID: Двухтактовый Эли Андре Брока  19/01/24 Птн 00:03:44 #126 №8250348 
Screenshot20240118230039.jpg
Окопная падаль будешь теперь только с двух сторон сдыхать от Дронов никакого продвижения больше никогда не будет.... Все кто пойдёт в зону спецобосрации правильно говорит диванный Легион нам всем пизда сгниёте как гной, в окопах.... Теперь только опиумная метаамфетаминовая шваль захочет ехать вперёд куда-то с Любой стороны. Это тотальный пиздос всё.
Аноним ID: Орбитальный Валерий Венедиктов  19/01/24 Птн 00:17:18 #127 №8250374 
>>8250348
>>8250340
где видос то блять пидорас ты ебаный.
Аноним ID: Композитный Гротте  19/01/24 Птн 00:55:50 #128 №8250474 
>>8250229
Блять, "сопоставим с фугасом меньшего калибра" это и есть слабее фугаса того же калибра. Типа можно и ПГ-7 пехоту контузить, но ОГ-7 для этого куда лучше
Аноним ID: Диванный Шпеер  19/01/24 Птн 01:03:32 #129 №8250493 
>>8250348
Да не трясись ты так. Инфарк схватишь.
Аноним ID: Учебный Карл Вальтер  19/01/24 Птн 07:33:06 #130 №8250745 
>>8250474
>слабее фугаса того же калибра

Так с этим никто и не спорит.
Аноним ID: Авианосный Чечелашвили  19/01/24 Птн 08:59:52 #131 №8250901 
>>8250348
>правильно говорит диванный Легион
Легион, иди нахуй. Ты тупой ребенок.
Аноним ID: Пулеметный Мойша  19/01/24 Птн 21:05:26 #132 №8253280 
152mmGun,MainBattleTank(side).png
scale1200.jpg
Видел пост у Тарасенко (блять, пролистал его другие посты, в какое же он ничтожество хрюкающие превратился, уже про сви любимые 64-ки забыл, надрачивает на лео и абрамсы) про МБТ-70 в телеге. Вот текст оттуда
"В ходе испытаний в забашенной нише размещались выстрелы ХМ411Е4 и ХМ409Е5 размещенные в алюминиевых лотках, на рабочих местах экипажа размещались манекены оснащенные акселерометрами и микрофонами, в забашенной нише устанавливались датчики давления.
Результаты обстрела показали, что время выгорания 24 метательных зарядов выстрела ХМ411Е4 составляет приблизительно 2 секунды, внутри отсека создается давление в пределах 112…320 кг/см2, а в случае детонации в ее зоне ~730. Несмотря на установку дополнительных вышибных панелей в верхней и нежней части модифицированной забашенной ниши происходил разрыв сварных швов конструкции, деформация и смещение ее элементов. В ряде случаев последствия взрыва и деформация днища отсека была достаточной для серьезного повреждения надмоторной плиты и двигателя, что приводило бы к потере подвижности танка.
Но экипаж выживал."
И я вот не понимаю как он выживал. У МБТ вообще же снаряды 155мм, там даже в кумуле должно быть взрывчатки много. И как там эту шторочку не распыляло на атом и экипаж вместе с ней?
Аноним ID: Фортификационный Валериан Фролов  19/01/24 Птн 21:31:00 #133 №8253343 
>>8253280
Делаешь шторку сильнее самой ниши и взрыв в основном идет наружу по пути наименьшего сопротивления. Один нюанс - такая ниша протыкается вялым хуем
Аноним ID: Миноносный фон Пфульштайн  19/01/24 Птн 21:41:43 #134 №8253358 
>>8253280
>Но экипаж выживал.
>И я вот не понимаю как он выживал.
Как-как, формально он выживал. Видел фотки обгоревших американских самоваров без рук без ног со сплошным рубцом вместо лица? Потому что выжить и выжить с сохранением дееспособности - две большие разницы. И если манекену всего лишь не оторвало голову, а у приёмной комиссии сроки горят - напишут в отчёте "кек пук формально выжить можно". Что ж, наверное и правда можно. Вопрос с какими издержками.
Аноним ID: Пулеметный Мойша  19/01/24 Птн 21:59:55 #135 №8253407 
>>8253343
Ну если судить по тундре, то там 20мм перегородка и такая же толщина идет по кругу. А в абрамсе 38 мм перегородка и тоже по кругу идет 38 мм толщина.
Аноним ID: Фортификационный Валериан Фролов  19/01/24 Птн 22:16:44 #136 №8253439 
>>8253407
В Абрамс ОФС не положили. Потом был эпизод когда американцы демонстрировали действие вышибных панелей англичанам, но только с БОПСами в укладке. На просьбу положить что-то еще отказали, англичане системой не заинтересовались
Аноним ID: Гусарский Сидней Кэмм  19/01/24 Птн 23:14:13 #137 №8253619 
>>8253280
>там даже в кумуле должно быть взрывчатки много
Где-то читал, что пиздец происходит когда КС и ОФС в одной укладке, по отдельности они не дают эффект распидорасинга по швам, а вот вместе это бадабум нахуй, вплоть до летающей влд.
Аноним ID: Орбитальный Валерий Венедиктов  20/01/24 Суб 02:16:47 #138 №8254081 
>>8253343
>>8253358
>>8253439
эта лживая хуте всё переврать пытется.

>>8253619
нет это проходит потому что от детонации одного боеприпасы из-за давления детонируют и другие.
sageАноним ID: Heaven 20/01/24 Суб 02:54:27 #139 №8254136 
>>8254081
Неебу что ты там хрюкнул, мелкобуквы улетают в автохайд.
Аноним ID: Дивизионный фон Манштейн  20/01/24 Суб 05:52:02 #140 №8254269 
>>8253280
>И я вот не понимаю как он выживал
В манямирке, естественно.
Аноним ID: Пулеметный Мойша  20/01/24 Суб 07:59:56 #141 №8254358 
>>8254269
Сколько бы муриканцы не пилили, но всё же испытания-то они проводили, именно что со взрывом боеукладки. но фото нет, двигатель выведен из строя, а экипаж сидит себе здоровенький за стальной фанеркой Сука, когда уже абрамсу захуярят на камеру боекладку со взрывом (а не с пожаром, не надо накидывать те видео из Ирака, пожалуйста), чтобы посмотреть, как оно там бабахает по факту.
Аноним ID: Дивизионный фон Манштейн  20/01/24 Суб 08:53:41 #142 №8254416 
абрамс 1.webm
абрамс 2.webm
абрамс 3 фагот.webm
абрамс4.webm
>>8254358
>но всё же испытания-то они проводили, именно что со взрывом боеукладки
Проводили, когда фугасов не было и не планировалось. Выяснили, что шторка держит, а панелька вылетает, когда произошло возгорание\детон не более трех кумулей в забашеной нише. Если больше, то шторка вылетает нигеру в ебало и начинается пожар внутри БО, после которого ты или каким то чудом выбегаешь сразу, или сразу запекаешся до хрустящей корочки. Иного не дано. Детон, хотя бы одного фугаса, там сразу всех убьет в одно мгновение (может водиле повезет и фсе). Не знаю, высоко ли полетит башня, все таки она тяжелее тешек, но никакой устойчивости обоссаной шторки и панелек к такому взрыву там нет и быть не может.
Аноним ID: Строгий Лев Доватор  20/01/24 Суб 11:13:15 #143 №8254679 
>>8113514
Есть разница между комфортной коробкой и коробкой, в которой экипаж выживет
Аноним ID: Дивизионный фон Манштейн  20/01/24 Суб 11:24:10 #144 №8254698 
>>8254679
>в которой экипаж выживет
Все просто. Танк должен выполнять задачи, а не служить подвижным дотом для выживания для экипажа.
Аноним ID: Орбитальный Валерий Венедиктов  20/01/24 Суб 11:35:39 #145 №8254727 DELETED
>>8254698
>>8254416
этот биомусор всё врёт.
Аноним ID: Вертолетный Шапошников  20/01/24 Суб 13:58:04 #146 №8255181 
>>8134100
>Если где и есть замах на йобу, так это у КФ51 Пантеры, там хотя бы домик для дрона придумали в башне

>Т-14 способен запускать и собственный, бортовой беспилотный аппарат разведки и целеуказания «Птеродактиль», с обзорной РЛС и инфракрасным прицелом.
Аноним ID: Дивизионный фон Манштейн  20/01/24 Суб 14:43:29 #147 №8255308 DELETED
>>8254727
Шплинтлопедрило, завали свой обоссаный пиздак.
Аноним ID: Дерзкий Черток  20/01/24 Суб 18:35:05 #148 №8255926 
>>8255181
>Т-14 способен запускать и собственный, бортовой беспилотный аппарат разведки и целеуказания «Птеродактиль», с обзорной РЛС и инфракрасным прицелом.

Норм. Это сам УВЗ текст сочинял, или копирайтеров нанимал?
Аноним ID: Дерзкий Черток  20/01/24 Суб 18:37:20 #149 №8255934 
>>8255181
"Боевое крыло" - инновационный военный дрон, специально разработанный для интеграции с танком Армата, представляющий собой передовую модель беспилотного летательного аппарата. Обладая рядом уникальных характеристик, "Боевое крыло" значительно расширяет возможности танка Армата, делая его еще более эффективным и опасным на боевом поле.

Одной из ключевых особенностей "Боевого крыла" является его высокая скорость и маневренность. Он оборудован передовыми аэродинамическими решениями, позволяющими ему развивать высокие скорости как по горизонтали, так и в вертикальном направлении. Благодаря этому, "Боевое крыло" способно быстро достигать заданных точек и выполнять различные боевые задачи, включая разведку, нанесение авиаударов и поддержку наземных операций.

Еще одной важной особенностью "Боевого крыла" является его интеграция с бортовыми системами танка Армата. Дрон обладает специальными сенсорными устройствами, передающими разнообразную информацию о боевой обстановке. Эта информация автоматически обрабатывается и передается экипажу танка, обеспечивая ему более полное представление о поле боя и принятие обоснованных тактических решений.

Комплексная электронно-оптическая система наблюдения и наведения "Боевого крыла" позволяет осуществлять точное определение целей и наведение оружия. Это позволяет не только увеличить эффективность огневого воздействия, но и минимизировать риск поражения собственных сил.

Прочность и надежность "Боевого крыла" достигаются за счет использования передовых материалов и технологий. Дрон обладает защищенным корпусом, способным выдержать воздействие снарядов и обеспечить сохранность электроники даже в экстремальных условиях боевых действий.

Таким образом, "Боевое крыло" - это мощный союзник танка Армата, значительно расширяющий его возможности в бою. Высокая скорость и маневренность, интеграция с бортовыми системами, эффективное наведение оружия и надежность делают этот военный дрон незаменимым активом на современном поле боя.

Аноним ID: Тяжеловооруженный Масхадов  20/01/24 Суб 21:21:05 #150 №8256486 
image.png
Мой тейк мобилизационного танка: двухзвенный танк, заточенный на действия в дроноопасной среде:

Танк - двухзвенный, оба звена унифицированы по движкам и трансмиссими. Броня - равномерная ~50мм сверху, спереди и по бокам. плиты ДЗ, решетка с плитами ДЗ сверху (высота танка не имеет значения).

В первом звене сидит экипаж, дорогие приборы управления, всё спереди, спереди нет ничего, что могло бы взорваться.

Во втором звене сидит наводчик Петрович, либо вообще второе звено необитаемое. На второе звено установлена башня любого советского танка.

Идеи:

1. Если подобьют гусеницу на одном звене, то танк не потерян: второе звено немедленно вытягивает весь танк в тыл.
2. В первом звене взрываться нечему, поэтому оно живучее; при потере второго звена, оно отстыковывается, и первое звено эвакуируется в тыл.
Аноним ID: Пулеметный Мойша  21/01/24 Вск 09:11:10 #151 №8257871 
>>8256486
У шведов был вроде такой проект, но не взлетело. Решили себе леопардов накупить.
Аноним ID: Инфракрасный Виктор Калашников  21/01/24 Вск 12:30:18 #152 №8258558 
>>8256486
Обитаемой и необитаемое звено надо поменять местами. Даже в дроноопасной среде все громе дронов будет по танку лететь в основном спереди, где у тебя сидит экипаж. Плюс при заднем расположении орудия у тебя капитально идут по пизде углы вертикальной наводки. Плюс модулю с экипажем проще будет съебать после отстегивания, если он будет сзади.
Ну и 50 мм это не о чем, ФПВ с древней морковкой их точно так же не заметит.
Аноним ID: Лазерный Кэндзи Окабэ  21/01/24 Вск 13:05:33 #153 №8258731 
image.png
image.png
image.png
сочленённая ракета.png
>>8256486

Танк получится хороший, да, дорогой, можно денег можно освоить на производстве двух звеньев. Особенно на производстве трансмиссий можно хорошо освоить денег. Ещё он тяжёлый будет, железнодоорожники будут рады увеличению объёмов заказов.

А вот противник будет против: танков станет меньше и выплат за фраги меньше.

>>8258558

Экипаж сзади это круто, только дороги не видно.
Аноним ID: Ретивый Хорикоси  22/01/24 Пнд 05:56:24 #154 №8261727 
>>8256486
>Мой тейк мобилизационного танка:
перестать использовать танки и бмп. если так нужно машина с пушкой сделай вафентрагер и напичкай его электроникой и казаом.
Аноним ID: Резервный Дзюнъити Сасаи  01/02/24 Чтв 00:19:46 #155 №8300223 
бамп
Аноним ID: Удушающий Владимир Злобин  04/02/24 Вск 04:20:09 #156 №8310970 
Подумал, что это самый подходящий тред, чтобы спросить. Есть чувак, кажется, Мураховский, который в прошлом танкист советской армии. У него была копипаста на тему того, на каком танке лучше воевать - он утверждал, что 80-ка это чисто для учений, а воевать бы он предпочел на танках с дизельным двигателем (не помню, что он выбрал, 72 или что-то другое), ибо надёжность. В качестве примера он приводил кулстори, как где-то в Эфиопии под Дыре-Дауа они проехали марш на 55-ках, и пехота была их готова в жопу целовать, так они им радовались.
Антон, если у тебя схоронилась эта копипаста или пикча, кинь сюда, будь добр. С меня, как обычно.
Аноним ID: Транспортный Борман  12/02/24 Пнд 10:43:22 #157 №8334403 
>>8253619
> пиздец происходит когда КС и ОФС в одной укладке, по отдельности они не дают эффект распидорасинга по швам
Шизофрения
Аноним ID: Транспортный Борман  12/02/24 Пнд 10:46:13 #158 №8334408 
>>8254358
> Сука, когда уже абрамсу захуярят на камеру боекладку со взрывом (а не с пожаром
Для взрыва нужны определенные условия. Эти условия не создаются из-за вышибных панелей и шторки.
Аноним ID: Снайперский Честер Нимиц  12/02/24 Пнд 12:24:37 #159 №8334649 
>>8334408
> Эти условия не создаются из-за вышибных панелей и шторки.
CUMулятивная струя, раскаленный до красна бопс проходит через КМ или ОФС снаряд, ВВ внутри детонирует. Больше ничего не нужно.
Переходи уже к постулату о волшебной невзрывающейся взрывчатке.
Аноним ID: Транспортный Борман  12/02/24 Пнд 12:46:41 #160 №8334707 
>>8334649
> CUMулятивная струя, раскаленный до красна бопс проходит через КМ или ОФС снаряд, ВВ внутри детонирует
Чет не детонирует пока. В кумулятивных снарядах тоже ВВ, если ты не знал
Аноним ID: Многофункциональный Фердинанд Порше  12/02/24 Пнд 14:58:49 #161 №8335054 
>>8113702

А ГТД-1250 для модернизации БВ с ГТД-1000 до БВМ с ГТД-1250 оно откуда берёт?
Аноним ID: Ретивый Цвитан Галич  12/02/24 Пнд 16:08:01 #162 №8335253 
башня.JPG
>>8334707
>Чет не детонирует пока.
инб4 аряяяя на сву взорвали!!!
Аноним ID: Беспереплетный Дьёдонне Сэв  12/02/24 Пнд 20:02:16 #163 №8335840 
>>8335253
> на сву взорвали!!!
Это по моему очевидно
Аноним ID: Ретивый Цвитан Галич  12/02/24 Пнд 21:19:45 #164 №8335977 
64 и 34.png
>>8335840
Если фугасов не было, согласен, очевидно. Как думаешь, что будет с абрашкой, если за шторку погрузить фугасы и неудачноих детонировать (ведь ни ДЗ ни брони в задней части башни нихуя нет и его туда проткнет что угодно)?
Аноним ID: Снайперский Честер Нимиц  13/02/24 Втр 10:32:34 #165 №8337533 
>>8335977
Вангую так: Если фугасиков в нише будет меньше 10 то башня сзади лопнет по швам и съедет с погона, если больше 15-ти то абраша имеет неплохой такой шанс или метнуть или башню распидорасит полностью, полностью.
Аноним ID: Снайперский Честер Нимиц  13/02/24 Втр 10:35:40 #166 №8337539 
>>8254416
>(может водиле повезет и фсе)
Механик-вредитель в обрамсе дотационный же, если башня повернута вперде он из под маски орудия может и не вылезти, и будет запекаться в бронегоршочкегоршочку в собственном соку, су-вид так сказать.
Аноним ID: Транспортный Борман  25/02/24 Вск 06:50:07 #167 №8390522 
>>8113516
> Катанно-сварные
> Ты совсем одибилела свынко? Или ты по заветам дилда-высирана живешь? Может еще клепки тебе покажутся панацеей от всего?
Ты ж припизднутый дегенерат.
Катано-сварные это башни современных танков, литьё - устаревшее говно.
У Т-55 литьё, у Т-90АМ - катано-сварная, говноед ты тупорылый.
Аноним ID: Транспортный Борман  25/02/24 Вск 06:55:51 #168 №8390526 
>>8112526 (OP)
> у нас нет больше технологии ЛИТЫХ башен
А ещё у нас нет больше технологии паровозов и технологии лодок-долблёнок
Аноним ID: Тяжеловооруженный Закаев  25/02/24 Вск 14:12:54 #169 №8391832 
>>8112526 (OP)
>у нас нет больше технологии ЛИТЫХ башен
Литье в землю было, есть и будет.
Аноним ID: Жандармский Кисунько  28/02/24 Срд 07:40:31 #170 №8404890 
>>8391832

башни вроде в кокиль лили
Аноним ID: Транспортный Борман  28/02/24 Срд 19:49:32 #171 №8407818 
>>8404890
Вряд-ли
Аноним ID: Многофункциональный Сидней Кэмм  02/06/24 Вск 11:43:48 #172 №8836809 DELETED
https://youtube.com/shorts/R9rO2FXUy_o
Аноним ID: Ротный Гэри Пауэрс  24/07/24 Срд 14:05:43 #173 №9002201 
>>8390526
А вот паромобили неплохая штука. Любое жидкое топливо едят.
https://www.youtube.com/watch?v=rUg_ukBwsyo
Аноним ID: Пулеметный Мойша  24/07/24 Срд 20:13:00 #174 №9003279 
scTdeTI9XgaW-x3kn0qbGGDfu8qGeXiColD8URghXJwmRVtRR8VWjpUzxdyfNUety7pamkEB5lDmwgoTmvG7n5BWYXoYE657VmTyJU630.jpg
А что думаете по поводу объекта 785 и его АЗ? Даже Андрюшка признает, что снаряды в нем можно бы было оградить от пожара (ну а от взрыва хуй знает что спасет вообще). Получается и снаряды защищены, и экипаж от пожара не пострадает, так плюс у него ещё и скорострельность выше в разы, даже выстрелы унитарные (эх, ещё бы с гильзой металлической) Одни профиты же.
Аноним ID: Учебный Миль  25/07/24 Чтв 02:09:06 #175 №9003966 
>>8112526 (OP)
Это всё хуйня. Нужно просто заменить экипаж на беспилотную систему на спутниковой связи. Тогда все проблемы с выживаемостью отпадут сами собой.

>а если связь пропадёт?
У старлинка не пропадает
>а если танк застрянет?
Тогда придётся ждать ночи и подтаскивать брэм. Экипаж бы тут ничем не помог, скорее навредил бы оставив люки открытыми чтобы хохлы могли спокойно добить танк сбросом.
>а если что-то случится и танк проебётся?
Они и так проёбываются десятками в день, только с экипажем.
>дорого!
Выплаты погибшему экипажу минимум 9 лямов. Система удалённого управления танком не может быть дороже.

Единственный минус, это то что тарелка очень уязвима, но я думаю это решаемо.
Аноним ID: Орбитальный Пчелинцев  25/07/24 Чтв 03:21:22 #176 №9003978 
>>8390522
У Т-72 была литая башня, на Т-80 было литьё. Литьё не устарело и не может устареть потому что позволяет получать самые сложные формы монолитной башни.
Аноним ID: Ротный Гэри Пауэрс  25/07/24 Чтв 12:23:39 #177 №9004968 
Haider.mp4
Streetfighter of RTR.mp4
>>9003978
Устарело. Теперь сварные башни в моде. Никто башни не льёт.
Аноним ID: Пулеметный Мойша  25/07/24 Чтв 19:42:52 #178 №9006245 
>>9003279
Ну в смысле оградить экипаж от пожара бк. Но вы походу знаете не больше моего по этой йобе.
Аноним ID: Миноносный фон Пфульштайн  26/07/24 Птн 06:03:44 #179 №9007177 
>>9003978
>У Т-72 была литая башня, на Т-80 было литьё. Литьё не устарело и не может устареть потому что позволяет получать самые сложные формы монолитной башни.
Выгода с этих сложных форм была в эпоху гомогенной брони. Но литьём невозможно получить комбиняшку. Кроме того, литьё - довольно хуёвый способ обработки металла по сравнению со штамповкой и тем более ковкой. Металл получается рыхлым.

А плоскую пластину можно во-первых упрочнить молотом и цементацией до какого угодно состояния, во-вторых сделать весёлый бутерброд из сталюги/резины/полимеров/керамики, который будет эквивалентен гомогенке в 3-4 раза большей толщины при в 1.5-2 раза меньшем весе. Выгода столь велика, что башня из таких полигончиков неоптимальной формы всё равно лучше, чем оптимизированная литая.

>>9003279>>9006245
Просто воткнули унитары по-диагонали, получив в одном месте проблемы с компоновкой, в другом месте наоборот пустоты, куда можно впихнуть дополнительную перегородку. Сильно защищённее это снаряды не делает. А если БК загорелся, и в нём есть ОФСы - танку в любом случае пиздец, и единственный способ это законтрить - сделать сечение боекомплекта как можно меньше и запихать его как можно глубже.
Аноним ID: Миноносный фон Пфульштайн  26/07/24 Птн 06:11:29 #180 №9007182 
>>9003966
>У старлинка не пропадает
Старлинк заглушить нехуй делать. Спутник и так работает в довольно напряжённом режиме, обслуживая кучу абонентов, и оперативно скакать от РЭБ по частотам как сайгак он не умеет. А ещё у него пинг большой. Меньше чем до ГСО, конечно, но всё равно для съёбывания по частотам это критично.
Аноним ID: Композитный Гротте  26/07/24 Птн 18:01:52 #181 №9008781 
scale720.jpeg
>>9007177
>Но литьём невозможно получить комбиняшку
Лолшто. Первой башней с комбинашкой и была литая у Т-64. Элементарно отливаешь полости и ставишь какой угодно бутерброд. Монолитная башня была только у самого первого Т-72 Урал
Аноним ID: Орбитальный Пчелинцев  27/07/24 Суб 01:37:44 #182 №9009465 
>>9007177
1)Штамповкой невозможно сделать танковую башню большой толщины. Уже от штампованных Т-34 охуевали, а там броня как на БТР была.
2)Литьё тоже упрочняется. Просто не совсем так, как прокат. Давление, химико-термическое упрочнение, как тот же диффузионный отжиг с выдержкой при 1200 С которым упрочняли литую броню для тех же Т-34.Причем, нехуево так. "... Наилучшей бронестойкостью против основного бронебойного снаряда калибра 45 мм обладает литая гомогенная броня высокой твердости, изготовленная из стали марки МЗ-2, приближающаяся по стойкости к катаной броне этой марки."
3) Кумулятивной струе строго похую на механическое упрочнение при прокате, ей важна плотность, а она одинакова. А при пробитии бронебойными, из-за вязкости, в ебальник экипажа летит меньше осколков.
4)Про полости для бутеров из Чобхэма уже сказали.

Из литья прямо вот всё можно изготовить. Всю башню с креплениями под пулемет, орудие и всё на свете разом. А уж в эпоху 3Д принтеров объявлять литьё устаревшей технологией и вовсе верх маразма. Литьё охуенно Да, митрил!
Аноним ID: Беспереплетный Марк Кларк  27/07/24 Суб 10:15:37 #183 №9010025 
>>9007177
>Но литьём невозможно получить комбиняшку
Вы ошибаетесь, Возможно. Если формы имеют ниши для установки блоков.
Аноним ID: Беспереплетный Марк Кларк  27/07/24 Суб 10:17:12 #184 №9010033 
>>9009465
пузыри нуден вибростенд.
Аноним ID: Скорострельный фон Рундштедт  27/07/24 Суб 13:25:52 #185 №9010473 
>>9007177
> литьём невозможно получить комбиняшку
Тэшки с ультрахардкоровыми шарами и пиздчаными стержнями в литых башнях согласно покивали. Но там была другая проблема.
>>9009465
>приближающаяся
This. Это в идеале при отсутствии пузырей/раковин и прочего говна.
На деле те же ультрахардкоровые шары зачастую болтались в броне как хуй в стакане из-за хуевой заливки + того, что сами шары перед закладкой в форму обмазывали слоем говна и палок, который выгорал.
Аноним ID: Скорострельный фон Рундштедт  27/07/24 Суб 13:28:17 #186 №9010478 
image.png
>>9004968
Тебя даже вчерашний шторм не разбудил да, у говеносто внезапно не литая башня
Аноним ID: Пулеметный Мойша  28/07/24 Вск 14:22:01 #187 №9014590 
Срач про карусель не раздувается, так что может у вас есть догадки, почему ещё не разу не бахнула боеукладка за шторкой? Уже вроде бы штук 20 поражений пиромангалов наберется, но пока бк только выгорал, а не взрывался? Почему так? Они может реально туда фугасы и кумули не берут, чтобы перед барином не так стыдно было, но это уже какая-то конспирология начинается, а это вредные мысли.
Аноним ID: Горнострелковый Отто Киттель  28/07/24 Вск 15:48:33 #188 №9014831 
>>9014590
>фугасы
А они производятся?
Аноним ID: Пулеметный Мойша  28/07/24 Вск 16:16:20 #189 №9014882 
>>9014831
Ну мемцы вроде начали делать. Да в кумулятивах всё равно взрывчатки килограмма полтора наберётся, но где эффектные бабахи, чтобы можно было тыкать пальцем в компановку отсталых перетяжяленных бронесараев? По факту-то они должны быть, если там вся боеукладка не состоит из ломов и шрапнели, конечно.
Аноним ID: Десантно-штурмовой Минай Шмырёв  28/07/24 Вск 18:10:27 #190 №9015092 
>>9014590
Там где прилетает в зад башни и б/к выгорает, в случае с советской школой просто ничего не происходит, в связи с отсутствием забашенной ниши
Аноним ID: Пулеметный Мойша  28/07/24 Вск 19:03:57 #191 №9015218 
>>9015092
Ну вот на видео с Т-80 "чернухой" (не сохранил, к сожалению) там примерно в зад башни влетел фпв, бк именно мгновенно взорвался. Да, это просто он удачно попал именно в сам снаряд, а не в порохой заряд, но всё же почему нет такого же с западными танками?
Аноним ID: Орбитальный Пчелинцев  30/07/24 Втр 15:49:37 #192 №9020167 
>>9010473>>9010033
Пузыри и раковины - такой же брак, как ржавчина на сварных швах. Их, в принципе, на должно быть. Единственный и самый большой недостаток литья проистекает прямо из его достоинства - возможность разом, по пизде пустить даже не одну уже весьма дорогостоящую башню, а всю партию разом из-за неправильной формы. Как оно и было с одной партией башен для Т-72.
С шарами было, по-моему, не из-за обмазки, а из-за того, что они там ездили как хотели с расплаве и проблем осаждения. Ультрахардкор старой морозовской школы - вещь хрупкая, хоть и дико прочная, а металл, осаждаясь, сжимает его как гидравлический пресс. Ну и получается уже сами понимаете что(..."не отработана технология получения башен с необходимой стойкостью и живучестью, отсутствие необходимого запаса стойкости и живучести башен с керамическими элементами, подвергающимися разупрочнению при заливке расплавленной жидкой сталью, даже при наличии термоизолирующих слоёв обмазки...")... Да и в принципе, все эти проволочные клетки да стержни, да заливки-вещь в себе. Такую башню не отремонтируешь. А из готовых полостей можно достать повреждённый бутерброд с повреждёнными отражающими листами да дырку в лбу заварить.
А все достоинства стального проката нивелируются окончательно не только упрочнением, но и наваренным экраном высокой твердости.
Аноним ID: Строевой Кэндзи Окабэ  30/07/24 Втр 16:36:52 #193 №9020269 
>>9014590
У них фугасы вроде пикриновая кислота не тротил состав успевает вытечь. Кумулей они мало возят.
Аноним ID: Строевой Кэндзи Окабэ  30/07/24 Втр 16:41:16 #194 №9020274 
>>9020167
А как чугун варить без интерметалидов не знаешь?
Аноним ID: Пулеметный Мойша  30/07/24 Втр 19:55:43 #195 №9020955 
>>9020269
Швятое...
Аноним ID: Слезоточивый Гудериан  30/07/24 Втр 20:32:25 #196 №9021119 
>>9020269
Гексатол. После вытекания разогретой пикриновой кислоты от её паров у экипажа вытекут почки.
Аноним ID: Орбитальный Пчелинцев  30/07/24 Втр 20:47:56 #197 №9021177 
>>9020274
Это сейчас к чему? Горячая сварка, специальный электрод.
Аноним ID: Строевой Кэндзи Окабэ  30/07/24 Втр 22:58:25 #198 №9021564 
>>9021119
а ты мед статистику танкистов посмотри. Те кто был в подбитых через одного на диализе. Так что таки да >>9020955 Швятые не просто так жалуются на слабое могущество своих фугасов.
Аноним ID: Строевой Кэндзи Окабэ  30/07/24 Втр 23:00:19 #199 №9021566 
>>9021177
сварной чугунный бутерброд... Ценой как авиакрыло. Что-то не туда меня понесло.
Аноним ID: Снайперский Честер Нимиц  31/07/24 Срд 11:17:24 #200 №9022496 
>>9021564
>на слабое могущество своих фугасов.
Таки фугас у абраши в БК то появился только в 21-м, т.к. в 19-м пиндосы закончили испытания своего нового программируемого фугаса с дист подрывом, а в 20 - м был принят и пошли испытания в строевых частях, как наш тельник только стоит оче дорого и выглядит йобисто. Учитывая скорость поклейки снарядов у барена, вполне возможно у скакло их тупо нет.
>кумули
кумулятивно осколочный имееет слишком тонкий корпус и кум воронку вв в нем 1,2 кг, а шторка держит усилие равное по мощности детонации 2,9 кг гексатола. По ТЮ снаряды укладываются в таком порядке: лом/кума/лом/шрапнель/лом/кума/лом итп. Вот и думой.
Аноним ID: Беспереплетный Хорикоси  01/08/24 Чтв 02:29:58 #201 №9024834 
>>9014590
Т.к. в Сирии бахала только в путь, то остается только заключить что хохлам не выдали фугасы чтобы барена не позорили.
Аноним ID: Двухмоторный Геннадий Осипович  01/08/24 Чтв 14:04:57 #202 №9026375 
>>9022496
Тут пробегал хохляцкий рапорт с б/к Абрамса. Половина вперемешку американские и немецкие ломы, половина кумули, пара картечных, фугасов не завезли
Аноним ID: Кавалерийский Минэити Кога  01/08/24 Чтв 22:46:46 #203 №9027891 
>>8256486
>В первом звене взрываться нечему
Кроме противотанковых мин по пути блять. Давайте подрываться будет обитаемое звено вместо необитаемого, да? Или в войне нового типа у нас по умолчанию все танки с противоминными тралами, как и с мангалами, и это даже не обговаривается?
Аноним ID: Кавалерийский Александр Захарченко  30/09/24 Пнд 00:27:23 #204 №9261447 
>>8244054
>с заменой МЗ на АЗ от 80-ки
Чего блять?
Аноним ID: Кавалерийский Александр Захарченко  30/09/24 Пнд 00:29:44 #205 №9261453 
>>8113514
>Хочешь выживаемость, не вози фугасы
Хочешь выживаемость - не вози сгорающие гильзы из пропитанного жидким тротилом картона
Аноним ID: Кавалерийский Александр Захарченко  30/09/24 Пнд 00:32:17 #206 №9261464 
>>9003978
>У Т-72 была литая башня
А на Т-90 сварная
>на Т-80 было литьё
Так ему 46 лет!
Аноним ID: Кавалерийский Александр Захарченко  30/09/24 Пнд 00:34:48 #207 №9261477 
>>8254698
>Танк должен выполнять задачи
Танк, метнувший башню, не сможет выполнить задачу. Если только его задачей не было метнуть башню
Аноним ID: Кавалерийский Александр Захарченко  30/09/24 Пнд 00:36:24 #208 №9261479 
>>8113737
>На залупных форумах
Прямиком из зала УПА?
Аноним ID: Орбитальный Пчелинцев  03/10/24 Чтв 19:16:07 #209 №9276898 
>>8113737
>Это... это клиника пиздец.
А в чём клиника? Берут дизельный утюг американского производства и обвешивают ДЗ. Американцы и сами туда хотели воткнуть 105-мм,а куда 105-мм ,туда и 120мм влезает. Тем более, что там в башне жить можно спокойно - только трубу от печки через комбашню вывести и сортир на улице выкопать. Чем это так страшно -на фоне модификаций Т-55 и Т-62? С одной грядки овощи. У турок много "Паттонов", а у хохлов - желания подзаработать и обвешать их в два слоя ДЗ "НИЖ" и взорвать их, нахуй. Во славу СССР,конечно. Всё логично.
Аноним ID: Учебный Деникин  03/10/24 Чтв 22:45:59 #210 №9277325 
>>8112526 (OP)
как это всё спасёт от ежичасной ёбки этих гробов на гусеницах фпв дронами? может рэбы делать массово научиться?
Аноним ID: Рейдовый Петр Краснов  05/10/24 Суб 03:52:24 #211 №9280611 
16921847810481.png
>>9277325
Всеракурсный КАЗ + РЭБ.
Аноним ID: Крупнокалиберный Роман Шухевич  05/10/24 Суб 10:15:38 #212 №9280979 DELETED
>>9280611
Проблема заводского рэб в том, что он завязан на долгом процессе военной приемки. На выходе получаем продукт, который уже не актуален, потому что противник скачет по частотам, а коробочка глушит только один диапазон, который с товарищем лампасом согласовывали два года назад, и не дай бог ты его сменишь.
Аноним ID: Амфибийный Михаил Водопьянов  05/10/24 Суб 10:35:59 #213 №9281036 
>>9280979
Так согласуйте с лампасом мультичастотный РЭБ, который можно переключать в широком диапазоне.
Аноним ID: Рейдовый Петр Краснов  05/10/24 Суб 10:54:34 #214 №9281080 
>>9280979
Так должны быть настройки как в радио. Чтоб сам экипаж или, на крайняк, рэбовцы из роты РЭБ бригады/дивизии могли поменять.
Аноним ID: Крупнокалиберный Роман Шухевич  06/10/24 Вск 01:03:22 #215 №9283996 DELETED
>>9281036
Они и есть мультичастотные, но все рабочие частоты ты один хрен не заглушишь, чем противник и пользуется. Выручают гражданские производители, которые реагируют оперативнее, но это уже костыли на полевом уровне.
Аноним ID: Морально устаревший Алоис Томишка  06/10/24 Вск 14:42:35 #216 №9285374 
>>9281080
Чо поменять? Откуда они должны знать когда менять и на какой диапазон? Надо автоматом чтобы менялось, а лучше на десяти диапазонах одновременно срало в эфир.
Аноним ID: Разбитый Хоанг Ван Тхай  14/12/24 Суб 00:00:09 #217 №9497540 
>>8114655
Не, клёпка осталась в авиастроении. Клёпка спасена!
Аноним ID: Разбитый Хоанг Ван Тхай  14/12/24 Суб 00:02:40 #218 №9497549 
>>8133606
>под новый корпус надо конвейер переделывать.
Естественно. И что?
Аноним ID: Разбитый Хоанг Ван Тхай  14/12/24 Суб 00:07:22 #219 №9497571 
Надо надуть В-92 до 1500 л.с. и сунуть на время в моноблок арматы пока А-85 доводят до кондиции. Или ГТД, что ещё проще.
Аноним ID: Автострадный Валерио Боргезе  14/12/24 Суб 00:37:28 #220 №9497631 
>>9497571
если в-92 надуть до 1500 лс, то он лопнет нахуй
Аноним ID: Разбитый Хоанг Ван Тхай  14/12/24 Суб 00:42:19 #221 №9497640 
>>9497631
Не лопнет. Усилить шатуны, гильзы и поршни.
Аноним ID: Четырехмоторный Алелюхин  14/12/24 Суб 00:48:34 #222 №9497655 
>>8113514
>>потому что любое поражение танка советской школы в корпус = гарантированное уничтожение машины с экипажем
>Пиздабол раз.>>8112840. Дело не в "АЗ корпусе", а в наличии в танке фугасов, пиздабол два.
Скажи что лучше зажарится изза растрескавшегося балистического состава плотной пленкой спекшевося так что тряпкой не отмыть или зарядить пяток фугасов и сдохнуть секунды за три две пока горячая струя из гильзы запекает заряд? Забыли сраный ШЕРИДАН? Вьетнам мать его.
Карусель и его израильский раздельно гильзовый брат или упаси аллах картузный пиздец с второй дидовой это гарантия быстрой зажарки в реактивной струе пороховых газов.
Аноним ID: Разбитый Хоанг Ван Тхай  14/12/24 Суб 00:54:44 #223 №9497663 
>>9497655
>израильский раздельно гильзовый брат
У Меркавы унитары.
Аноним ID: Четырехмоторный Алелюхин  14/12/24 Суб 01:01:38 #224 №9497674 
>>9497663
На первых меркавах были раздельно гильзовые.
Аноним ID: Четырехмоторный Алелюхин  14/12/24 Суб 01:05:29 #225 №9497679 
>>8112526 (OP)
это мертвому припарки. Нужен обьект 490б. Традиционная платформа себя полностью и бесповоротно исчерпала.
Аноним ID: Разбитый Хоанг Ван Тхай  14/12/24 Суб 02:00:33 #226 №9497738 
>>9497674
Не было.
Аноним ID: Сметливый Генрих Фольмер  14/12/24 Суб 05:53:59 #227 №9497927 
>>8112526 (OP)
Реально нужно отказаться от УВЗ, саботажников, диверсантов и предателей. И там всякие объекты 640 будут массовым изделием, а Т-55 переделают в БТР, даже КАЗ будет для всех.

У всех проблем есть имена и фамилии. А вот техника - дело наживное.
Аноним ID: Разбитый Хоанг Ван Тхай  14/12/24 Суб 07:51:00 #228 №9498038 
>>9497679
> Нужен обьект 490б. Традиционная платформа себя полностью и бесповоротно исчерпала.
Нет сырья и кадров. Жрите что дают: Т-90М и Т-80 с башней Т-90М.
Аноним ID: Гражданский Баркхорн  14/12/24 Суб 08:38:48 #229 №9498141 
>>9497927
>Т-55 переделают в БТР
Это дороже чем сделать новые БТР, потом из-за старости базы ещё расходы будут
Аноним ID: Пулеметный Мойша  14/12/24 Суб 09:42:03 #230 №9498254 
i.webp
>>9261453
Поэтому делаем АЗ как на объекте 785 с унитарным снарядом и металлической гильзой. Всё-я решил проблему с пожаром БК, а от взрыва всё равно ничего не спасёт. Осталось лишь придумать, куда гильзу девать и чтобы АЗ с ней работал нормально.
Аноним ID: Гвардейский Иван Кожедуб  14/12/24 Суб 12:50:29 #231 №9498590 
>>9498038
Все еще лучшее из существующего
Аноним ID: Строевой Лаури Тёрни  14/12/24 Суб 15:50:11 #232 №9498915 
>>9498254
>от взрыва всё равно ничего не спасёт
Современные малочувствительные ВВ.
Аноним ID: Тыловой фон Унгерн-Штернберг  14/12/24 Суб 19:20:47 #233 №9499344 
>>8112526 (OP)
> реально ли отказаться от карусели
В эпоху дронов делать забашенный АЗ тоже такое себе, туда проще всего попасть
Аноним ID: Разбитый Хоанг Ван Тхай  14/12/24 Суб 22:57:32 #234 №9499789 
>>9499344
КАЗ решает все проблемы.
Аноним ID: Окопавшийся Хо Ши Мин  14/12/24 Суб 23:01:35 #235 №9499797 
>>9498038
>Нет сырья и кадров
А на армату есть? На Черного орла есть? Хотябы прототип в металле для апробации можно же выкатить?
Аноним ID: Окопавшийся Хо Ши Мин  14/12/24 Суб 23:04:16 #236 №9499801 
>>9499344
Тогда придется всех из башни в отделение мехвода сувать, а оставшися обьем забронировать. Либо поставить нейросетку вместо наводчика. Всех на мороз оставляем мехвода.
Аноним ID: Окопавшийся Ненонен  14/12/24 Суб 23:04:36 #237 №9499803 
>>9499789
Вообще нихуя не решает. После конфликта на украине ниша мертва. Если после этого на западе начнут (что не факт) разрабатывать новое поколение танков с нуля, то нишу мы не увидим.
Аноним ID: Разбитый Хоанг Ван Тхай  14/12/24 Суб 23:11:47 #238 №9499811 
Abrams X.jpg
16208121977360.png
130 мм и 120 мм унитары.jpg
KF41PANTHER.webp
>>9499803
>Вообще нихуя не решает.
Ну раз тыскозал
>. После конфликта на украине ниша мертва.
КАЗ в верхней проекции решает все проблемы.

>Если после этого на западе начнут (что не факт) разрабатывать новое поколение танков с нуля, то нишу мы не увидим.
Уже разработали. Ниша там есть и КАЗ есть. Всё генитальное — просто. С нынешними ломами без ниши вообще никак.
Аноним ID: Разбитый Хоанг Ван Тхай  14/12/24 Суб 23:18:56 #239 №9499822 
16179755794453.jpg
У Т-14, конечно, тоже ломы длинные, но там раздельное заряжение. Под западные унитары не подойдёт наверно
Аноним ID: Слезоточивый Гудериан  15/12/24 Вск 00:39:42 #240 №9499941 
>>9499811
>КАЗ в верхней проекции решает все проблемы.
Но на меркавы массово лепят коупкейджи как так? Ах да на кумулятивную гранату на вышибную панель ниши сверху каз не сработает ой вей.
Аноним ID: Разбитый Хоанг Ван Тхай  15/12/24 Вск 01:06:24 #241 №9499967 
>>9499941
>
>Но на меркавы массово лепят коупкейджи как так?
Я не знаю какой там КАЗ. Нужен именно всеракурсный.
Аноним ID: Разбитый Хоанг Ван Тхай  15/12/24 Вск 01:45:17 #242 №9500019 
Механизм заряжания об477а.mp4
Rheinmetall 130mm gun.jpg
Хотя у Объекта 477 были длинные ломы. Так что и метровые ломы натовских пиромангалов залезли бы в безлюдную башню. Уговорили, ниша не нужна.
Аноним ID: Реактивный Отто Киттель  15/12/24 Вск 01:56:50 #243 №9500043 
залетный нюфаня итт, а нахуя вообще нужен лом современным танчикам?
Аноним ID: Разбитый Хоанг Ван Тхай  15/12/24 Вск 04:11:51 #244 №9500169 
>>9500043
На всякий пожарный. Пару сунуть в бк. Иногда танки с танками сражаются. От годного метрового лома не спасёт ни КАЗ, ни ДЗ, ни комбинированная броня.
Аноним ID: Реактивный Отто Киттель  15/12/24 Вск 05:10:26 #245 №9500208 
image.png
>>9500169
и нахуя тогда вообще все эти выебоны с волшебными панелями, если основной боеприпас это фугас, который при подрыве бк делает воронку 5м диаметром, вне зависимости от того, где он лежит? автомат заряжания получается в любом случае выигрывает, при подрыве жопы 3 кекипажа потерь, а не 4, места занимает меньше, бк за большим слоем брони, меньше шанса на обсер джоном заряжающим, я ведь все правильно понял?
Аноним ID: Разбитый Хоанг Ван Тхай  15/12/24 Вск 05:29:31 #246 №9500232 
>>9500208
Ну раньше на Западе не возили ОФС. Только БПС, шрапнель, БФС и КС. Только недавно появился ОФС AMP у барена, чуть раньше DM-11 у немецких и с 2011 EXPL у французских подсосов. Это фактически ПТ-САУ были. https://topwar.ru/63113-pravilnyy-snaryad-dlya-pravilnoy-celi.html
Аноним ID: Ротный Михаил Водопьянов  15/12/24 Вск 14:58:20 #247 №9500847 
>>9500043
Доты прошивать. Прошивать контр эскарпы. Прошивать здания и вторичными осколками накрывать всех внутри. Есть еще снаряды пеле это ломы с зажигательным эффектом.
Аноним ID: Наступающий Теодор Кох  25/12/24 Срд 05:34:52 #248 №9526366 
>>8113516
Хуесос тыпорылый, литье это устаревшая технология 19-го века. После этого убожества все перешли на катано-сварные башни
Аноним ID: Наступающий Теодор Кох  25/12/24 Срд 05:38:36 #249 №9526367 
>>9003978
>У Т-72 была литая башня, на Т-80 было литьё
Т-34 еще вспомни, хуита
>Литьё не устарело
Примерно как лапти
>сложные формы монолитной башни
Это вредительство. За это расстреливать надо. Формы должны быть простые и плоские, так победим
Аноним ID: Наступающий Теодор Кох  25/12/24 Срд 05:40:36 #250 №9526369 
>>9009465
>Штамповкой невозможно сделать танковую башню большой толщины
Толщина делается не штамповкой а сваркой. Потому что броня комбинированная. Дальше не читал
Но что-то мне подсказывает что этого пидора уже бусифицировали и возможно кубировали
Аноним ID: Полуактивный Вячеслав Силин  25/12/24 Срд 08:13:11 #251 №9526517 
>>9526367
Литье кончилось в 90-е потому что проебали литейщиков. Это очень сильное колдунство такие размеры отливать без дефектов. Как кончились запасы для Т-90 так и придумали сварную
Аноним ID: Атомный Ванька  25/12/24 Срд 08:32:31 #252 №9526557 
>>9526517

Литая сталь менее прочная, чем сварная. Зато дешевле.
Аноним ID: Радиоактивный Хайрем Бердан  25/12/24 Срд 09:20:48 #253 №9526689 
>>9526557
Компенсируется баллистической формой
Аноним ID: Космический Сахаров  25/12/24 Срд 18:38:48 #254 №9528265 
>>9526689
>баллистической формой

Показывай откуда термин.
Аноним ID: Радиоактивный Бермондт-Авалов  25/12/24 Срд 21:05:17 #255 №9528607 
>>8112536
АЗ должен быть, но очевидно экипаж должен быть отделен бронекапсулой или чем-то таким же. Да и не это главная проблема, а в том что нужно менять концепцию защиты слабых зон при которых танк горит , так же необходима активная защита от саниов и верней полусферы. Если хочешь чтоб экипаж 100% не погиб делай танк робот, там точно не погибнет.
Аноним ID: Наступающий Теодор Кох  25/12/24 Срд 22:01:15 #256 №9528701 
>>9526517
Литье кончилось потому что оно говно без задач. Литая башни Т-34 имели толщину 65-мм при одинаковой стойкости с 45-52-мм сварными
>придумали сварную
Её придумали потому что литьё гораздо менее снарядостойкое и внезапно более затратное чем катано-сварная
>Как кончились запасы для Т-90
Вот это очевидный пиздеж порашной свыни

>>9526689
>Компенсируется баллистической формой
Из-за криволинейных поверхностей литая дополнительно уступает плоской катанной
Аноним ID: Наступающий Теодор Кох  25/12/24 Срд 22:02:37 #257 №9528704 
>>8113514
>Думаю, что ты очередная ебанашка с пятачком
Или с пейсами
Аноним ID: Композитный Генрих Хертель  26/12/24 Чтв 01:17:06 #258 №9529033 
>>9528701
>более затратное
Разумеется залить в форму металл сложнее чем варить конструкцию из множества плит. Дебил блять, это сарказм, на всякий случай. Но этот аргумент был мощный во времена СССР когда надо было по три тыщи башен в год делать. В девяностые и нулевые уже похуй было, когда 100 танков продать удача
>Из-за криволинейных поверхностей литая дополнительно уступает плоской катанной
Тут комментировать только портить
Аноним ID: Четырехмоторный Пегамагабо  26/12/24 Чтв 02:19:38 #259 №9529060 
>>9529033
>В девяностые и нулевые уже похуй было, когда 100 танков продать удача
В 90е как раз лили башни. А полностью сварной Т-90А появился только в 2004 г. Вообще надо бы сделать массовый полностью литой танк, чтобы можно было во время войны делать по 1000+ машин. Прицел дешёвенький типа 1ПН96МТ туда ставить. В-92 двиг. Как идея?
Аноним ID: Наступающий Теодор Кох  26/12/24 Чтв 04:17:01 #260 №9529149 
>>9529033
>залить в форму металл
Ебать ты олень, сука. Отлитая башня требует охуевшей механической обработки после отливки. Гугли, блять
>Тут комментировать только портить
Йододефицитная ты скотина, ты опять не погуглила перед всхрюком
Аноним ID: Строевой Иван Сидоренко  26/12/24 Чтв 08:57:56 #261 №9529324 
>>9529060
Если задача это баланс технологичности и цены, то можно попытаться вернуться к предвоенной французской школе. Т.е. литые детали, соединенные между собой.
Аноним ID: Радиоактивный Хайрем Бердан  26/12/24 Чтв 09:55:05 #262 №9529432 
t-7209.jpg
>>9529149
Да я вижу какая там обработка охуевшая
>>9529060
Об этом надо заранее думать, а когда танки нужны уже сейчас никто не будет единственный конвейер останавливать
Аноним ID: Четырехмоторный Пегамагабо  26/12/24 Чтв 10:54:37 #263 №9529539 
>>9529432
>Об этом надо заранее думать, а когда танки нужны уже сейчас никто не будет единственный конвейер останавливать
Наладить конвейер можно сейчас.
Аноним ID: Кожно-нарывной Ронни Тод  27/12/24 Птн 03:02:45 #264 №9531253 
>>9529432
>я вижу
ЛОЛ. А вирусов не существует, ведь ты их не видишь, так?
Аноним ID: Радиоактивный Хайрем Бердан  27/12/24 Птн 09:35:50 #265 №9531584 
>>9531253
Какие нахой микробы? Я как раз вижу зернистую текстуру обычную для литья без обработки
Аноним ID: Радиоактивный Хайрем Бердан  27/12/24 Птн 09:36:38 #266 №9531586 
>>9531253
Какие нахой микробы? Я как раз вижу зернистую текстуру обычную для литья без обработки
Аноним ID: Логистический Редер  27/12/24 Птн 12:38:58 #267 №9531928 
>>9529060
>А полностью сварной Т-90А появился только в 2004 г.

А разве там новые корпуса, а не старые отпескоструенные?
Аноним ID: Четырехмоторный Пегамагабо  27/12/24 Птн 12:43:39 #268 №9531939 
>>9531928
Смысл делать из двух танков один?
Аноним ID: Рейдовый Нильс Бор  27/12/24 Птн 16:50:20 #269 №9532452 
>>9497640
Будет ценой как кусок золота сравнимого веса.
Аноним ID: Кожно-нарывной Ронни Тод  27/12/24 Птн 19:20:29 #270 №9532739 
>>9531584
>>9531586
> как раз вижу зернистую текстуру обычную для литья без обработки
Дегенерат думает что обработка это полировка - чтобы красива
Аноним ID: Шрапнельный Хоанг Ван Тхай  27/12/24 Птн 21:55:06 #271 №9532984 
>>9532739
>доведу до абсурда типа смешно будет
Аноним ID: Четырехмоторный Пегамагабо  27/12/24 Птн 22:03:59 #272 №9533004 
>>9532452
Не будет.
Аноним ID: Четырехмоторный Пегамагабо  27/12/24 Птн 22:27:22 #273 №9533057 
>>9532739
>Дегенерат думает что обработка это полировка - чтобы красива
Раскрой интригу, что там обрабатывали.
Аноним ID: Рейдовый Нильс Бор  28/12/24 Суб 00:23:23 #274 №9533199 
>>9533004
Сделают в единичном экземпляре будет.
Аноним ID: Рейдовый Нильс Бор  28/12/24 Суб 00:30:19 #275 №9533203 
>>9497631
А не проще Переработать камеру Б2 в работу с инжекторами сверх высокого давления с электронной системой контроля подачи топлива - так можно добиться повышения мощности и стабильности режимов работы двигателя, это улучшит топливную эфективность, или сделакт работу двигателя плавной на низких оборотах? Правда ресурс пойдет по одному месту, ремонтопригодность тоже будет не к черту, но танк на поле боя все равно долго не живет!
Аноним ID: Тактический Рудорффер  28/12/24 Суб 17:21:44 #276 №9534634 
>>8249877
Тут скорее в треде ты дефаешь швитые, а люди ходят разобраться.
Аноним ID: Окопный Черчилль  28/12/24 Суб 22:35:17 #277 №9535209 
image.png
>>9533203
>>9532452

Вы какие-то странные, чесслово.
В-92 буквально мусор, это мотор от которого 40 лет назад собирались отказываться. Это модернизированный немецкий авиационный мотор, куда выпускники массачуссетского воткнули стальные гильзы, уменьшив внутренний диаметр и усилив конструкцию, и поставили немецкие ТНВД, локализованные в СССР. Всё это было в 30-х. Понятно, что его можно как-то было дуть и модернизировать, но всему есть предел.

Уже ЯМЗ выпускает серийные моторы 25, а не 38 литров, с теми же параметрами, что и В-92, только работают они дольше в десятки раз (возможно в сотню).
sageАноним ID: Heaven 29/12/24 Вск 01:59:28 #278 №9535391 
>>9535209
>Это модернизированный немецкий авиационный мотор, куда выпускники массачуссетского воткнули стальные гильзы, уменьшив внутренний диаметр и усилив конструкцию, и поставили немецкие ТНВД, локализованные в СССР.
А если вставить гильзы в гильзы, да ещё и так чтобы с натяжением, чтобы внешняя была постоянно растянута, а внутренняя постоянно обжата? Легирование как минимум у внешних гильз тогда придётся приподнять и охлаждение помощнее сделать, чтобы натяжение от нагрева не терялось, но внутренние гильзы тогда можно изготавливать керамическими за счёт снижения деформаций преднапряжением конструкции. Это потенциал дальнейшего раздувания по идее должно повысить.
Аноним ID: Четырехмоторный Пегамагабо  29/12/24 Вск 04:11:25 #279 №9535520 
>>9535209
Твой ЯМЗ весит в 2 раза больше В-92. Уже тут пролетает со свистом. А В-92 всего-то надо корпус попросторней для би-турбо и гильзы с поршнями помощнее.
Аноним ID: Оборонительный Пилсудский  29/12/24 Вск 15:01:46 #280 №9536431 
>>9535391

Так головы и шатуны ещё.
Проще новый мотор сделать.

>Твой ЯМЗ весит в 2 раза больше В-92.

Не мой.

>весит в 2 раза больше

Естественно, это не алюминиевое одноразовое говнецо. Ну и тонна на танке ничего не изменит.
Аноним ID: Оборонительный Пилсудский  29/12/24 Вск 15:02:15 #281 №9536432 
>>9535520
>>9536431
Аноним ID: Четырехмоторный Пегамагабо  29/12/24 Вск 16:24:39 #282 №9536559 
>>9536431
>Проще новый мотор сделать.
Было бы проще давно бы сделали.
>Естественно, это не алюминиевое одноразовое говнецо. Ну и тонна на танке ничего не изменит.
Для перетяжелённого и без того Т-90 изменит.Поэтому и не ставят.
Аноним ID: Картечный Хайрем Максим  29/12/24 Вск 16:39:56 #283 №9536579 
>>9535209
Окей а на новые ямз можно установить хондовский v-tec? Или закись азота?
Аноним ID: Флотский Хайрем Максим  29/12/24 Вск 16:47:27 #284 №9536591 
>>9535520
А ЯМЗ весит больше 2 тонны с коробкой передач? Просто, 2+ тонны это стандарт западных моноблочных двигателейю
Аноним ID: Полузатопленный Исаак Льюис  29/12/24 Вск 17:25:40 #285 №9536647 
>>9535520
>Твой ЯМЗ весит в 2 раза больше В-92.
>А В-92 всего-то надо корпус попросторней
Этот "корпус попросторней" будет весить тяжелее минимум на ту же тонну, так что никакого выигрыша здесь нет. Заброневой объём это дорого по массе. Уменьшать его нужно любой ценой.
Аноним ID: Оборонительный Пилсудский  29/12/24 Вск 18:16:42 #286 №9536751 
>>9536579

Его можно просто надуть. Вопрос в ресурсе. Обычные v8 5.7 литра форсируют до 5000л.с., ресурса правда на один заезд длительностью в несколько секунд.
Из серии В-2 последнее, что хорошо работало, это В-84. У В-92 и В-02С2Ф2 надёжности и ресурса не прибавилось. ЯМЗ же для карьерного самосвала предназначен, где он должен годами работать.
Перспективно-это нанять спецов с ЯМЗ их мотор в танк ставить. Неперспективно-это продолжать кормить ЧТЗ, которые уже 40 лет почти как доделали свою Х-образную вундервафлю, подозрительно уходящую истоками в Маус.

>>9536591

Коробка передач это отдельный агрегат.
AVDS 1790 2300кг весит. Он алюминиевый с водздушным охлаждением, если что.
Аноним ID: Учебный Абу Умар Шишани  30/12/24 Пнд 01:07:42 #287 №9537500 
>>9536751
>подозрительно уходящую истоками в Маус.
@
>сейчас я вам покажу, откуда Калашников готовился спиздить конструкцию штурмгевера...
Аноним ID: Железнодорожный Черняховский  30/12/24 Пнд 02:37:19 #288 №9537701 
>>8112526 (OP)
Нужно было просто в свое время леопардов закупить, как Сердюков собирался. Тем более в 3 раза дешевле, чем тогда родная промка за т-90 просила. Воевали бы как белые люди, а не хоронили ребят из-за морально устаревших совковых башнеметов.
Аноним ID: Взводный Бушнев  30/12/24 Пнд 04:28:16 #289 №9537985 
>>8112526 (OP)
>а карусель в танке больше не нужна = сильно лучше выживаемость, вышибные панели на бурлаке имелись кажется

За счет чего выживаемость? За счет того, что фугасы вынесены в самую уязвимую часть танка? Если фугас ебанет в забаншенной нише и танку и экипажу пизда скорее всего .


Щас будут пилит аостыли на платформах на коттрыз можно пилить.


Потом в идеале сделать уже совсем другую компонрвку танка. Необитаимая башня, необитаемый аллах. Экипаж в виде одного или двух человек где нибудь слева в жопе танка в бронекапсуле лежа
Аноним ID: Осколочный Соэму Тоёда  30/12/24 Пнд 12:44:39 #290 №9538473 
>>9536751
>Его можно просто надуть
Нет нет я имел в виду изменение мощности на различных режимах работы. Чтобы надув шел на высоких оборотах - это можно воплотить?
Аноним ID: Двуствольный Жак Андре  30/12/24 Пнд 13:25:59 #291 №9538587 
>>9538473

Конечно. Там он обычно и идёт.
Аноним ID: Четырехмоторный Пегамагабо  30/12/24 Пнд 14:14:58 #292 №9538702 
>>9536591
>Просто, 2+ тонны это стандарт западных моноблочных двигателейю
Ну так у них и танки по 65 тонн. А мы каждую тонну считаем.
Аноним ID: Осколочный Соэму Тоёда  30/12/24 Пнд 15:06:00 #293 №9538791 
>>9538587
Ну тогда заебись можно в бм орланы их запихнуть и устроить гоночки на трассе!
Аноним ID: Флотский Хайрем Максим  31/12/24 Втр 13:47:48 #294 №9540710 
>>9536751
а британский и немецкий сколько весят?
Аноним ID: Бригадный Харольд Александер  03/01/25 Птн 01:33:52 #295 №9547116 
>>8118488
Ебан, если в процессе производства есть сварка, а деталь ответственная, то она уходит на отпуск и нормализацию, тогда напряжений на швах не будет, а сам шов останется один хуй крепче основного металла.
Аноним ID: Многофункциональный Клод Лич  03/01/25 Птн 01:57:02 #296 №9547156 
Э
Аноним ID: Горнострелковый Хартманн  09/01/25 Чтв 13:06:58 #297 №9565960 
>>9540710
Немецкий 1.8 т.
Аноним ID: Понтонный Луис Шоша  03/02/25 Пнд 21:30:45 #298 №9626679 
image
>>9532984
>>9533057
В ликбез, животные
Аноним ID: Титановый Геннадий Никонов  03/02/25 Пнд 22:23:11 #299 №9626836 
>>9626679
Охуительные истории. Какие там отклонения от допусков если формочки одинаковые, а металл как вода всё заполняет собой?
Аноним ID: Тактический Щербанеску  04/02/25 Втр 00:43:03 #300 №9627138 
>>9626679
Ну раз петухевен сказал...
Если че бракованный шов напильником не лечится и там своих нюансов ебаный вагон
Аноним ID: Снайперский Скорцени  05/02/25 Срд 06:44:35 #301 №9629686 
>>9535520
>А В-92 всего-то надо корпус попросторней для би-турбо и гильзы с поршнями помощнее

Клоун одобрямсыч, ради интереса загугли какие давления наддува идут на современных дизелях, блоки и внутрянка которых изначально расчитаны на наддув, а не уходят корнями в 30е годы.

в-92 это буквально мусор, как и утд-20, утд-29
Аноним ID: Снайперский Скорцени  05/02/25 Срд 07:21:23 #302 №9629720 
013.jpg
016.jpg
001.jpg
008.jpg
>>9536751
>Перспективно-это нанять спецов с ЯМЗ их мотор в танк ставить

Такой мотор уже создан тутаевцами, называется тмз-866.10. В былые времена его планировали для ремоторизации всего семейства т-72 в моноблоке с коробкой renk аналогично v8 вяртсиля на леклерке.

Надо было покупать лицензию, делать реверс инжиниринг коробки и сейчас как китайцы выпускать под своим наименованием забив на все патенты (а я напоминаю что у ztz-99 моноблок от леопарда).

Но лоббизм чтз со столетним мотором зарешал, а потом мебельщика который хотел хоть что-то хорошее сделать для модернизации армии назвали предателем и коррупционером. Итог немного предсказуем, хуеобразника как не было так и нет, танки ездят на древних моторах и таких же древних костыльынх бкп, зато моноблок с соврменным мотором и кпп который можно было бы получить малой кровью загублен и забыт

>инб4 пок пок v8 1000 лс
Во первых он раскачивается до 1600лс, во вторых создан v12, а при 1000 лс ресурс в 3-4 раза выше в-92
Аноним ID: Снайперский Скорцени  05/02/25 Срд 07:40:21 #303 №9629742 
>>9499803
>После конфликта на украине ниша мертва. Если после этого на западе начнут (что не факт) разрабатывать новое поколение танков с нуля, то нишу мы не увидим.

Ебать клоун. Пока что мы видим как танков с нишей в армиях мира становится все больше, а карусельку выкидывают на мороз ее бывшие пользователи. Все это делается в т.ч. по итогам СВО
Аноним ID: Карательный Латр де Тассиньи  06/02/25 Чтв 02:00:57 #304 №9631774 
038[1].jpg
>>9629720
Как минимум ради коробки стоило, да.
У них улитки охлаждения засасывают воздух сквозь радиаторы вместо выброса наружу, разработчики не осознавали специфики применения в военных условиях, надо переделывать (было).
>>9629742>>9499803
Изолированое БО мы увидим, а не приманку для ФПВ. Хотя не исключено, что и нет, потому что военные идиоты на Западе десятилетиями игнорировали ОФСы и ДЗ, а в (пост)СССР ни к Афгану, ни к Чечне так и не смогли поставить хотя бы сотню комплектов активной защиты.
Аноним ID: Титановый Геннадий Никонов  06/02/25 Чтв 04:38:53 #305 №9631944 
>>9629720
>Но лоббизм чтз со столетним мотором зарешал, а потом мебельщика который хотел хоть что-то хорошее сделать для модернизации армии назвали предателем и коррупционером. Итог немного предсказуем, хуеобразника как не было так и нет, танки ездят на древних моторах и таких же древних костыльынх бкп, зато моноблок с соврменным мотором и кпп который можно было бы получить малой кровью загублен и забыт
Чтобы поставить твой моноблок надо всё МТО перепиливать у семейства Т-72. Это оправдано только если делать новую модификацию Т-90, который производится с нуля. Или ставить на Армату, но Армата — дорогая и сложная для ВПК РФ. Стало быть у моноблока нет задач.
Аноним ID: Снайперский Скорцени  06/02/25 Чтв 09:41:46 #306 №9632124 
030.jpg
031.jpg
>>9631944
>Чтобы поставить твой моноблок надо всё МТО перепиливать у семейства Т-72

Да ты че? А ничего что этот моноблок создавался под существующее МТО т-72?
Аноним ID: Снайперский Скорцени  06/02/25 Чтв 10:21:12 #307 №9632186 
photo2025-02-0313-18-18.jpg
photo2025-02-0313-18-19.jpg
photo2025-02-0401-18-22.jpg
>>9631774
>Изолированое БО мы увидим, а не приманку для ФПВ. Хотя не исключено, что и нет, потому что военные идиоты на Западе десятилетиями игнорировали ОФСы и ДЗ,

Именно поэтому из хахлятских трофейных лео вытаскивают программируемые фугасы, да которые еще и к тому же не взорвались после поражения танка? Че еще спизданешь?
Аноним ID: Мелкокалиберный Герман Коробов  06/02/25 Чтв 11:10:21 #308 №9632263 
>>9632186
> да которые еще и к тому же не взорвались после поражения танка

Поражение танка не всегда приводит к взрыву фугасов, или ты будешь отрицать что существуют десятки случаев когда тэшки выводились из строя без башнеметания? Если не будешь, тогда другая вводная тебе на размышление: то что Лео и Челенджеры возят фугасы никто никогда не отрицал, просто потому что есть неоднократные случаи когда и Лео и Челенджеры разносило взрывом БК. При этом нет ни одного случая взрыва фугасов в забашенной нише Абрамса. Почему так? У них в фугасах ВВ на новых физических принципах и взрывается только по команде? Или может быть какая-то другая разгадка этого явления? Как ты думаешь?
Аноним ID: Вертолетный Чжан Таофан  06/02/25 Чтв 13:48:57 #309 №9632703 
>>9629742
>танков с нишей в армиях мира становится все больше, а карусельку выкидывают на мороз ее бывшие пользователи
Это тебе приснилось или сейчас назовешь откащунов от карусельки в польщу нигролоудера?
Аноним ID: Снайперский Скорцени  06/02/25 Чтв 14:32:26 #310 №9632888 
>>9632703
Вся европа с тешек переходит либо на лео 2а7++ либо на к2 с забашенным аз. венгрия планирует kf-51 вместо своих лео которыми когда-то заменила тешки. Китай на своем тип 15 ушел от карусели в пользу забашенного аз. Индийский зоравар сюда же. Арджун мк2 боеукладка аналогично лео. Турция заменяет свои м60 с бк внутри башни на алтай, суть прокачанный к2 с нишей и вышибными панелями. Членожор-3 получил наконец вышибные панели и вынесение бк с нормальными унитарами вместо бк в боевом отделении

Что еще спизданешь как мне что-то там приснилось? Карусельные танки по факту нахуй никому не нужны
Аноним ID: Вертолетный Чжан Таофан  06/02/25 Чтв 14:51:31 #311 №9632947 
>>9632888
>еврокукичи, вместо отданных совковых тэшек, переходят на леопердов и корейцев
Ну да, в связи с опытом СВО.
>Кетай и Индия
Тебя, дегенерата ни на секуунду не смутило, что ОБТ и там, и там с каруселькой?
Аноним ID: Снайперский Скорцени  06/02/25 Чтв 15:10:35 #312 №9633000 
>>9632947
>Тебя, дегенерата ни на секуунду не смутило, что ОБТ и там, и там с каруселькой?

Которым по 30 лет, да? Иди нахуй короче, клоун
Аноним ID: Егерский Трошев  06/02/25 Чтв 15:23:56 #313 №9633060 
>>9633000
Не плачь, пиздлявое создание. Ты же пукнула про уход от карусельки, а оказалось, что ушли еврокукичи, которым неоткуда больше танчики совковой школы взять.
Аноним ID: Снайперский Скорцени  06/02/25 Чтв 15:30:46 #314 №9633100 
>>9633060
Пиздливое создание тут пожалуй только ты, которое игнорирует существование зоравара, арджуна и тип-15 у китайцев и индии.

Не говоря уже про то, что еврокукукичам сделать карусельный танк как нехуй делать, учитывая что в чехии, польше и хорватии осталось бывшее производство т-72. но вместо этого они применяют забашенный загрузчик на всех перспективных проектах, а количество карусельных танков в мире внезапно больше не становится
Аноним ID: Егерский Трошев  06/02/25 Чтв 15:36:03 #315 №9633130 
>>9633100
>у китайцев и индии
Притащил легкие танчики в проекте и радуется. Еще бы букера в пример привел, клоун.
>еврокукукичам сделать карусельный танк как нехуй делать
Охуительная история от скотины. Называй чешские, польские и хорватские танки, раз еврокукичам легко их сделать. Ой вей, неужели рейнметалл из Германии в эти подмывальни танки продает?
Аноним ID: Снайперский Скорцени  06/02/25 Чтв 15:39:38 #316 №9633149 
>>9633130
>Называй чешские, польские и хорватские танки, раз еврокукичам легко их сделать.

Придурок, прямо сейчас все три этих завода их делают не по полному циклу и поставляют хохлам, в т.ч. освоили т-64 чего раньше не могли. Или ты веришь в 10000 т-72 в резерве в секретном бункере у хохлов?

Блядь, я тебе выше писал иди нахуй уебище ты тупое. Даже нахуй не хочу спорить с таким дауном.
Аноним ID: Егерский Трошев  06/02/25 Чтв 15:44:08 #317 №9633165 
>>9633149
>прямо сейчас все три этих завода их
Восстанавливают, неполноцикленный дегенерат. Охуеть, эта скотина еще и спиздануть про производство Т-62 в РФ сможе.
Аноним ID: Егерский Трошев  06/02/25 Чтв 15:44:36 #318 №9633168 
>>9633149
>прямо сейчас все три этих завода их
Восстанавливают, неполноцикленный дегенерат. Охуеть, эта скотина еще и спиздануть про производство Т-62 в РФ сможет.
Аноним ID: Снайперский Скорцени  06/02/25 Чтв 15:48:27 #319 №9633184 
>>9633168
>Восстанавливают

Восстанавливают из какого задела, придурок ты ебаный?))

В европке никогда не было тысяч т-72 (в отличие от рф), не говоря уже про т-64, это во первых. Во вторых была новость что даже БРИТАХИ начали делать части для т-72, что уже говорить про поляков, хорватов и чехов

https://bulgarianmilitary.com/2024/03/03/britain-began-producing-soviet-mt-lb-bmp-and-t-72-spare-parts/

Сука какой же ты даун, зайди на лостармор и глянь потери тэшек хохлов, ниче в голове не щелкает, даун?
Аноним ID: Кавалерийский Черановский  06/02/25 Чтв 15:48:36 #320 №9633185 
>>9633130
Поляки серийно делали PT-91. У Хорватов был М-95 на базе ещё югославских наработок, но в серию не пошло. А всякие модификации даже румыны пилили эти психи до сих пор на рестайле Т-55 гоняют.
Аноним ID: Снайперский Скорцени  06/02/25 Чтв 15:55:03 #321 №9633223 
>>9633185
>У Хорватов был М-95 на базе ещё югославских наработок, но в серию не пошло

М-84 это и есть хорватский танк по сути, в сербии никогда не было танкового производства вов ремена югославии
Аноним ID: Егерский Трошев  06/02/25 Чтв 16:03:45 #322 №9633272 
scale1200.jpeg-3.jpg
>>9633184
>Восстанавливают из какого задела
Из УССРного. Плюс, что БРЭМы привозят.
>начали делать части для т-72
Охуеть теперь.
>>9633185
Поляки серийно делали варианты Т-72А, пока совок не развалился и не начались пляски с бубном и модернизацией парка новыми движками и СУО.
Аноним ID: Снайперский Скорцени  06/02/25 Чтв 16:10:47 #323 №9633303 
>>9633272
>Из УССРного. Плюс, что БРЭМы привозят.

Очередной диванный клоун пытается пиздеть, ясно. УССРный задел по т-72 на начало сво насчитывался мб в пару сотен штук. Выбито уже куда больше
Аноним ID: Егерский Трошев  06/02/25 Чтв 16:17:50 #324 №9633331 
>>9633303
>Выбито
Даун не знает, что один и тот же танк можно несколько раз выбить и восстановить?
Аноним ID: Гвардейский Павел Курочкин  06/02/25 Чтв 16:33:24 #325 №9633408 
>>9633303
Алсо, лостармор говорит о 94 выбитых семьдесятдвойках всех сортов.
Аноним ID: Титановый Геннадий Никонов  06/02/25 Чтв 18:12:44 #326 №9633734 
>>9633272
>Поляки серийно делали варианты Т-72А, пока совок не развалился и не начались пляски с бубном и модернизацией парка новыми движками и СУО.
Кстати, можно делать Т-72 любой стране: корпус, карусель и башню можно реверснуть, если есть материаловедение на уровне; моноблок поставить Перкинс или Вяртсиллю; пушку купить у словаков; СУО поставить с какого-нибудь баренского танка. И будет це діло.
Аноним ID: Реактивный Колчак  06/02/25 Чтв 19:12:16 #327 №9633889 
>>9633734
Звучит просто, но напомню, что танки эти нужны в основном хохлам а те не могут ололот производить, хотя он, по сути, является тем, что ты описал, разве что контакт вместо ножа ставить. Это я к тому, что даже корпус, видимо, произвести не так легко а с учетом реверс инжиниринга будут проебаны изначальные материалы Ну и не знаю, как с танками конкретно, но у нас на МИ-шках детали между машинами отличаются и могут не встать в соседнюю, т.е. еще вопрос что ты за хуйню там реверснешь
Аноним ID: Титановый Геннадий Никонов  06/02/25 Чтв 19:20:18 #328 №9633905 
изображение.png
А вообще можно ещё механизированную нишу вкорячить в Т-72 и перестволить под 120 мм унитары НАТО. Будет по массе то же самое + шторка + унификация со всем міромъ. Чёрный Орёл за 50 тонн не вылезал с такой нишей. Это будет лучший танк в истории.

>>9633889
>Это я к тому, что даже корпус, видимо, произвести не так легко
Украине в условиях войны нелегко. Но я не про Украину писал.
Аноним ID: Титановый Геннадий Никонов  06/02/25 Чтв 19:45:55 #329 №9633983 
photo31447627074.JPG
photo51447627074.JPG
photo81447627074.JPG
Аноним ID: Горный Дэвид Стирлинг  06/02/25 Чтв 19:53:29 #330 №9634007 
>>9633905
>нишу
Хуйня без задач, если нет задачи вместо танка делать пт-сау
Аноним ID: Титановый Геннадий Никонов  06/02/25 Чтв 19:55:40 #331 №9634014 
>>9634007
Как нет? Повысить выживаемость экипажа. Который максимум контузит, а струя горячего газа тем временем выйдет через вышибную панель.
Аноним ID: Горный Дэвид Стирлинг  06/02/25 Чтв 20:00:53 #332 №9634025 
>>9634014
Если не возить фугасы, а с фугасами им точно также пизла
Аноним ID: Титановый Геннадий Никонов  06/02/25 Чтв 20:02:21 #333 №9634028 
>>9634025
Достаточно видео с Сирийской войны, где при открытых люках Т-72 пускал струю газа и башня оставалась на месте. Так же будет и в этот раз — но уже по дефолту на каждом.
Аноним ID: Горный Дэвид Стирлинг  06/02/25 Чтв 20:04:41 #334 №9634031 
>>9634028
Значит фугасы не рвались, а из самого защищенного места в танке переносить на крышу, чтобы фпвшникам удобнее будет только конченный долбоеб
Аноним ID: Титановый Геннадий Никонов  06/02/25 Чтв 20:08:09 #335 №9634039 
>>9634031
От ФПВшек есть РЭБ и КАЗ.
Аноним ID: Титановый Геннадий Никонов  06/02/25 Чтв 20:10:19 #336 №9634046 
>>9634031
фпв'шки тем более сейчас могут залетать и в днище прямо в карусель, так что без разницы где будет БУ: на крыше или в днище.
Аноним ID: Горный Дэвид Стирлинг  06/02/25 Чтв 20:10:41 #337 №9634048 
>>9634039
У кого есть?
Аноним ID: Горный Дэвид Стирлинг  06/02/25 Чтв 20:12:11 #338 №9634052 
>>9634046
>в днище
Таблетки пил?
Аноним ID: Титановый Геннадий Никонов  06/02/25 Чтв 20:12:40 #339 №9634054 
>>9634048
В природе.
Аноним ID: Титановый Геннадий Никонов  06/02/25 Чтв 20:13:05 #340 №9634055 
>>9634052
Ты не знаешь, что фпв-дрон управляем?
Аноним ID: Реактивный Колчак  06/02/25 Чтв 20:21:03 #341 №9634074 
>>9633905
>Украине в условиях войны нелегко. Но я не про Украину писал.
Ну так хохлы и воюют 4 года всего, до этого тоже что-то мешало, да и всем остальным, видимо, мешает, раз не делают

>>9634046
>фпв'шки тем более сейчас могут залетать и в днище прямо в карусель
Покажи хоть один такой залет, не то чтобы отрицаю такую возможность, просто мне кажется это на столько сложной задачей вне ангара с тепличными условиями, что делать это не будет никто так-то можно и собаку под днище отправить, надо теперь от карусели отказываться?
Аноним ID: Титановый Геннадий Никонов  06/02/25 Чтв 20:27:14 #342 №9634083 
>>9634074
>да и всем остальным, видимо, мешает, раз не делают
Просто это расходы, вот и не делают. А вообще могут. Что-то подобное было с чешским Т-72М4ЧЗ. Хотя чехи не делали корпус.
Аноним ID: Снайперский Скорцени  06/02/25 Чтв 22:17:52 #343 №9634336 
>>9633905
У 640 еще и крыша башни нормально бронирована и экипаж внутри сидит каждый в своей капсуле. Пиздец танк опередивший время. С ответственными за его закрытие в пользу очередной модернизации 50 летнего танка с каруселькой должны быть проведены профилактические беседы
Аноним ID: Снайперский Скорцени  06/02/25 Чтв 22:23:27 #344 №9634349 
>>9634031
Ебаный вредитель, съебись отсюда нахуй со своими советами. В телеге сотни видов где хахлятские т-64бв до появления их раскладушек с сеткой рвутся от попадания фпв или ланцета в мто или под погон башни сзади. О какой защите боеукдадки ты пиздишь нахуй животное, тут не разницы абсолютно никакой с танками с нишей.

Все горит и все уничтожается, таковые реалии 2025 года, задача защитить экипаж блять, а не боекладку и кусок железа
Аноним ID: Снайперский Скорцени  06/02/25 Чтв 22:37:02 #345 №9634389 
Какие же клоуничи каруселедауны просто пиздец. Когда создавалась концепция т-64 это танк был буквально непробиваемый для любого натовского оружия. 105 пушка его не брала, птур бил только в лоб, летал всего на 2-4 км на не самой надежной системе наведения и пробивал 400мм гомогенки. Надо было еще попасть в танк в виде небольшой точки суметь. Конечно тогда карусель, сверхплотная компоновка и низкий силуэт, сгораемые гильзы и небронированные жестяные баки в обнимку с БК в итоге низкая живучесть в случае поражения были оправданы, ведь поразить танк было практически невозможно имеющимися средствами. Году в 1976 т-64а можно было уничтожить либо минами, либо авиацией либо из садаф в борт.

но прошло 70 лет и задача стоит обеспечить безопасную эвакуацию экипажа из танка. БК должен быть однозначно вынесен из боевого отделения, топливо должно быть изолировано в отдельных бронированных отсеках. Это говорит здравый смысл. На этом все.
Аноним ID: Окруженный Черняховский  06/02/25 Чтв 23:38:11 #346 №9634506 
photo2024-09-1020-46-08.jpg
photo2024-09-1020-46-08 (2).jpg
photo2024-09-1020-46-08 (3).jpg
>>9632888
>>9633000
Ты вообще не в курсе ситуации. В перспективном индийском танке изолированное БО, экипаж в передней бронекапсуле, как в Армате, и, ВНИМАНИЕ, И карусель, И забашенная ниша.

В текущем Арджуне заряжающий, с ним других вариантов, кроме ниши, нет.
Европейцам выбирать не из чего, единственный такнопроизводитель - Германия.

>алтай, суть прокачанный к2 с нишей и вышибными панелями.
Только с адреналиновым турком вместо АЗ.
Аноним ID: Экранированный Сергей Горшков  07/02/25 Птн 00:18:39 #347 №9634593 
>>9634506
>Европейцам выбирать не из чего, единственный такнопроизводитель - Германия.
У европейцев есть леклерк с нормальным автоматом заряжания и забашенной нишей.
Есть еще японцы и корейцы, у них тоже приличные ОБТ с забашенной нишей и спизженным у французов АЗ.
Просто в Европе немцы поубивали местную промышленность своих конкурентов, а потом с ехидными лицом предлагают купить пару десятку леопардов. Пшеки, вон, послали немцев нахуй и взяли корейцев.
Аноним ID: Титановый Геннадий Никонов  07/02/25 Птн 00:31:26 #348 №9634612 
1tank production.PNG
>>9634506
>Европейцам выбирать не из чего, единственный такнопроизводитель - Германия.
Корея ещё. Польша заказала 1000 К2.
>>9634593
>Просто в Европе немцы поубивали местную промышленность с
Ничего они не убивали, просто остальные танки не пользовались спросом и заводы закрыли @ законсервировали. Кроме того, что крошечные паркетные армии ЕС не требуют танковых полчищ. А если надо пара батальонов — проще купить за границей, чем содержать убыточный завод.
Аноним ID: Окруженный Черняховский  07/02/25 Птн 00:56:11 #349 №9634635 
>>9634593
Леклерк есть, а его линии производства - нет.
>японцы
Не экспортируют военную технику. Чуть ли не Конституцией ззапрещено.
>корейцы
Таки да, но у них тот же Лео, только в профиль. Но получше. Пшеки правильно выбрали.
>немцы поубивали местную промышленность своих конкурентов
Вот это вообще бесит, гандоны. Причём у своих же убивали: в ГДР после воссоединения закрыли совсем свеженький завод по производству АК-74 (на котором уже висел большой счастливый заказ от Индии) и такой же свеженький завод по производству полупроводником (а так, глядишь, имели бы сейчас свой нанометровый техпроцесс). И собственную лавкрафтианскую G11 зарезали.
Аноним ID: Титановый Геннадий Никонов  07/02/25 Птн 03:04:10 #350 №9634805 
>>9634635
>Леклерк есть, а его линии производства - нет.
Всё есть. Завод в Роанне на месте.
Аноним ID: Сообразительный Дмитрий Павлов  07/02/25 Птн 11:38:35 #351 №9635577 
>>9634389
Вот ты вроде и прав, но в тоже время снаряды в карусели хоть как-то можно защитить (обмазать тыл башни ДЗ, чаще всего рвоньк так инициировали). А нишу ты обмазать можешь лишь сеткой, которая не факт, что защитит. Не все так однозначно с нишей, но да, пока что не было ни одного зафиксировано взрыва бк внутри именно ниши, хоть фпв на видосах целятся именно что туда.
Аноним ID: Сообразительный Дмитрий Павлов  07/02/25 Птн 11:42:19 #352 №9635589 
И ещё такой момент. Почему никогда не видно при пожаре бк наших танков, что система пожаротушения отработала? По идее она же может уберечь от возгорания всех зарядов в БК?
Аноним ID: Химический Александр Новиков  07/02/25 Птн 11:46:19 #353 №9635603 
>>9634805
После арабского заказа 2007 года линия была остановлена. С тех пор прошло 20 лет. Если нет надёжных пруфов, что линия существует и поныне - её нет.
Аноним ID: Снайперский Скорцени  07/02/25 Птн 11:54:13 #354 №9635632 
>>9635577
Пока что ниша это единственный жизнеспособный концепт изоляции бк от экипажа. Когда будет армата (и если там действительно будут вышибные панели, иначе это шило на мыло), тогда можно будет говорить за превосходство карусели. По факту сейчас арматы нет и с ней какие-то трудности непреодолимые, зато есть рабочие серийные танки с нишей в т.ч. механизированной.
Аноним ID: Титановый Геннадий Никонов  07/02/25 Птн 12:18:36 #355 №9635719 
>>9635603
Здание стоит. Линию просто законсервировали. Осуществляют только ремонт и модинг.
Аноним ID: Химический Александр Новиков  07/02/25 Птн 12:57:48 #356 №9635819 
DSCF3772[1].jpg
>>9635632
>армата (и если там действительно будут вышибные панели
Аноним ID: Гвардейский Ханс Винд  07/02/25 Птн 13:18:17 #357 №9635874 
>>9635577
>Не было зафиксировано взрыва в нише
А хоть один фугас в нише был зафиксирован?
Аноним ID: Кавалерийский Черановский  07/02/25 Птн 14:12:40 #358 №9635993 
Напоминаю, что Т-80 без газотурбинного двигателя всё равно что булочка без изюма.
Аноним ID: Артиллерийский Покрышев  07/02/25 Птн 14:25:33 #359 №9636024 
>>9635874
Да. Плюс точно были кумули.
Аноним ID: Мелкокалиберный Герман Коробов  07/02/25 Птн 14:53:50 #360 №9636067 
>>9636024
> Да.

Пруфай.
Аноним ID: Артиллерийский Покрышев  07/02/25 Птн 14:56:44 #361 №9636073 
>>9636067
Вон же выше по треду были фотки фугасов. Было ещё видео, где в обездвиженном лео открыта шторка и оттуда выглядывал фугас.
Аноним ID: Мелкокалиберный Герман Коробов  07/02/25 Птн 15:03:26 #362 №9636085 
>>9636073
> Вон же выше по треду были фотки фугасов.

Это фугасы из укладки в корпусе. А видео с нишей доставь-ка. Потому что есть мнение что ниши ни разу не взрывались потому что фугасы в них не возят. Ибо если бы возили - рано или поздно при достаточной выборке случаев хоть какая-нибудь бы взорвалась, просто потому что фугасы не могут не взрываться.
Аноним ID: Артиллерийский Покрышев  07/02/25 Птн 15:03:27 #363 №9636086 
>>9633905
Где-то читал, что АЗ на Леклерке не способствует рациональному объему в башне. А в 640 по-другому устроено? У нас же всегда дроч был на как можно меньший объем БО.
Аноним ID: Взводный Джеймс Дулиттл  07/02/25 Птн 15:09:35 #364 №9636097 
>>9636085
Самый большой плюс ниши наш перемогатель, переоценивший ВВ, не озвучивает, а именно возможность установки эффективных, но токсичных для жеребят, средств пожаротушения. Что позволило бы сохранить коробочку целей.
Но опять же ниша - магнит для фпв. И нормально её забронировать не выйдет из-за габарита.
Аноним ID: Турбинный Александр Бузинов  07/02/25 Птн 15:27:07 #365 №9636141 
b9a6e7edf34f4f8d0cc86c1c9897efda.jpg
BlackEagleObj640exp.svg.png
>>9636086
Весь внутренний объем башни эклерка сожрал АЗ. Ле жеребята разделены казенником пушки.
Эклекр второй самый невоевавший непобедимый, после членожора-2, танк.
Аноним ID: Мелкокалиберный Герман Коробов  07/02/25 Птн 15:29:06 #366 №9636147 
>>9636097

Прикол в том что от полноценного взрыва БК реально может спасти отдельная капсула для экипажа, просто потому что капсулу можно отгородить от БК толстенной перегородкой в которой не требуются никакие шторки для подачи снарядов и другие уязвимые точки.
При хрестоматийном башнеметании, если присмотреться к результату, чаще всего даже погон башни не страдает, узлы и механизмы орудия остаются почти что целыми (если башня падает на крышу), не говоря уже о корпусе. В итоге с точки зрения защиты экипажа оптимальная схема это капсула+каруселька, которую мы как раз видим в Т-14. Капсула защищает от взрыва карусельки, карусельку в отличие от ниши вполне возможно максимально защитить, каруселька находящаяся в необитаемом отсеке может снабжаться эффективной системой пожаротушения.
sage[mailto:sage] Аноним ID: Мелкокалиберный Герман Коробов  07/02/25 Птн 15:33:34 #367 №9636154 
chromegW5FHlbrU9.png
Собственно, вот так выглядит взрыв фугасов Лео в нише.
Насколько хорошо себя чувствуют ребята отсидевшиеся за шторкой можно примерно прикинуть.
Аноним ID: Карательный Виталий Попков  08/02/25 Суб 00:35:03 #368 №9637441 
>>9636154
>шторка не пробита
>башня на месте.
>люки открыты значит экипаж вылез.
Аноним ID: Карательный Виталий Попков  08/02/25 Суб 00:37:50 #369 №9637450 
>>9634612
>Кроме того, что крошечные паркетные армии ЕС не требуют танковых полчищ.
>боеспособных танков у ес сейчас больше чем у рф.
Аноним ID: Карательный Виталий Попков  08/02/25 Суб 00:41:57 #370 №9637458 
https://www.youtube.com/watch?v=1e3eirPhxJE
Аноним ID: Титановый Геннадий Никонов  08/02/25 Суб 01:28:43 #371 №9637554 
изображение.png
>>9637450
У Франции 240 танков на ходу в 4 танковых полках.
Аноним ID: Бомбардировочный Гейнц Бэр  08/02/25 Суб 01:29:59 #372 №9637557 
>>9637450
>боеспособных танков у ес сейчас больше чем у рф.
Хоть в вики бы заглянул перед тем как позориться.
Аноним ID: Кавалерийский Черановский  08/02/25 Суб 09:24:55 #373 №9637949 
>>9637554
Это так-то очень мало, уже через месяц надо будет AMX-30 вытаскивать, но поскольку хранение ВВТ - это пережиток ушедшей эпохи, согласно европейским взглядам на мироустройство на сэкономленные деньги можно кушать вкуснее, а там хоть трава не расти, то они кончатся ещё быстрее.
По сути, в Европе две армии, которые могут вытянуть долгую войну: польская которую специально субсидируют для этого и греческая которая традиционно вооружается для обороны от турецких "союзников". У последних есть призыв и сложный рельеф на потенциальном ТВД, так что на них я бы больше надеялся, в случае чего.
Ещё финны в теории могут хорошо развернуться, но у них слишком маленькая армия мирного времени, есть сомнения, что успеют.
Аноним ID: Диванный Гочкис  08/02/25 Суб 10:21:33 #374 №9638012 
>>9636154
Мгновенный а не в результате пожара взрыв БК даже на карусельном говне не слишком часто происходит, так что да - с большой вероятностью экипаж шлёпы съебался.
Аноним ID: Истребительный Хортен  08/02/25 Суб 15:28:41 #375 №9638900 
>>9637557
ты бы тоже.
Аноним ID: Истребительный Хортен  08/02/25 Суб 15:32:08 #376 №9638908 
>>9637949
танки как бы не играют никак роль в сорвменное войне, а у ес, даже без сша, преимущество над рф почти во всём кроме яо.
Аноним ID: Кавалерийский Черановский  08/02/25 Суб 17:03:27 #377 №9639171 
>>9638908
>танки как бы не играют никак роль в сорвменное войне
Будто бы дело только в танках. У них вообще ВВТ и даже тупо личного состава мало. Быстренько всё это родить заново не получится, хотя необходимость снабжать Украину немного зашатала шестерёнки военной промышленности.
>а у ес, даже без сша
У ЕС две боеспособные сухопутные армии, остальные помощники разной степени хуёвости. Собственно на США вся эта "коллективная безопасность" и держится, особенно после сокращений западноевропейских армий, которые пошли с конца Холодной войны и активно продолжались до самого 2014 года. По этой причине всякие проекты аля "армия ЕС" и провалились в нулевых, а в итоге и вообще углубление евроинтеграции и субъективизация ЕС.
sageАноним ID: Heaven 08/02/25 Суб 17:15:14 #378 №9639186 
>>9639171
охуительныне истории
>У них вообще ВВТ и даже тупо личного состава мало.
там в суммее 1,5-2 ляма личного состава. и 400+ лямов населения
поэтому хохлы наступают на мрапах и ббм, а рф на буханках и мопедах, и они поставили хохлам 6-7к единиц техники. без учёта сша. и без ущерба для своей армии.
Аноним ID: Кавалерийский Черановский  08/02/25 Суб 18:23:04 #379 №9639342 
>>9639186
>там в суммее 1,5-2 ляма личного состава
Ты или бредишь, или с Турцией считаешь, что одно и то же. Там в сумме по вооружённым силам чуть меньше 1,5 млн, а по сухопутным войскам, о которых собственно и речь, ещё примерно дели на три.
>400+ лямов населения
Всех дедов и бабок посчитал? Фактические цифры мобрезерва куда скромнее, а уж какую его часть действительно получится привлечь в армию вообще не предсказуемо, ибо добровольно мало кто захочет опросы общественного мнения проводились, а аппарат принудительного исполнения воинской обязанности уже давно оптимизирован.
>без ущерба для своей армии
Когда датчане из действующих частей САУ поснимали не считается? Я уж молчу о каких-то мобилизационных запасах.
Аноним ID: Титановый Геннадий Никонов  10/02/25 Пнд 01:52:51 #380 №9641687 
photo91639340595.jpg
В общем танк будущего РФ должен быть на базе шасси Т-80 с башней от Т-90А.

Двигатель в нём должен быть заменён на моноблок типа >>9629720 с ГТД или дизелем (производить оба, для загрузки производства), чтобы трансмиссия позволяла 30 км/ч заднего хода

Должна быть врезана механизированная ниша в башню.

Выстрелы — унитары с металлической гильзой, чтобы не пыхало от любой искры + можно будет ломы метровые совать.
sageАноним ID: Heaven 10/02/25 Пнд 02:24:48 #381 №9641708 
>>9641687
танки слишком дорогие и неэфектиные для современный войны. и не могут бороться с актуальными целями.
максимум что подходит по цене качеву это вафентрагер с каз, под управляемые боеприпасы. с зашитой от осколков по кругу и мин и автопушек рпг с переди.
sageАноним ID: Heaven 10/02/25 Пнд 02:29:23 #382 №9641711 
>>9641708
и то под те же задачи можно собрать технику дешевле и эффективней.
Аноним ID: Крейсерский Паулюс  10/02/25 Пнд 02:57:36 #383 №9641720 
>>9641687
>унитары с металлической гильзой, чтобы не пыхало от любой искры + можно будет ломы метровые совать
Проблема в порохе. Наши пороха хуже. Унитар с нашим порохом будет больше унитара 120-мм
Аноним ID: Крейсерский Паулюс  10/02/25 Пнд 02:58:41 #384 №9641721 
>>9641687
> ниша
Как защитить её от фпв или аналогов джавелина?
Аноним ID: Крейсерский Паулюс  10/02/25 Пнд 03:01:14 #385 №9641722 
>>9634506
>забашенная ниша
Башенная
Аноним ID: Титановый Геннадий Никонов  10/02/25 Пнд 03:06:46 #386 №9641726 
>>9641721
>Как защитить её от фпв или аналогов джавелина?
ДЗ, КАЗ, РЭП и решётки. А так ниша нужна, в первую очередь, для сохранения жизни экипажа.

>>9641720
На сколько больше? Есть +5% к диаметру или длине, то это терпимо.
Аноним ID: Крейсерский Паулюс  10/02/25 Пнд 03:08:06 #387 №9641728 
>>9626836
>формочки одинаковые
Формочки индивидуальные. Это литьё в землю
Аноним ID: Крейсерский Паулюс  10/02/25 Пнд 03:13:27 #388 №9641731 
>>9641726
>На сколько больше?
Цифры не знаю. Знаю что наши пороха имеют меньшую энергетику

>ДЗ, КАЗ, РЭП и решётки
Ну такое
Аноним ID: Титановый Геннадий Никонов  10/02/25 Пнд 03:42:24 #389 №9641750 
>>9641728
А зачем лить в землю, когда можно сделать формочки из огнеупорного материала?
Аноним ID: Титановый Геннадий Никонов  10/02/25 Пнд 03:44:01 #390 №9641753 
>>9641731
>Цифры не знаю. Знаю что наши пороха имеют меньшую энергетику
Ну в любом случае разница не критичная.

>>9641731
>Ну такое
Это в общем вторично всё, главное чтобы экипаж выживал. Щас не рожают по 7 детей, чтобы иметь одноразовых солдат.
Аноним ID: Крейсерский Паулюс  10/02/25 Пнд 03:52:39 #391 №9641759 
image
>>9641750
При массовом производстве понадобится очень много формочек

>>9641753
>Ну в любом случае разница не критичная
Ты даже не знаешь какая разница но знаешь что она не критична. Молодец!
>главное чтобы экипаж выживал
Не факт что ниша этому способствует
Аноним ID: Титановый Геннадий Никонов  10/02/25 Пнд 04:08:49 #392 №9641770 
>>9641759
>При массовом производстве понадобится очень много формочек
Много это сколько? При УВЗ'шном темпе 1000 машин в год, например.

>>9641759
>Ты даже не знаешь какая разница но знаешь что она не критична. Молодец!
Я могу представить, что там точно унитар точно не будет в ×2 раза больше. И даже ×1.5.
>Не факт что ниша этому способствует
Надо провести эксперименты.
Аноним ID: Крейсерский Паулюс  10/02/25 Пнд 04:32:30 #393 №9641781 
>>9641770
>Много это сколько?
На отваге есть специалисты, спроси там
>Я могу представить
Примерно почувствовать
>там точно унитар точно не будет в ×2 раза больше. И даже ×1.5
У нас у 100-ки унитар как бы не размера 120-ки нато
>Надо провести эксперименты
Ясен перец
Аноним ID: Титановый Геннадий Никонов  10/02/25 Пнд 04:53:47 #394 №9641792 
16641793407860.jpg
M829A4.jpg
>>9641781
>На отваге есть специалисты, спроси там
Надо регаться. Спроси ты.
>Примерно почувствовать
Да.
>У нас у 100-ки унитар как бы не размера 120-ки нато
По длине, но не по ширине. Нужны цифры диаметров.
Аноним ID: Крейсерский Паулюс  10/02/25 Пнд 05:09:18 #395 №9641815 
>>9641792
>Надо регаться
Вот именно. Поэтому я здесь
У тебя не тот унитар. На нем написано
Аноним ID: Титановый Геннадий Никонов  10/02/25 Пнд 05:22:07 #396 №9641835 
>>9641815
Не тот, я и не писал, что тот. Ты цифирь неси лучше.
Аноним ID: Крейсерский Паулюс  10/02/25 Пнд 05:23:48 #397 №9641838 
>>9641835
>цифирь неси
У меня нет. Я же сказал
Аноним ID: Титановый Геннадий Никонов  10/02/25 Пнд 06:22:37 #398 №9641929 
>>9641838
Твои проблемы.
Аноним ID: Крейсерский Паулюс  10/02/25 Пнд 06:44:17 #399 №9641963 
>>9641929
Твои. Тебе же надо. Я просто пояснил что ты идиот
Аноним ID: Титановый Геннадий Никонов  10/02/25 Пнд 07:27:23 #400 №9642045 
>>9641963
Как ты пояснил? Ты просто пукнул в лужу без пруфов.
Аноним ID: Крейсерский Паулюс  11/02/25 Втр 15:36:20 #401 №9645335 
>>9642045
>без пруфов
Ебало представили?
Аноним ID: Титановый Геннадий Никонов  14/02/25 Птн 03:41:13 #402 №9653658 
>>9645335
Ты решил дальше пердеть в лужу?
Аноним ID: Титановый Геннадий Никонов  14/02/25 Птн 03:42:55 #403 №9653660 
Знаете, я тут подумал, что металлические гильзы не нужны, потому что в нише они будут действовать как ствол и всю энергию направлять в сторону башни. А при картонной оболочке порох будет гореть во все стороны, разрушая нишу.
Аноним ID: Мотострелковый Густав Яни  14/02/25 Птн 07:52:39 #404 №9653830 
>>9653660
Если еще немного подумаешь может даже поймешь, что ниша не нужна
Аноним ID: Титановый Геннадий Никонов  14/02/25 Птн 07:59:08 #405 №9653836 
>>9653830
Ниша как раз нужна. Танк с ней станет многоразовым.
Аноним ID: Мотострелковый Густав Яни  14/02/25 Птн 08:09:48 #406 №9653852 
>>9653836
Не станет
Аноним ID: Титановый Геннадий Никонов  14/02/25 Птн 08:34:21 #407 №9653911 
>>9653852
Твои верования неинтересны.
Аноним ID: Флотский Эндрю Каннингем  14/02/25 Птн 08:59:20 #408 №9653974 
>>9653660
>А при картонной оболочке порох будет
Вымокать, как было с шериданами во Вьетнаме - отличный план, может давай еще ниши забашеные сделаем из картона?
> гореть во все стороны, разрушая нишу.
а...
Аноним ID: Титановый Геннадий Никонов  14/02/25 Птн 09:10:40 #409 №9653996 
>>9653974
>
>Вымокать, как было с шериданами во Вьетнаме
В карусели и у абрамсов ничего не вымокает.
Аноним ID: Контрбатарейный Исраэль Таль  14/02/25 Птн 11:45:35 #410 №9654369 
>>9653911
Пока тут только ты веруешь в швятую, как у барена же! нишу, от взрыва фугасов ниша не спасет, соответсвенно хуйня без задач
Аноним ID: Титановый Геннадий Никонов  14/02/25 Птн 12:04:11 #411 №9654393 
>>9654369
>от взрыва фугасов ниша не спасет,
И тут ты с пруфами
Аноним ID: Контрбатарейный Исраэль Таль  14/02/25 Птн 12:10:00 #412 №9654404 
image.png
>>9654393
Аноним ID: Контрбатарейный Исраэль Таль  14/02/25 Птн 12:10:47 #413 №9654407 
>>9654404
Но хохлы наверное только здоровее стали, они же за шторкой, а фугасы в швятой нише!
Аноним ID: Титановый Геннадий Никонов  14/02/25 Птн 12:29:51 #414 №9654450 
>>9654404
1 фотка из сотен переданных леопардов и абрамсов.
Аноним ID: Контрбатарейный Исраэль Таль  14/02/25 Птн 13:06:22 #415 №9654552 
>>9654450
В остальных фугасов не было, был же список бк проебанного абрамса, там только 5-10 кумулятивов, остальное ломы и шрапнель
Аноним ID: Титановый Геннадий Никонов  14/02/25 Птн 14:02:30 #416 №9654752 
>>9654552
>В остальных фугасов не было,
вірім
Аноним ID: Мелкокалиберный Герман Коробов  14/02/25 Птн 14:09:27 #417 №9654782 
>>9654752

О, еще один. Помоги разобраться, почему баренские фугасы не взрываются, а советские взрываются? В баренских взрывчатка на особых физических принципах? Или может быть разгадка более простая?
Аноним ID: Титановый Геннадий Никонов  14/02/25 Птн 16:33:50 #418 №9655320 
>>9654782
В леопарде->>9654404 фугасы вдруг появились, а в других не появляются. Як так сталося?
Аноним ID: Мелкокалиберный Герман Коробов  14/02/25 Птн 16:37:40 #419 №9655335 
>>9655320

Так сталося потому что в леопердах фугасы возят, и в челенджерах возят. Поэтому и леопарды и челенджеры регулярно взрываются, а абрамс вот не взрывался ни разу. Неужели там фугасы с взрывчаткой которая взрывается только по приказу? Как ты думаешь?
Аноним ID: Понтонный Курчевский  14/02/25 Птн 16:50:35 #420 №9655378 
>>9655335
На видео у леопардов ниша ни разу не взрывалась как у обэмы, да
Аноним ID: Мелкокалиберный Герман Коробов  14/02/25 Птн 16:57:46 #421 №9655404 
>>9655378

И у обэмы тоже не взрывалась, потому что взрыв ниши привел бы к её полному разрушению вместе с задней частью башни, примерно как у леоперда на фотографии выше. А таких случаев не было. Максимум что случалось с обэмой - это выгорание зарядов со слабыми пуками кумулятивов, на которое ниша и была рассчитана и испытана. Но какой толк от танка без фугасов, с бк в нише которую защитить ГОРАЗДО труднее чем карусельку - каждый уже сам для себя решит.
Аноним ID: Крупнокалиберный Скоропадский  14/02/25 Птн 17:09:30 #422 №9655431 
image.png
Абрамс в Соколе разорванная ниша.mp4
>>9655404
Аноним ID: Инфракрасный Альфрид Крупп  14/02/25 Птн 17:23:53 #423 №9655461 DELETED
>>8112526 (OP)
Сортир для Арматы
Санитарное устройство представляет собой стульчик, выполненный в виде металлической рамки с двумя раскладывающимися ножками. На рамку надевается полиэтиленовый мешок и закрепляется на ней шестью зажимами.
Комплект индивидуального пользования и санитарное устройство предназначены для осуществления экипажем физиологических отправлений непосредственно на рабочих местах, сбора и хранения отходов жизнедеятельности при длительном пребывании экипажа в машине.
Комплект расходуемых материалов состоит из 15 листов туалетной бумаги длиной по 150 мм, 15 штук гигиенических салфеток длиной по 150 мм, пяти полиэтиленовых мешков и пяти шнурков для завязывания мешков.
Мешочек и каркас… + 15 листочков туалетной бумаги.
Аноним ID: Инфракрасный Альфрид Крупп  14/02/25 Птн 17:39:48 #424 №9655501 DELETED
>>9655335
Вышибные панели спокойно работают с фугасами. Проверялось еще в 80-х американцами.
>>9655431
Тут ничего не понятно.
>>9654782
Срабатывают вышибные панели потому что.
>>9654404
Тут не видно, есть ли повреждения отделения экипажа. В целом шторка не 100% срабатывание имеет с фугасами или тут мог быть мощный взрыв тем, чем поразили его, что нарушило герметичность отсека с бк до срабатывания вышибных панелей. Однако головки фугасных снарядов расположены назад, поэтому может произойти то что например на фото, но экипаж и внутренности танка не пострадали. Точно по этой фото не скажешь, пожар мог нанести дополнительные повреждения.
Аноним ID: Мелкокалиберный Герман Коробов  14/02/25 Птн 18:03:42 #425 №9655552 
>>9655501
>Вышибные панели спокойно работают с фугасами

Нет, не работают.

> Проверялось еще в 80-х американцами.

Проверялось горением бк состоящего из 20 ломов и 10 кумулей, с фугасами ничего подобного не испытывали, просто потому что взрыв фугасов ниша пережить не сможет физически.

> Срабатывают вышибные панели потому что.

Из параллельного измерения пишешь? В каком из них физические законы позволяют слабобронированной коробочке выдержать подрыв фугасов способный разнести на куски корпус танка?
Аноним ID: Карбюраторный Эдмунд Хеклер  14/02/25 Птн 19:00:19 #426 №9655726 
>>9655501
>Проверялось еще в 80-х американцами.
С каким снарядом? У них ОФС в номенклатуре родился где-то к десятым годам. Для 120мм естественно, а не 105мм М68 из 80-х
Аноним ID: Титановый Геннадий Никонов  14/02/25 Птн 20:50:43 #427 №9656107 
photo101712593231.jpg
Всё-таки надо возрождать этого красавца с цельнометаллическими унитарами. О, це діло будет.
Аноним ID: Драгунский Николай Кучеренко  14/02/25 Птн 21:32:24 #428 №9656193 
l339ac.jpg
KMO199071001091t218132917.jpg
>>9656107
>этого красавца

Так вот же, есть логическое развитие этого красавца.

>простой
>торсионы
>нет аз
>единый силовой блок
>основной бк вынесен из боевого отделения

Ничего больше выдумывать не надо, концептуально это пик танкостроения на данный момент. Любые другие танки труднореализуемые, дорогие или карусельные

Все остальное упирается чисто в обвес. Главное начать производство такого квадратиш практиш под собственный 115 унитар
Аноним ID: Крупнокалиберный Скоропадский  14/02/25 Птн 22:59:49 #429 №9656429 
>>9655501
>Тут ничего не понятно.
Чего тебе не понятно? Детонация укладки вырвала дно башни, на скрине из видео торчат вниз лоскуты.
Аноним ID: Титановый Геннадий Никонов  15/02/25 Суб 05:34:01 #430 №9657189 
>>9656193
>Так вот же, есть логическое развитие этого красавца.
Тяжёлый, дорогой, сложный и без металлических унитаров.
>концептуально это пик танкостроения на данный момент.
Пик это Т-14. А Т-62 это такая массовая надёжная рабочая лошадка.
Аноним ID: Лазерный Олави Пуро  15/02/25 Суб 08:31:58 #431 №9657383 
>>9656107
>>9657189
> Т-62 это
самоходная мишень без брони
Аноним ID: Легковооруженный Оскар Моссберг  15/02/25 Суб 11:16:30 #432 №9657537 
>>9657189
>Пик это Т-14

Он умеет на ходу в мишень попадать? Спаренный пулемёт приделали?

>А Т-62 это такая массовая надёжная рабочая лошадка.

Без брони, подвижности и огневной мощи.
Аноним ID: Суетливый Лерой Грумман  15/02/25 Суб 12:45:02 #433 №9657747 
>>9657537
>Он умеет на ходу в мишень попадать?
Наверняка может — он же пик.
>Без брони,
Щас нет брони способной защитить от дронов и птуров. А в комбинашка уже не нужна, т.к. танки с танками встречаются редко.
>подвижности и огневной мощи.
Вот этого как раз в избытке.
Аноним ID: Стальной Николай Гулаев  15/02/25 Суб 17:16:15 #434 №9658450 
>>9657747
>Вот этого как раз в избытке.

У т-62 не было необходимой подвижность в момент его появления что аж ещё тогда были попытки выкатить танк на турбине, а сейчас и подавно
Аноним ID: Суетливый Лерой Грумман  15/02/25 Суб 17:26:29 #435 №9658472 
>>9658450
С В-46 на 760 л.с. нормально будет двигаться.
Аноним ID: Лазерный Олави Пуро  15/02/25 Суб 18:25:00 #436 №9658607 
>>9657537
>Он умеет на ходу в мишень попадать? Спаренный пулемёт приделали?
Естественно. Если даже Т-64 образца 1963 года умел
>Без брони, подвижности и огневной мощи
Да. И со скорострельностью меньше 4 выстрелов в минуту. И с зависимой стабилизацией прицела
Аноним ID: Радиолокационный Роля-Жимерский  15/02/25 Суб 18:31:57 #437 №9658632 
ололот носик.webm
ололот носик 2.webm
ололот носик 3.webm
ололот носик 4.webm
>>9658607
>Если даже Т-64 образца 1963 года умел
Жаль предок даже стоя не умеет(((

А на счет арматы я этот доеб не понял - тип не показали = не работает? А показали кстати? Не интересовался Опять штаны Арагорна или как раз ололота перефорс?
Аноним ID: Суетливый Лерой Грумман  16/02/25 Вск 03:44:41 #438 №9659778 
>>9658607
Аноним ID: Суетливый Лерой Грумман  16/02/25 Вск 04:00:05 #439 №9659784 
>>9658632
>предок
значение слова знаешь?
Аноним ID: Суетливый Лерой Грумман  16/02/25 Вск 04:50:07 #440 №9659808 
photo11738306257.JPG
изображение.png
А в ВМВ самоходки были сильно дешевле танков?
Аноним ID: Фортификационный Хельмут Липферт  16/02/25 Вск 10:37:07 #441 №9660237 
>>9658632
>А на счет арматы я этот доеб не понял - тип не показали = не работает?

Ты недавно на /wm, верно?
Аноним ID: Фортификационный Хельмут Липферт  16/02/25 Вск 10:48:39 #442 №9660265 
>>9659808

Не сильно, но дешевле. Опять же нужно различать самоходки производившиеся из бедности от самоходок производившихся потому что нужная пушка не влезала в башню танка. Вот у тебя на пике штуг - их производили банально потому что пц-4 стоил дороже. В свою очередь на втором твоем пике ягдпантера - она производилась потому что нужен был носитель л71. Эту пушку из-за её размеров можно было разместить в полноценной башне либо вообще избавившись от противоснарядного бронирования (ну то есть запилить классический вафентрагер) либо создать огромную монструозную хуйню, то есть КТ.
Собственно, штурмовые самоходы и вымерли вскоре после ВМВ, потому что инженеры научились ставить в танки большие пушки.
Аноним ID: Бомбардировочный Гейнц Бэр  16/02/25 Вск 12:11:06 #443 №9660442 
>>9660265
Да ладно, пиндосы на м-36, заместо танков, всю корейскую воевали и ничего.
Аноним ID: Мелкокалиберный Герман Коробов  16/02/25 Вск 12:56:39 #444 №9660523 
>>9660442

Они М36 вместо танков использовали буквально из-за лампасов-генералов которые говорили "башня есть - значит танк, пиздуй с пехотой на штурм". Про это много кто жаловался. Ну и да, бронирование м36 противоснарядным можно назвать очень и очень условно, а повысить его без превращения машины в тяжелый танк уже было нельзя. Когда 90мм пушку смогли запихать в нормальный танк и плучить М26 - тогда всё остальное быстро вымерло.
Аноним ID: Кумулятивный Хортен  16/02/25 Вск 13:19:06 #445 №9660575 
>>9660523
Немцы умудрялись использовать Nashorn в качестве поддержки пехоты, как StuG. Результаты были предсказуемыми.
Аноним ID: Суетливый Лерой Грумман  16/02/25 Вск 17:43:05 #446 №9661215 
photo31572598074.jpg
>>9660265
>Собственно, штурмовые самоходы и вымерли вскоре после ВМВ, потому что инженеры научились ставить в танки большие пушки.
Ну 152 мм не научились. В Берлине даже Б-4 загоняли бить прямой наводкой для пущего фугасного эффекта.
Аноним ID: Суетливый Лерой Грумман  16/02/25 Вск 19:17:35 #447 №9661543 
Без имени.jpg
Без имени-1.jpg
Короткое мортирообразное орудие позволяет засунуть больше ВВ в снаряд и тем повысить ОФ-действие. Поэтому выгоднее делать ШтуПу с 203-мм мортирой 12—15 клб.
sageАноним ID: Heaven 16/02/25 Вск 19:39:44 #448 №9661627 
>>9661543
А давайте сделаем хуйню с БОЛЬШОЙ ГРОМ ПАЛКОЙ и короче пошлём на штурм. Или стрелять с 5 км. Дроны не работают против армии, сынок.
Аноним ID: Дерзкий Котохито  16/02/25 Вск 21:58:02 #449 №9662059 
>>9660265
>Эту пушку из-за её размеров можно было разместить в полноценной башне либо вообще избавившись от противоснарядного бронирования (ну то есть запилить классический вафентрагер) либо создать огромную монструозную хуйню, то есть КТ.
Чисто по массе Л71 можно было и в Тигр-1 запихать, и даже в Пантеру. Но у немцев был какой-то нездоровый заёб на коротких "подковообразных" башнях с дефицитом пространства сзади. В эти башни нихуя толком не влезал даже экипаж, поэтому не влезали и орудия нормальных калибров.

А вот КТ имел длинную башню в форм-факторе вытянутого шестигранника, подозрительно похожую на Т34-76. (Да и по форме корпуса напоминал разожравшуюся тридцатьчетвёрку.) Что немцам мешало сделать подобные башни для троек/четвёрок - хз. Вроде уже в 41 году трофейную технику облазили вдоль и поперёк.
Аноним ID: Бомбардировочный Гейнц Бэр  16/02/25 Вск 22:01:21 #450 №9662074 
>>9661627
Обмажем тремя контурами мангалов с дз, двойная сцепка минных тралов и норм! Первые два контура магала переложим шпалами, второй контур мангала цементом и кирпичами В крайнем к корпусу танка третьем контуре мангала, будут способно ехать жеребята!
Аноним ID: Мелкокалиберный Герман Коробов  16/02/25 Вск 22:54:41 #451 №9662289 
pig1-0020.jpg
>>9662059
>Чисто по массе Л71 можно было и в Тигр-1 запихать, и даже в Пантеру.

Вот только в небольшой башне с небольшим погоном заряжающий охуеет тягать снаряды длиной 120см, а остальные двое башнёров охуеют от тесноты рядом с казёнником этой ебанины. А если башню делать просторной при сохранении вменяемого бронирования - она становится слишком тяжелой, и опять же прямой путь либо к тяжелому танку либо к самоходке.
Аноним ID: Дерзкий Котохито  17/02/25 Пнд 01:36:04 #452 №9662571 
001.jpg
002.jpg
>>9662289
У тигра1 такой же погон, как и у КТ, 1850мм. У пантеры 1650мм, но на 100мм без проблем можно расширить. Так что снаряды-то лезут, но места чтобы дрочить казённик не остаётся, потому что башня короткая.
А вот у КТ башня длинная. В результате во-первых сама пушка смещена сильно вперёд, во-вторых места сзади дохуя за счёт развитой внутрибашенной ниши. Вес она добавляет, но не так чтобы очень дохуя, может процентов на 30, основная броня всё равно спереди.
Аноним ID: Нестроевой Мармадюк Пэттл  18/02/25 Втр 21:56:48 #453 №9668784 
>>9662571
Очень прекрасно себя показали снаряды в башне, просто охуенно. Все так и ринулись делать танки с такой компоновкой. Где свои корочки "долбоёба" получал? В харьковском бронетанковом?
Аноним ID: Пограничный Райнхардт  19/02/25 Срд 05:07:02 #454 №9669846 
image.png
image.png
>>9668784
Аноним ID: Тыловой Гиммлер  24/02/25 Пнд 21:28:05 #455 №9691596 
>>9661543
>ыгоднее делать ШтуПу с 203-мм мортирой 12—15 клб
Опять этот идиот. Нет, не выгоднее. Единственный смысл в 203-мм - это превосходство по дальности над 155-мм. Но для этого нужна длииинная штука
>203-мм мортирой 12—15 клб
БК - 3-5 выстрелов, скорострельность - 1 выстрел в 5 минут. Попасть в цель меньше 20 метров можно только случайно

>>9661215
>Ну 152 мм не научились
По воспоминанием участников одно попадание 152-мм уничтожало всё живое в стандарном немецком доме
Аноним ID: Штабной Исрапилов  26/03/25 Срд 11:07:42 #456 №9794253 
image
image
>>8112526 (OP)
Объясните нубасу, перфекционисту и ОКРщику, почему блять ебучий воздухозаборник на башне т80 криво стоит. Тешка типа постоянно ездит с башей, повернутой на 5 градусов вправо? Или он проектировался так, чтоб на парадах красиво выглядеть?
Аноним ID: Химический Хаттаб  26/03/25 Срд 11:16:07 #457 №9794266 
>>9794253
>Тешка типа постоянно ездит с башей, повернутой на 5 градусов вправо?

На люк мехвода и пушку посмотри, сразу всё поймешь.
Аноним ID: Сметливый Сталин  26/03/25 Срд 19:06:16 #458 №9795258 
>>9794266
Смысл то в этой штуке, чтоб более чистый воздух подсасывать сверху. Хочешь сказать он прям в боевых условиях по регламенту всегда гоняет с перекошенной башней? Не кажется мне, что это пиздец как удобно, стволом не по курсу движения смотреть. Понимаю, что у командира там свои триплексы хуиплексы и ему направление ствола не мешает смотреть куда он хочет, но всеж. Да и ради одного мехвода, чтоб ему один раз было удобно залезть и один раз вылезть, тоже такое себе решение. Тейк про пушку вообще не понял.
Аноним ID: Партизанский Дуэ  26/03/25 Срд 19:37:10 #459 №9795311 
>>9795258
Че непонятного, это походное положение. Он и на войне 95% пути в нем ездит, а в мирное время 100%. Пушка в сторону чтобы не блокировать люк мехвода, он еще и головой наружу по-походному ездит. Там вон еще и блок ДЗ слева от пушки установлен иначе чем другие, опять же чтобы мехводу не мешать. При этом воздухозаборник остается по центру и это важно, потому что Т-80 даже в аэродинамической трубе продували, чтобы воздухозаборник поставить там где меньше всего пыли - за башней по центру
Аноним ID: Сметливый Сталин  26/03/25 Срд 19:43:30 #460 №9795319 
>>9795311
Все понял, спс. НО ВЕДЬ НЕКРАСИВО. присмотрелся еще к остальным тешкам, они тоже все кривые, хоть и не так явно. Пиздец, как развидеть?
Аноним ID: Амфибийный Хортен  26/03/25 Срд 23:24:59 #461 №9795739 
>>9795319
Красиво и очень практично: люк мехвода точно посередине, да и сам мехвод примерно в середине танка по обеим сторонам. Все помехи для удобного размещения его башки аккуратно убраны и эстетично замаскированы, а башня повёрнута на идеальный угол: конец дула орудия лежит на одной линии с правой гусеницей, чтобы танки можно было расставлять ровненькими шеренгами, они не мешались друг другу и не цеплялись стволами.
Представь себе как двести таких танков стоят бок о бок друг к другу, повернув стволы в одну и ту же сторону и занимая при этом минимальное место, и твой ОКР начнёт работать на тебя.
Аноним ID: Дозвуковой Вильгельм Маузер  02/07/25 Срд 14:15:23 #462 №10013790 
>>8113514
>АЗ в корпусе, в отличии от забашенной ниши, лучше всего защищен в танке и не открыт всем ветрам для ебки.
Боеприпасы на уровне пола - чо там по бронированию с бортов и по составу НЛД? Натовские подкалиберы 30мм залетаю оче плотно.
Аноним ID: Танталовый Эдмунд Хеклер  02/07/25 Срд 15:55:10 #463 №10013904 
>>10013790
БК на уровне пола = минимальная уязвимая площадь, бронирование бортов у всех танков слабое (причём у Т64-72-90 наибольшее), обеспечивается дз и решётками, в нлд вообще никогда ничего ни в какой войне не прилетало, натовские 30 мм ломы обосрались уже на т-62
Ты в свинабрамсе глянь влд, это мишень для фпв и фугасов, на симуляциях влд тупо рассыпается в пыль от 3оф22
Практика показала что БК в корпусе кратно уменьшает вероятность попадания равно кратно увеличивает выживаемость техники. Так было есть и будет всегда. Никакие панельки шторки и прочие сомнительные хуйни не работает, опять же опыт сво а не удобненькие испытания в бородатых годах.

Это все разобрали кому не лень десятки лет назад, на военаче оправдание башенной ниши это подписание под "я дебил". И дрочеров на всякие сверхтяжёлые БМПТБД тут тоже не любят.
Аноним ID: Танталовый Эдмунд Хеклер  02/07/25 Срд 15:57:06 #464 №10013909 
>>10013904
И эта влд максимум 50.8 мм. шторка занавеска 30 мм. Её разорвёт на куски от детонации даже не снарядов а пороховой шашки.
Аноним ID: Нестроевой Карл Гаст  02/07/25 Срд 16:34:19 #465 №10013954 
yoba.jpeg
>>10013904
>Школьник косит по олдфага
Забавное зрелище

>Ты в свинабрамсе глянь влд, это мишень для фпв и фугасов, на симуляциях влд тупо рассыпается в пыль от 3оф22
В симуляции много чего происходит. А в реальной жизни нет. Советские вучоные к 1980 коммунизм рассчитали, но что-то пошло не так ирл. Так и с Абрашей. Нет ни одного пруфа, что хоть один Абрамс откис от пробоя влд фугасом.

>Практика показала что БК в корпусе кратно уменьшает вероятность попадания равно кратно увеличивает выживаемость техники. Так было есть и будет всегда.
>Практика показала
Что куча совецких башнеметов метает башню при любом удобном случае. А во всех остальных превращается в пиромангал.

>Это все разобрали кому не лень десятки лет назад,
Именно на военаче, к слову, десятки лет назад придумали термины "башнемет" и "пиромангал". И они не про западные танки, ололо. Ты этого знать не мог, потому что еще в детский сад ходил, товарищ олдфаг.
Аноним ID: Сметливый аль-Багдади  02/07/25 Срд 16:43:51 #466 №10013967 
>>10013954
>Нет ни одного пруфа, что хоть один Абрамс откис от пробоя влд фугасом.
А часто они в танковых дуэлях участвовали?
>И они не про западные танки, ололо.
>пиромангал
Свидетель проводки, спокуха.
Аноним ID: Танталовый Эдмунд Хеклер  02/07/25 Срд 17:13:12 #467 №10014021 
>>10013954
>Что куча совецких башнеметов метает башню при любом удобном случае. А во всех остальных превращается в пиромангал.

Это называется черрипикинг, ошибка выжившего и меткого стрелка.
Западная техника практически не воевала в нормальных войнах. Стало быть объективных данных гораздо, гораздо меньше. Советская техника воевала постоянно каждый божий день. Со всем вытекающим.
При этом реальные фотовидео уничтоженной западной техники относительно недавние (те с нулевых) и при анализе ВНЕЗАПНО выясняется что они не только и не столько метают башню, сколько по швам расходятся. Так что ПИРАМАНХАЛЫ ещё прилично смотрятся. Да они хотя б до лбс доезжают лол.

Нет никакой внятной аргументации манякритиков БК в корпусе кроме постоянного повторения западной пропаганды и стереотипов РЯ БАШНЕМЁТ. Уже этом треде разбили в говно сторонников ниши, достаточно в начало пролистать.
По факту "башнемёты" являются лучшими танками в мире. Сторонников тонколюка прошу пройти нахуй и никогда никуда не возвращаться.
Аноним ID: Нестроевой Карл Гаст  02/07/25 Срд 17:14:41 #468 №10014022 
DestroyedIraqiT-62.jpg
>>10013967
>А часто они в танковых дуэлях участвовали?
Там ващет иракская Прохоровка была, просвещайся, нубло.
https://en.wikipedia.org/wiki/Battle_of_73_Easting

Жду маневров, что у Ирака не те экипажи. Вот были бы за рычагами советские срочники...
Аноним ID: Танталовый Эдмунд Хеклер  02/07/25 Срд 17:15:30 #469 №10014023 
>>10013954
>Нет ни одного пруфа, что хоть один Абрамс откис от пробоя влд фугасом.
Как нет ни одного пруфа что бронезанавеска и вышибные картонки работают по назначению.
Аноним ID: Танталовый Эдмунд Хеклер  02/07/25 Срд 17:17:05 #470 №10014024 
>>10014022
Приводить в качестве пруфов геноцид тапочников (который был с воздуха против страны с морально устаревшей пво) это конечно абсолютный вин.
Аноним ID: Строевой Тарас  02/07/25 Срд 17:43:02 #471 №10014054 
>>10014022
Экипажи может и те, а вот снаряды точно не те. Древние 3БМ15 против М1А1 без шансов. Впрочем пару абрамов ими умудрились сломать
Аноним ID: Настойчивый Чарльз Хэмбро  02/07/25 Срд 17:47:34 #472 №10014056 
>>10014022
Во-вервых, львиная доля иракских танков-это Т-55/62. А Т-72. поставленные туда- были экспортными, уровень плюс-минус "Чифтейн". Называть разгром такого войска укомплектованным, прикрытыми артиллерией и авиацией М1/ "Челленджерами" Прохоровкой/ величайшим танковым сражением 20-го века -это всё равно, что трахнуть за "Сникерс" семиклассницу за гаражами и всем рассказывать, что ты дохуя Дон Жуан и сердцеед.

>от были бы за рычагами советские срочники.
Как ни смешно, но - да. Иракцы заранее отдали любую инициативу янки и потому были обречены на отсос даже имей они на вооружении Боло Марк XXIV. Это аксиома, блядь. Они же даже после первых залпов не меняли позиции и не предпринимали ничего вообще.
Аноним ID: Нестроевой Карл Гаст  02/07/25 Срд 18:02:39 #473 №10014070 
16699017697470.png
>>10014024
>геноцид тапочников
Не те экипажи. Вот были бы за рычагами советские срочники...
Советские срочники будут сдавать свой экзамен через 3 года. В Чечне.

>который был с воздуха против страны с морально устаревшей пво)
Паста анона из соседнего треда:
У Ирака было одно из мощнейших (если не самое мощное) ПВО в регионе. Единая АСУ для ВВС и ПВО, включавшая не только беспроводную уязвимую радиосвязь, но и тысячи километров протянутых проводов. Сотни самолётов, готовых к боевому применению, включая четвёртое поколение.
Это лучше, чем любая страна варшавского пакта за минусом СССР. Ирак был региональной сверхдержавой, имевшей богатый военный опыт.

Впрочем, порридж, даже это не важно. Ты по ссылке-то пройди, почитай. Там было ебическое бронетанковое сражение, где авиация не роляла совсем. Наземная часть Бури в пустыне на людей в теме произвела куда большее впечатление, чем воздушная. В воздухе все было более-менее ожидаемо, хотя штелз (который нинужен) и управляемые АСП (тоже нинужны, Гефеста хватит) намного снизили расчетные потери коалиции и увеличили ударную мощь. А вот такого выступления по земле не ждал никто.

>Это называется черрипикинг, ошибка выжившего и меткого стрелка.
Мой мальчик, с твоей стороны это называется коупинг.
Попытка психики перекрыть реальность (не те экипажи, не то ПВО, не тот ТВД, а попробовали бы они такое под Москвой, и еще тысяча сверхманевренных маневров)
Аноним ID: Строевой Тарас  02/07/25 Срд 18:14:08 #474 №10014083 
>>10014070
После 92 года американцы смогли изучить настоящие советские танки, а не иракские Т-72М. Пришлось срочно рожать новые бронепакеты и снаряды
Аноним ID: Нестроевой Карл Гаст  02/07/25 Срд 18:14:25 #475 №10014084 
>>10014054
>Не те снаряды.

Не тот ТВД.
Не тот климат.
Не то ПВО.
Не то командование.
Не та логистика.
Не та связь.
Не тот РЭБ.
Не та оптика.
Не та разведка.
Не та политическая обстановка.
Не тот боевой дух.
Не та фаза Луны.
Не тот расклад карт Таро.

>>10014056
>Как ни смешно, но - да.
(Пост)советские срочники через 3 года себя показали в Чечне. особенно в Грозном.
Аноним ID: Бойкий Кэндзи Окабэ  02/07/25 Срд 18:45:15 #476 №10014126 
>>10014084
Дебич, не паясничай
>(Пост)советские срочники через 3 года себя показали в Чечне.
Против советских срочников
Аноним ID: Настойчивый Чарльз Хэмбро  02/07/25 Срд 19:51:15 #477 №10014218 
>>10014070
>Ирака было одно из мощнейших (если не самое мощное) ПВО в регионе
Тебя послать так же как того "анона" из треда, клован? Это зоопарк из устаревших советских и западных систем в руках ослоебов. И основной потужной силой этой хуйни, прикрывающей, буквально пару городов, лишённой дальнобойной компоненты, которую на лопатки кладет ПВО одного Ленинграда из 1975-го - была , сука, зенитная артиллерия! Да ещё и дырявая как решето.
Аноним ID: Строевой Врангель  02/07/25 Срд 22:20:40 #478 №10014405 
>>10014218
Вообще-то перед этим во Вьетнаме ствольная арта вполне себе набила большинство фрагов потому что меньше уязвима к РЭБ.
Аноним ID: Настойчивый Чарльз Хэмбро  02/07/25 Срд 22:47:17 #479 №10014428 
>>10014405
Вертолеты и винтовые самолёты зенитки вполне могут пиздить. Но не реактивную авиацию.
Аноним ID: Иррегулярный Михаил Толстых  03/07/25 Чтв 01:48:22 #480 №10014537 
>>10014405
>набила большинство фрагов потому что меньше уязвима к РЭБ.
нет потому что из-за пво кемеровская авиация что летало у земли. а вто появилось только под конец вьетнама.

>>10014428
>Но не реактивную авиацию.
и её без проблем
Аноним ID: Иррегулярный Михаил Толстых  03/07/25 Чтв 02:15:38 #481 №10014549 
>>10014537
>кемеровская
амеровская
как автоисправление работает пиздец просто
Аноним ID: Иррегулярный Михаил Толстых  03/07/25 Чтв 02:19:45 #482 №10014551 
>>10014024
рф уничтожила меньше пво и авиации у хохлов за 3 года. потеряв при этом куда больше.
Аноним ID: Слезоточивый Бартини  03/07/25 Чтв 02:48:45 #483 №10014562 
>>10014022
>у Ирака не те экипажи.
C преподом по истории Нового Времени спорил по этой теме, он вообще заявил, что иракцы бы изичах раскатали барена, если бы только не авиация.
Аноним ID: Оборонительный Масхадов  03/07/25 Чтв 03:54:35 #484 №10014586 
>>10014551
Пруфов кончено же не будет
Аноним ID: Суетливый Исраэль Таль  03/07/25 Чтв 05:58:21 #485 №10014609 
>>10014070
>>10014084
>>10014551
Так мы здесь обсуждаем бесполезность бронезанавесок и вышибных картонок или сюда десант из авиатредов высадился?
Аноним ID: Поршневой Чарльз Суини  03/07/25 Чтв 11:32:53 #486 №10014898 
>>10013904
Это поэтому сам же создатель карусели в корпусе в перспективных проектах хотел убрать снаряды в забашенную нишу? Потом конечно снова в корпус, но в любом случае отделенное от экипажа
Аноним ID: Поршневой Чарльз Суини  03/07/25 Чтв 11:38:39 #487 №10014910 
>>10014023
Вы уже себе параллельную вселенную придумали? Ты может лучше покажешь и докажешь, как снаряды в нише взрываются с пролом шторки? Потому что как раз много материалов про то, что заряды выгорают в нише без взрыва и экипаж покидает танк.
Аноним ID: Суетливый Исраэль Таль  03/07/25 Чтв 12:10:57 #488 №10014939 
>>10014898
Морозов никогда не был сторонником размещения БК в башне, все или почти все хрюковские проекты имели БК именно в корпусе. Правда Морозов в своё время забуксовал, куда-то свернул не туда и путь его стал замысловат, слава богу все хрюковские шизопроекты шибко не финансировались ибо метафизически это классическое наебалово гоя от хохла для распила бабла.
>>10014910
Ищи сам видосы, много их было, хохлы вообще покидали танк после первого прилёта что кагбэ намекает на "живучесть" техники. А на последующих видосах БК рвонькал так, что горела вся башня. И был ещё видрил, где сгорело 3 хохла в башне, а последний мехвод догорел снаружи. Такая швятая спасительная занавеска, что спасла мехвода от пидорашьего мира.
А ещё жопадные танки имеют 4 члена экипажа. те +1 потенциальный труп.
sageАноним ID: Heaven 03/07/25 Чтв 12:20:18 #489 №10014952 
>>9633889
>но у нас на МИ-шках детали между машинами отличаются и могут не встать в соседнюю
Еще веселее дела обстоят с самолетами. Су-30М2 и Су-30СМ общего вообще ничего не имеют кроме схожего внешнего вида и индекса.
Аноним ID: Поршневой Чарльз Суини  03/07/25 Чтв 14:26:32 #490 №10015186 
>>10014939
Были проекты и объекта 490, и в молоте должен был быть забашенный автомат. Это уже при его сыне было, но и сам Морозов где-то в дневниках оценивал идею забашенного БК как возможную в будущем.
В том видео, где все сгорели кроме мехвода очевидно, что шторка была открыта. Но с автоматом заряжания такая ситуация будет исключена - экипаж в башне защищён от пожара точно, а вероятность взрыва сильно уменьшается, потому что не будет высокого давления и температуры от которых взрывчатка в снарядах сдетонирует. Мне интересно увидеть сам взрыв в нише с закрытой шторкой, но пока это не попало на видео. Хотя американские тесты хм803 говорят о том, что взрыв 155мм кумуля шторка выдерживала.
Аноним ID: Суетливый Исраэль Таль  03/07/25 Чтв 14:45:55 #491 №10015203 
>>10015186
>объекта 490
БК из 152мм УНИТАРОВ в корпусе. Сам же Морозов придумал коэффициент выживаемости техники, где при поражении БК он был равен 0.9, те это по сути одномоментный кирдык танку. Добавляем разутый трак и получаем стабильный РВОНЬК
Мне интересно как Морозов в этом 490 собирался проводить техобслуживание, лол. Это буквально одноразовая хрень, там даже экипаж из 2.
>экипаж в башне защищён от пожара точно, а вероятность взрыва сильно уменьшается, потому что не будет высокого давления и температуры от которых взрывчатка в снарядах сдетонирует
Где он там защищён от пожара? В леклерке и пантере там просто резинка стоит и всё. Никакой изоляции пушки там нет, ибо нужна продувка и техобслуживание. А ещё все снаряды там развёрнуты лбом к экипажу. то есть при детонации они буквально сносят ебала всем в башне.
А ещё следует различать сверхзвуковое горение (взрыв) и дозвуковое. От детонации никакая шторка и изоляции никогда не помогут если не десяток два метров.
>но пока это не попало на видео
В йемене, ираке и турции швабрамсы и лепэрдэ разрывались ток так. В йемене и ираке были видрилы.
>Хотя американские тесты хм803 говорят о том
Они говорят только о том, что хотят видеть, а не что будет на самом деле.
Аноним ID: Суетливый Исраэль Таль  03/07/25 Чтв 14:48:58 #492 №10015206 
>>10015186
>>8113514
Ну шо допомохла тоби твоя бронезанавеска сынку?
Аноним ID: Поршневой Чарльз Суини  03/07/25 Чтв 14:57:54 #493 №10015215 
>>10015206
Я не видел ни одного видео, где бы взрывались снаряды в нише, если ты видел, то принеси конечно.Турецкие леопарды рвонькали от взрыва бк в корпусе, во всех других видео это пожары бк от которого шторка вполне спасает.
Аноним ID: Слезоточивый Бартини  03/07/25 Чтв 15:12:57 #494 №10015232 
>>10015215
>пожары бк от которого шторка вполне спасает.
если там нет ОФС
Аноним ID: Двухтактовый Курт Штудент  03/07/25 Чтв 15:25:24 #495 №10015248 
>>10015232
Херота. Мельком глядел кой какие интересные пдфшки, ВЗДРЖНИ ЭФФЕКТЕ!!1 с полным кровькишкираспидорасило дает связка ОФС + БКС, сам по себе ОФС в целом может даже не бабахнуть ибо толстостенный, бумажная гильза выгорает, а самому снаряду зачастую насрать. Но это у тэшек с раздельно-гильзовым, как там у буржуев - хуй знает лол.
Аноним ID: Строевой Тарас  03/07/25 Чтв 15:35:35 #496 №10015259 
>>10015215
Это еще смотря как пожар приключился. Все это шторкобесие работает как надо при поражении конкретно ниши строго сбоку, сверху, сзади. Что вообще странно для танка. А вот если в ебало пробить или под углом сбоку-спереди, то в шторке приключится дырочка и расширяющиеся продукты горения охотнее побегут в дырочку вместо толкания вышибных панелей
Аноним ID: Слезоточивый Бартини  03/07/25 Чтв 15:40:58 #497 №10015266 
>>10015248
Струя кумы и ОФС возьмёт
Аноним ID: Суетливый Исраэль Таль  03/07/25 Чтв 15:49:25 #498 №10015275 
>>10015232
ОФС не влияет, она не спасает ни от чего, пиздануть может шашка что она обычно и делает
>>10015215
Я буквально сослался на пост выше.
>>10015259
Сбоку спереди надо броню проломить насквозь в первую очередь и иметь достаточное бронепробитие после
Аноним ID: Суетливый Исраэль Таль  03/07/25 Чтв 15:52:36 #499 №10015277 
>>10015232
плюс как я уже сказал, у нато фугасов 1,5 штуки, ибо у них вся доктрина настроена воевать против других танков.
sageАноним ID: Heaven 03/07/25 Чтв 16:06:51 #500 №10015294 
>>10015266
Именно. Но и бкс в целом непонятно нахуя нужен вообще, по лбм можно и фугасом без колпачка ебнуть, а для танков есть лом.
Аноним ID: Поршневой Чарльз Суини  03/07/25 Чтв 17:19:19 #501 №10015388 
>>10015232
Там есть кумулятивы с 1,5кг взрывчатки и их в укладке там много. Плюс ко всему прочему, потушить пожар в нише проще, потому что там не сидит экипаж. А взрыва в нише с выбитой шторкой вы пока так и не принесли.
Аноним ID: Картечный Башар Асад  03/07/25 Чтв 17:46:49 #502 №10015421 
>>10015388
>А взрыва в нише с выбитой шторкой вы пока так и не принесли.
Расскажи, а как ты такое принесешь? Когда сгоревший абрамс стоит. Расскажи, как же там должны увидеть взрыв панельки?
Аноним ID: Слезоточивый Бартини  04/07/25 Птн 02:06:41 #503 №10015890 
>>10015388
>А взрыва в нише с выбитой шторкой вы пока так и не принесли.
сразу как ты принесёшь нишу с ОФС, которая принимала участие в БД.
Аноним ID: Слезоточивый Бартини  04/07/25 Птн 02:31:08 #504 №10015896 
>>10015277
Ну тогда зачем копротивляться за шторку с унылыми доводами?
Аноним ID: Иррегулярный Михаил Толстых  04/07/25 Птн 04:50:16 #505 №10015972 
>>10014609
>Так мы здесь обсуждаем бесполезность бронезанавесок и
могу побсуждать отсутствия у тебя мозга.
Аноним ID: Иррегулярный Михаил Толстых  04/07/25 Птн 05:01:44 #506 №10015974 
>>10015215
>видео испытания абрамаса лол.
кумулятивы и фугасы не всегда детонируют как они рассчитаны на возгорание пороховых зарядов.
https://www.youtube.com/watch?v=yG0zpGCLaVQ[РАСКРЫТЬ]

и вишенные панели + снижение детонации при возгорание пробит уже должны быть и на автопушках/арте/птурах и тд.
Аноним ID: Иррегулярный Михаил Толстых  04/07/25 Птн 05:03:38 #507 №10015975 
>>10015294
кумулятивный универсальны.

>>10015974
+ благодаря пынерастам ютуб/иностранные сайты плохо рабатает даже через прокси.
Аноним ID: Суетливый Сергей Костин  04/07/25 Птн 07:44:39 #508 №10016030 
>>10015421
Изначально речь шла про видео. На нем ведь будет видно было это взрыв или пожар. А по фото: ну если видна проломанная шторка , значит взрыв её сломал и она не помогла. Если она целая или открытая, то взрыва не было. Все же просто.
Аноним ID: Десантный фон Кюхлер  04/07/25 Птн 10:07:39 #509 №10016240 
>>10015890
Был же леопард с ними в боеукладке. Но и так, они всю историю возили многоцелевые кумулятивы, там тоже взрывчатка есть, но взрывов все равно не запечатлено пока что.
Аноним ID: Штатский Кейтель  20/07/25 Вск 14:06:04 #510 №10042229 
>>10013904
Мины? не, не слышал.
Аноним ID: Окопный аль-Багдади  20/07/25 Вск 17:08:23 #511 №10042507 
>>10016240
>Был же леопард с ними в боеукладке. Но и так, они всю историю возили многоцелевые кумулятивы, там тоже взрывчатка есть, но взрывов все равно не запечатлено пока что.
У детей если танк не потерял башню - то не уничтоженный. Я бы другое попросил, где ловкие западные танки ловко едут до москвы посмотреть?
Аноним ID: Окопный аль-Багдади  20/07/25 Вск 17:08:47 #512 №10042508 
>>10042229
>Мины? не, не слышал.
И что с ними, подскажи.
Аноним ID: Снайперский Нгуен Тун  20/07/25 Вск 22:23:53 #513 №10043092 
>>10042507
Ой вей, обсуждали, что лучше жизнь экипажу сохранит и дольше пожить в бою даст. Причем здесь оторванные башни?
Аноним ID: Артиллерийский Чан Кайши  20/07/25 Вск 23:27:58 #514 №10043341 
>>10042507
>У детей если танк не потерял башню - то не уничтоженный.
топливная система и пожаро безоопасность у тешек тоже хуже.
Аноним ID: Удушающий Карлос Хэскок  22/07/25 Втр 06:03:45 #515 №10044860 
>>10013904
> И дрочеров на всякие сверхтяжёлые БМПТБД тут тоже не любят.

Клоун, съеби отсюда, и не выдавай свое мнение полуебка из за кзакрепа за мнение доски в целом
Аноним ID: Бригадный Нгуен Тун  22/07/25 Втр 06:33:03 #516 №10044870 
Тяжёлая БМП звучит интересно. Только непонятно зачем нужно БМП с ценником танка без танковых возможностей.
Аноним ID: Артиллерийский Чан Кайши  22/07/25 Втр 06:34:26 #517 №10044871 
>>10044870
возить пехоту даун.
Аноним ID: Элитный Сергей Луганский  22/07/25 Втр 09:07:34 #518 №10044930 
>>10044870
Почему за цену танка? Там лишь корпус от танка обвешанный дз и мангалом, двигатель оставить какую-нибудь вариации в-2, суо дорогого танкового там не будет. С херов такая бмп будет стоить как танк?
Аноним ID: Окопный аль-Багдади  22/07/25 Втр 10:11:16 #519 №10044989 
>>10044930
>Почему за цену танка? Там лишь корпус от танка обвешанный дз и мангалом, двигатель оставить какую-нибудь вариации в-2, суо дорогого танкового там не будет. С херов такая бмп будет стоить как танк?
Ну тупые, не ставят дешевые двигатели на танки.
Аноним ID: Десантно-штурмовой Николай Сутягин  23/07/25 Срд 02:40:33 #520 №10046271 
>>10044870
>Только непонятно зачем нужно БМП с ценником танка без танковых возможностей.
а с чего бы танковый ценник если нет башни и её начинки прицелов, СУО, 125мм пушки и.т.д
И ТБМП не мешает делать из неликвидных танков
Аноним ID: Бригадный Нгуен Тун  23/07/25 Срд 09:28:06 #521 №10046496 
>>9659808
Дешевле и быстрее производились.
Аноним ID: Урановый Маршалл  23/07/25 Срд 11:22:07 #522 №10046596 
>>8112660
У них блять кумулятивы от кумулятивной не детонируют, а дефлагируют, взрывное горение. В чем проблема и нам сделать аналог comp A? Как по мне лень клерк и с АЗ самый лучший, подробности не знаю, но кажись там казенник герметичен при заряжание, чтобы если ебнуло все газы через створки и ствол.
Аноним ID: Артиллерийский Итокава  23/07/25 Срд 12:48:04 #523 №10046719 
>>10046596
>подробности не знаю
Поэтому не знаешь что бронезанавеска и вышибные картонки не работают, или дают ничтожный эффект что гораздо лучше спрятать бкшку на дно корпуса.
>но кажись там казенник герметичен при заряжание
Резинкой он там прикрыт. Интересно как натовские ыксперды будут говорить про передовую швитую защитную противопожарную резину.
Аноним ID: Артиллерийский Итокава  23/07/25 Срд 12:53:55 #524 №10046728 
>>10046596
Напомню что все эти панельки и перегородки были созданы как ответ на раш Т-64. По сути вся западная школа танкостроения - это школа самоходных противотанковых артиллерийских установок которая концептуально провальна, потому что проигрывает тем же птурам.

Все западные "танки" - это хеллкеты и росомахи. Брони нет, подвижности нет, выживаемости нет, чисто одноразовая хрень с хорошей суо и тепловизором, чтоб заряжающий мог на наркоте пихать снаряд за снарядом из гигантской бк первой очереди - т.е. ниши. Находясь в окопе и гоняя между ними по заранее проложенным галькой маршрутам в фульде. Бесспорно хорошие машины для узких условий
Аноним ID: Урановый Маршалл  23/07/25 Срд 13:00:54 #525 №10046741 
>>10046728
Да хуйня это, типо чисто ПТ, они MRAP должны и против вертолётов использовать, зачем делать радиовзрыватель к кумулятиву? Полтора кг взрывчатки все ещё остаётся полтора кг взрывчатки, а че они не делают чисто фугасные с осколками йа не знаю... Немцы ведь тоже использовали бронебойные и кумулятивные да? Фугасы были, но чаще кумулятивы вроде бы. Да и вспомнил, что они картечные и шрапнельные боеприпасы сделали ещё.
Аноним ID: Урановый Маршалл  23/07/25 Срд 13:05:31 #526 №10046742 
17532648595977407.jpg
175326487852843026.jpg
175326453988933818.jpg
175326444273167102.jpg
>>10046719
Она же не сгорит моментально? Там слой наверное нихуевый, только её же порвёт все равно от фугасности. А япошки как сделали автомат на своих новейших? И про картонки как по мне странно, почему они не работают? При дефлаграции ТМ 62 даже пару мм горение не способно пробить, только деформировать жёстко, так что те 30 мм стали закрывающие экипаж от ужасной смерти вполне себе справиться хоть с 50 кг взрывчатки, лишь бы она не сдетонировала, а сгорело быстро быстро! Остаётся проблема че делать, когда она не закрыта.
Аноним ID: Артиллерийский Вацлав Холек  23/07/25 Срд 17:47:51 #527 №10047262 
>>10046728
>Брони нет, подвижности нет, выживаемости нет, чисто одноразовая хрень с хорошей суо и тепловизором

Ебать дебил. Меньше сиди в закрепе. Все западные танки, сделанные в ответ на т-64 (т.е. все со 120 мм пушкой и ранний абрамс со 105) как минимум превосходят этот самый т-64 по всем вышеупомянутым критериям. Т-72б и Т-80у уровняли по лобовой броне, но не по подвижности и выживаемости экипажа, т.к. суть тот же башнемет. По суо там вообще тьма отстоавание было и в ссср его так и не догнали, особоенно по возможностям командира.

Это конечно же все справедливо на момент холодной войны в европе без дронов и крышебоев. Сейчас все танки без наваренного гаража сверху +- одинаковый кал одноразовый, но из лео и абраши хотя бы эвакуироваться можно не обгорев, а из тешки как повезет
Аноним ID: Мелкокалиберный Сергей Мосин  23/07/25 Срд 18:38:19 #528 №10047334 
>>10046728
> Напомню что все эти панельки и перегородки были созданы как ответ на раш Т-64.
Какой ещё раш, лол. т-64 танк нового поколения, а запад так и застрял в 40х.
Он превосходил качественно, а не количественно.
Догнать его пытались экстенсивным путем, тупо павесии болши брани ыыыы, получая изделия которые были хуже предыдущих, поэтому любой из западных говнотанков, созданный как "ответ" на условный "т-64" во всём ему уступал.
Вплоть до 90х запад варился в шизоидном манямирке, где у москалей только гомогенная броня, а когда в 90е получили образцы техники из гсвг и сплошной нихт дуршлаген даже без ДЗ пошла эпидемия судорожного пихания в броню радиоактивных отходов и замуровывания мехвода броневоздухом.
Аноним ID: Артиллерийский Итокава  23/07/25 Срд 19:34:53 #529 №10047417 
>>10047334
>Какой ещё раш, лол. т-64 танк нового поколения, а запад так и застрял в 40х.
Ты жопой читал?
>Он превосходил качественно, а не количественно.
Ясен пень Т-64 до сих пор остаётся концептуальным истребителем однако СССР наголову превосходил ещё и по количеству техники особенно в ГСВГ.
>получая изделия которые были хуже предыдущих
Абрамс гораздо лучше дерьма в виде M60, леопард 2 наголову выше первого леопарда
>созданный как "ответ" на условный "т-64" во всём ему уступал.
Он ему уступал как танк но задача абрамса - отстрел танковых масс имея при этом значительно более качественную СУО из-за тепловизора и броню башни которая на моменте появления никаким бопсом не билась, картонный корпус прятался за насыпь и всё. Это ПТ-САУ, а не танк.
>броню радиоактивных отходов
Обеднённый уран безопасен
Аноним ID: Артиллерийский Итокава  23/07/25 Срд 19:47:25 #530 №10047438 
>>10046742
Отсыревшая тмка с древнего склада отличный просто пример, теперь сравни это с упаковкой пороха и взрывчатки за символической занавеской без брони сверху боков и зада, куда раз за разом будет прилетать фпв птур осколки что угодно, даже просто сломит ударной волной от фугаса
Идея об изоляции бк провальна ибо работает только в условиях по сути полигона, реальный плюс ток в том что это гигантский бк первой очереди, который быстро отстреливается что кагбэ уже обнуляет бронешторку, которая будет открыта примерно всегда.
А ещё вспоминаем, что экипаж из 4, а не 3. На каждые 3 абрамса будет не меньше 4 Т-64. То есть танков тупо будет больше, а удельная смертность экипажа ниже, корпусный бк уменьшает вероятность попадания, стало быть реально ещё больше увеличивает выживаемость танка и экипажа. Даже сейчас подавляющее большинство прилётов в башню
Далее миф о "башнемёте" был придуман на западе, а также разогнан своими паникёрами, либерахами и прочими национал-пораженцами которые из-за черрипикинга и тупых лампасов в чечне пришли к ложным выводам. В действительности как только западные танки стали массово применяться (нулевые до сейчас) то стали метать башню очень часто, а то и вообще рваться на куски, сгорать от попадания в вынесенную (лол) ВСУ.

>>10047262
>но из лео и абраши хотя бы эвакуироваться можно не обгорев

Ага щщщщщаззз, с пруфами был прилёт в лепэрдэ фэпэвэшки в самую корму башни, вспыхивание бк единомоментно, вылез только мехвод сгорая заживо
В других случаях хохлы сразу сбегают после первых попаданий отдавая по сути танк нам в целости и сохранности что КАГБЭ НАМЕКАЕТ на реальную "выживаемость" западных танков, то есть отсутствующую.
Аноним ID: Урановый Маршалл  23/07/25 Срд 19:57:38 #531 №10047448 
>>10047438
Слушай я не очень часто видел видосы или фотки как западным башням отрывает башню, а если отрывает наверное это 5-10 снарядов которые внутри башни под боком заряжающего. По поводу не работающей заслонке ты преувеличиваешь, я ебать полной детонации не могу добиться 5 гр кисы внутри 100 гр амт, с Крит диаметром вся хуйня, а здесь от кумулятивной струи или от фугаса должно взорваться ВВ, которое специально сделали с низкой чуйкой. Про пороха ваще хуйня, у них нету бризантности, извини канечно, что считаю, якобы ты не разбираешься в чем различие между фугасностью и бризантности, но ты же знаешь? Мне в тг отправляли типо чуйка разных ВВ, тнт от кумуля детонирует, comp b тоже, да comp b даже от пули может дефлагиновать, а вот comp A который специально сделали из чего-то там как нам утверждают янки не должен иметь такую чуйку. J W раздобыл где-то небольшое количество, но на чуйку он проверять не стал.
Аноним ID: Броненосный Степан Бандера  23/07/25 Срд 20:06:46 #532 №10047462 
>>10047262
Меньше сиди на канале дискавери. Первая СУО современного типа с подвесом на гироскопах и вычислителем была 1А33. Т-64Б, 1976 год, ХМ1 только выползает на полигон
Аноним ID: Артиллерийский Вацлав Холек  23/07/25 Срд 20:18:53 #533 №10047475 
>>10047438
> что КАГБЭ НАМЕКАЕТ на реальную "выживаемость" западных танков, то есть отсутствующую

У тешек она еще ниже. Любое заброневое воздействие там однозначно или убьет экипаж, или подожжет тонкие жестяные баки которые расположены внутри без всякой брони и не в изолированных отсеках, либо заденет боеукладку. Либо все и сразу. Не говоря уже о том, что немцы например запаривались над низкочувствительными порохами, а для тешек в этом направлении не делали ни ху я


И да кстати укрофил Морозов был вредителем со своим т-64, так же как и его покровитель хрущ. Нормальные танки делали например на Урале и в Ленинграде, например т-10 и объект 770 которые были на голову выше говна 430>432>т-64. Если бы им только дали развиваться в свое время
Аноним ID: Артиллерийский Вацлав Холек  23/07/25 Срд 20:22:24 #534 №10047481 
>>10047462
Ого, круто, суо. А что по ночным приборам наблюдения? Можешь не отвечать, вопрос риторический
Аноним ID: Броненосный Степан Бандера  23/07/25 Срд 20:31:44 #535 №10047497 
>>10047481
Да, круто. Аналогичную американцы через 5 лет получили. Ночные приборы не столь критичны, т.к. удивительным образом нужны только ночью
Аноним ID: Артиллерийский Итокава  23/07/25 Срд 20:32:34 #536 №10047500 
>>10047448
Ну погугли, пошарься по телегам, всё найдёшь
>это 5-10 снарядов
В которые ещё попасть надо
>башни под боком заряжающего
Под боком заряжающего меньше чем в метре та самая башенная ниша и бронешторка, которая почти всегда открытая.
>По поводу не работающей заслонке ты преувеличиваешь
Чтобы шторка работала, надо стрелять пару тройку раз в минуту максимум, в норматив заряжающий так не уложится
>Про пороха ваще хуйня, у них нету бризантности
Причём тут бризантность когда от разъёба бк или даже обычного горения всё давление разорвёт полбашни и порвёт на куски/зажарит одномоментно экипаж?
Ты пойми разницу между теми граммами которые у тебя и у десятков кг боеукладки.
>>10047462
А тепловизер, тепловизер-то когда у ссср массово на танки запополз??
Аноним ID: Броненосный Степан Бандера  23/07/25 Срд 20:34:51 #537 №10047503 
>>10047475
С тех пор как танки стали дизельные бак-стеллаж обычное дело. Приколись, соляра не горит от искры. В таких стеллажах она наоборот препятствует возгоранию снаряда
Аноним ID: Артиллерийский Вацлав Холек  23/07/25 Срд 20:35:35 #538 №10047505 
>>10047462
З.ы. Т-64б не было в 1976 году, а был только принят т-64а, но даже т-64а на тот момент было невозможно уничтожить ничем из арсенала нато, кроме пожалуй авибомб и тяжелых вертолетных птуров с пробитием за 600 гомогенки поэтому про заброневое воздействие снаряда конструкторы не думали. Так что такая компоновка была оправдана, ибо танк нужен был здесь и сейчас для большой войны в Европе, которая уже подразумевала ядерные взрывы и большие потери, а коэффициент рождаемости же выглядел немного иначе

Но не сейчас, сейчас классическая компоновка с лучшей обитаемостью того же т-62 или леопарда имеет превосходство. Хотя канеш лучше всего армата или вообще роботизированный танк, но это пока из разряда фантазий
Аноним ID: Артиллерийский Вацлав Холек  23/07/25 Срд 20:39:49 #539 №10047511 
>>10047503
Охуительные истории. Именно поэтому на терминаторе топливо в изолированных бронированных отсеках сделали?
Аноним ID: Обороняющийся Вячеслав Малышев  23/07/25 Срд 20:42:12 #540 №10047516 
Т-64Б 1975.gif
>>10047505
Аноним ID: Артиллерийский Итокава  23/07/25 Срд 20:42:26 #541 №10047518 
>>10047475
>Любое заброневое воздействие там однозначно или убьет экипаж
А у швитого лепэрдэ или швабрамса оно что ли с помощью всевышнего дяди сэма уйдёт под землю?
>либо заденет боеукладку
У швитых вообще бк вынесена на всеобщее обозрение, весело. Забавно что на опыте вынесенной всу был жиденький обсёр от простого дшк. Потом пришлось роняя кал её убирать... в корпус. Сколько лет интересно пиндосам понадобится такое для бк?
>И да кстати укрофил Морозов был вредителем со своим т-64
Морозов был нормальный человек а не какой-то бандеровец, это раз. К слову все его проекты имели БК в корпусе, даже тот самый об 490 который типа "танк сверхнового поколения" (нет). Т-64 в своё время был прорывным нагибатором, им же остаётся и по сей день в лице Т-72, 80, 90.
А ты во первых тупой шовнист по отношению к советскому/русскому человеку а во вторых насасываешь швятому барену с его вышибной фольгой и бронезанавесками, хотя эту хуйню никто всерьёз никогда не воспринимал в т. ч. увз. У нас только омичи этой фигнёй маялись, слава богу уже нет.
Ты ещё начни бредли перед тройкой превозносить. Если начнёшь то твоя национальная принадлежность будет очевидна
Аноним ID: Броненосный Степан Бандера  23/07/25 Срд 20:50:39 #542 №10047536 
>>10047511
Да, поэтому. У него танковых выстрелов нетути
Аноним ID: Артиллерийский Вацлав Холек  23/07/25 Срд 21:05:00 #543 №10047552 
>>10047518
>швитого лепэрдэ или швабрамса оно что ли с помощью всевышнего дяди сэма уйдёт под землю?
Сколько леопердов и абрашей пукнуло и обмякло выстрелив башне превратившись в груду коричневого сгоревшего металла,м, почему их практически все отправленные в итоге растащили по всяким паркам патриотам с выстрелившей тобишь сработавшей вышибной панелью? Неудобный вопрос, понимаю.

>У швитых вообще бк вынесена на всеобщее обозрение, весело.
Западные танки третьего поколения проектировались для оборонительной войны на полях центральной Европы в 80е когда у потенциального противника не было крышебоев даже в проекте, почему же боеукладка вынесена в жопу танка на всеобщее обозрение, даже не знаю

Кстати боеукладка тешки подрывается при попадании фпв дрона между крышкой мто и погоном башни, за пруфами сходи на лост во времена когда хохлы еще пренебрегали мангалами

> Т-64 в своё время был прорывным нагибатором, им же остаётся и по сей день в лице Т-72, 80, 90.
Много смеха

>хотя эту хуйню никто всерьёз никогда не воспринимал в т. ч. увз.
Ебать нашел кого в пример приводить. Увы, верне укбтм никогда вообще ничего не разрабатывал, манюнь, они только проводили модернизации когда им давали со словами жрите все дают. Т-55, 62, 80, 90 это все глубокие модернизации. Так укбтм до сих пор ни одного полностью своего танка с нуля в серию не пустил

У нас то
Аноним ID: Самоходный фон Лееб  23/07/25 Срд 21:06:52 #544 №10047556 
>>10047552
>все отправленные в итоге растащили по всяким паркам патриотам

и сколько их в парках патриотах?
Аноним ID: Десантно-штурмовой Николай Сутягин  23/07/25 Срд 21:08:18 #545 №10047558 
Screenshot20250723-215604.png
Screenshot20250723-215658.png
>>10047503
>Приколись, соляра не горит от искры
Ну от попаданий дизель горит, пик 1 и пик 2 из
ИССЛЕДОВАНИЕ ПОЖАРООПАСНОСТИ ТОПЛИВА НА ОСНОВЕ ВОДОТОПЛИВНОЙ ЭМУЛЬСИИ
Вестник бронетанковой техники. 1989. № 03
Аноним ID: Артиллерийский Вацлав Холек  23/07/25 Срд 21:08:46 #546 №10047560 
>>10047556
Больше чем хохляцких тешек
Аноним ID: Обороняющийся Вячеслав Малышев  23/07/25 Срд 21:11:19 #547 №10047568 
>>10047552
>Т-55, 62, 80, 90 это все глубокие модернизации

80-ка это вообще Ленинград, а про 72 ты тактично умолчал.
Уровень знаний зашкаливает. Продолжай в том же духе на другой доске.
Аноним ID: Артиллерийский Итокава  23/07/25 Срд 21:17:28 #548 №10047581 
>>10047552
>Неудобный вопрос, понимаю.
Самый удобный потому что хохол уже давно не ездит на западном говне, которое быстро кончилось даже не на передке.
Ещё одно из огромных преимуществ наших тешек - маленький вес.
>Западные танки третьего поколения проектировались для оборонительной войны на полях центральной Европы в 80е когда у потенциального противника не было крышебоев даже в проекте, почему же боеукладка вынесена в жопу танка на всеобщее обозрение, даже не знаю
Ну то есть ты ебан просто пересказал самого же меня, молодец
>Кстати боеукладка тешки подрывается при попадании фпв дрона между крышкой мто и погоном башни
А швятая бк лепэрдэ и швабрамса что ли начинает водой мироточить? В неё значительно проще попасть от арты до птрк и фпв. Забавно что сами хохлы приваривали листы металла к вышибным панелям потому что они даже миномётку 120 не выдержат.
>Много смеха
Учи историю свыня, многое про швятого барена узнаешь неугодного
>Так укбтм до сих пор ни одного полностью своего танка с нуля в серию не пустил
А барен твой много выпустил? Ну хотя бы корпусов для швабрамсов?
Аноним ID: Артиллерийский Вацлав Холек  23/07/25 Срд 21:20:10 #549 №10047584 
>>10047568
72, 80 это модернизации 64, че сказать хотел? Т-72 вообще-то начинался с мобилизационной версии т-64 с классическим дизелем, который должен был выпускаться только на случай войны, но заводу удалось туда продавить свою ходовую и автомат заряжания, которые они готовили для модернизации т-62 да еще и как-то это все в серию пустить (скорее всего под предлогом экспортного танка)

Именно из-за морозовского лобби кстати Ленинграду обломили кучу годных проектов тяжелы танков в т.ч. газотурбинных, из-за этого прогресс танкострония в стране застопорился, потому что каждое кб начало доводить сырой огрызок под себя, а лкз в итоге запомнился тем, что выпустил самую годую ходовую часть и гусеницу и поставил ее опять же на морозовское поделие, а не на свой танк как планировалось

> Уровень знаний зашкаливает
Да уж побольше твоего
Аноним ID: Артиллерийский Вацлав Холек  23/07/25 Срд 21:21:07 #550 №10047586 
>>10047581
Политопущ, ты раздел перепутал чтоли? Баранов в другом месте обсуждают
Аноним ID: Артиллерийский Итокава  23/07/25 Срд 21:21:26 #551 №10047587 
>>10047560
Пока я раз за разом расписываю базу которую поняли за полвека до меня, ты перемогаешь трофеями в парках. Все конструкторы, инженеры наверное в ахуе сейчас, вот как надо то на самом деле.
>>10047568
Превознесение баренов прямо пропорционально отсутствию мозгов.
Аноним ID: Артиллерийский Итокава  23/07/25 Срд 21:26:05 #552 №10047593 
>>10047586
Это констатация факта - ты просто поклонник баренов с их броневоздухом, бронезанавеской и вышибной фольгой. Эта хуйня не нужна нормальному танку и ни от чего не спасает, это результат отставания танкостроения запада от ссср на десятки лет и заточенность на очень узкие почти полигонные условия.
Аноним ID: Артиллерийский Вацлав Холек  23/07/25 Срд 21:41:42 #553 №10047616 
>>10047593
Карусель хуйня априори, ее раскритиковал сам мороз в своих записках. Карусель подрывается от попадания дрона между крышкой мто и погоном башни точно также как и бк в нише западных танков. Все маняпроекты Морозова с изолированным бк в корпусе ни к чему не привели. Арматы можно еще 10 лет ждать, толку нет. Это тупо факты, с которыми ты не поспоришь, потому что это аксиома. Следовательно выбирая из двух зол меньшее, выбираю схему леопёрда, естественно без бк в корпусе. Эту схему кстати выбрали во всем мире и в т.ч. китайцы на тип-15 и даже вероятно северокорейцы на чхонме-2 (вот уж от них не ожидал). Зато башнемет новый чет никто не торопится делать. Ну тупыыыые. Надо подождать пока чхонма-2 доедет до сво, сразу такое размещение бк станет кошерным

Ну давай высри еще что-нибудь про баренов
Аноним ID: Десантно-штурмовой Николай Сутягин  23/07/25 Срд 21:50:39 #554 №10047620 
>>10047584
>Увы, верне укбтм никогда вообще ничего не разрабатывал >Т-55, 62, 80, 90 это все глубокие модернизации.
>80-ка это вообще Ленинград
>80 это модернизации 64
>че сказать хотел?
А ты чё сказать то хотел тем что т80 это модернизация Т64? Если у тебя особо одаренного спросили с какого перепуга ты закинул Т80 в Тагильскую копилку техники?
Аноним ID: Самоходный фон Лееб  23/07/25 Срд 22:39:34 #555 №10047738 
>>10047616
>Карусель хуйня априори

Ну то есть тебе хочется чтоб было хуйнёй, но аргументация у тебя жидкая, поэтому ты добавил слово априори. (и ещё каких-то беспруфных вскукареков). Ещё можно сказать "общеизвестно", "по факту" и так далее.

>выбираю схему леопёрда, естественно без бк в корпусе. Эту схему кстати выбрали во всем мире

И на это пруфов тоже нет. Ну то есть это физически невозможно, весь БК в нишу помещался только на Абрамсе со 105мм пухой. И то укладка была поделена на 2 части, доступна была только одна. В том же Леклерке в нишу влезло 22 выстрела механизировано, а в об 640 максимум 34, при этом конвеер МЗ торчал из-за лобовой брони в бока.
Аноним ID: Броненосный Степан Бандера  24/07/25 Чтв 01:19:07 #556 №10047965 
>>10047616
Заебись сравнил попадание между тем-то и тем-то под определенным углом и тупо ахуенный аэродром для дронов в половину башни, влетай как угодно с любой стороны.
Ну и про китайцев ожидаемо напездел, у них основной танк с каруселью от Т-72
Аноним ID: Сметливый Колин Грей  24/07/25 Чтв 07:17:45 #557 №10048200 
>>10047738
>это физически невозможно
Физически невозможно просто не брать БК в корпус?
Ну пиздец проблема, видимо для танкистов с iq 15.
Аноним ID: Самоходный фон Лееб  24/07/25 Чтв 10:13:59 #558 №10048318 
>>10048200
>Физически невозможно просто не брать БК в корпус?

Можно вообще не брать БК, шах и мат. Слабо увидеть какие-то минусы, айкью хватает?
Далее, как ты собрался 120мм и 105мм унитары в карусель запихивать-хуй знает. Видимо, отмена геометрии на ЕГЭ не прошла даром.
Аноним ID: Артиллерийский Игорь Стрелков  24/07/25 Чтв 13:18:30 #559 №10048492 
>>10047616
>Карусель подрывается от попадания дрона между крышкой мто и погоном башни
Это видите ли у тебя одно
>точно также как и бк в нише западных танков
А здесь почему то совсем другое, что типа оправдывает компоновку лепэрдэ и швабрамса
>Все маняпроекты Морозова с изолированным бк в корпусе ни к чему не привели
Потому что не имеет смысла изолировать то что при детонации разрушает всё на десяток метров независимо от брони.
>Арматы можно еще 10 лет ждать
Распил, Т-90М покрывает все нужды плюс это лучший в мире танк.
>Следовательно выбирая из двух зол меньшее, выбираю схему леопёрда, естественно без бк в корпусе
Чтобы танк рвонькал и убивал экипаж?
Сердюков хотел закупить швитые лепэрдэ, только вот он и известен за то что херил всю армию.
>китайцы на тип-15
Хуйня из-под коня без брони и пушки, основной танк китайцев - это переработанный Т-72 с обычной каруселью
>чхонма-2
Потешная фигня для кима, который кстати тоже конченный бареносос
>сразу такое размещение бк станет кошерным
Ты скозав?
Аноним ID: Артиллерийский Игорь Стрелков  24/07/25 Чтв 13:21:59 #560 №10048497 
>>10047738
Так у него даже газовой аргументации нет, чисто повторяет жопадные методички про башнемёты и швитые бронезанавески, броневоздух и невзрываемые баки, хотя любому дебилу понятно что это наследие полного отставания запада в танкостроении

>>10047965
Пути баренососов неисповедимы, но цели очевидны
Аноним ID: Прогрессивный Хорти  24/07/25 Чтв 15:43:57 #561 №10048620 
>>10048492
Вот именно, что взрыва бк в нише пока не было запечатлено. Волшебная взрывчатка это или волшебная шторка. Но пока что на видео попадали лишь пожары. А так, да - скорее всего от взрыва шторка не спасет, только вот панельки давление стравливают и фугасы/кумулятивы не взрываются. Почему ещё ни разу в сам снаряд не залетел фпв, я не знаю, тогда бы посмотрели, что будет с башней от взрыва бк.
Аноним ID: Малозаметный Сэмюэл Кольт  24/07/25 Чтв 23:33:13 #562 №10049195 
>>10047462
>Первая СУО современного типа
>нет тепловизора.
>нет автомаческого сопровождения цели
>хуже кратность
>не срелят на ход.
>на гироскопах и вычислителем
>против электрического стабилизатора и элеронного сопровождениия цели
буквально жри говно.

>>10047497
было на хм1 и серных м1 в 1978 году.
>Ночные приборы не столь критичны
тепловизоры работают и днём говно.
Аноним ID: Малозаметный Сэмюэл Кольт  24/07/25 Чтв 23:54:11 #563 №10049215 
>>10047738
>И на это пруфов тоже нет.
только 3,500 уничтоженнных танков с нашей стороны и ещё 1000 с хохляцкой.
башню отрывало от весго птуры, мины, рпг, фпв, арта, сбросы и тд.
в том время ка тоже бк абрмса уничтожался только при падание в крышу в бк. без детонации снарядов. и из 19 шутк на ЛА сгоревших только 7 штук из 4 которых 4бк. и 4 инженере машины из которых две сгорели.

так сапу тупое умственно отсталые решение это карусль с бк.
Аноним ID: Малозаметный Сэмюэл Кольт  24/07/25 Чтв 23:57:36 #564 №10049219 
>>10048492
>Т-90М покрывает все нужды плюс это лучший в мире танк.
уничтожено больше чем лео и абрамосов с подрывам бк, жучесть не намного выше чем обычных теше + буквально все те же недостаки не один почти не исправили рукожопы, за 60 лет.
Аноним ID: Сметливый Малиновский  25/07/25 Птн 00:32:06 #565 №10049235 
>>10047438
Да блять порох не имеет бризантности, он только ствол порвёт от избытка давления, ну и какого хуя видосы где попадают чисто в БК, при закрытой шторке экипаж тупо покидает технику? Вв дефлагрирует, и сука, при хранение чуйка уменьшается, давай блять аргументы с пруфами, у меня один хотя бы на фотке есть. Про башнометы ты заебал уже, сука похуй мне, что наши при попадание в порох полностью сгорают, я тебе говорю, что шторка, а дальше её присоединение как на Ле клерке наверное хуй знает че они сделали к автомату заряжание и правда виднеется будущее, ибо БК выгорело, экипаж убежал или как в играх уехал. Если шторка открыта ясен хуй экипажу пизда, но шторка защитит от его сгорания/дефлаграции. Так ты блять бот или кто нахуй, ты сука знаешь же, что ВВ не только может сгореть и сдетонировать, а ещё сгореть с хлопком злоебучим? У тебя бота пидораса наверное термобар пробивает все танчики, ибо ФУГАСНОСТЬ БЛЯТЬ, А ТО ЧЕ ТЫ ЭТОЙ ФУГАСНОСТЬЮ ТОЛЬКО ПЕХОТУ ГАСИШЬ ТЕБЕ ПОХУЙ ЖЕ ДА ГАНДОН ЕБАНЫЙ?
Аноним ID: Сметливый Малиновский  25/07/25 Птн 00:34:09 #566 №10049238 
>>10047500
Если шторка закрыта, а ВВ не сдетонировало, хуй там. Вот они и сделали блять взрывчатку, которая не детонирует от пули и кумулятивной струи!
Аноним ID: Артиллерийский Вацлав Холек  25/07/25 Птн 20:02:31 #567 №10050418 
>>10049219
>+ буквально все те же недостаки не один почти не исправили рукожопы, за 60 лет.

За 80 лет, потому что на тигре было 4 задних скорости))
Аноним ID: Поршневой Клостерман  26/07/25 Суб 11:22:22 #568 №10051539 
>>10049235
Не корми гильзашиза! Не отвечай ему!
Аноним ID: Поршневой Клостерман  26/07/25 Суб 11:25:28 #569 №10051540 
>>10049238
А почему же тогда фугасики в абраше появились только в 2020-м? Они же невзрываются.
Аноним ID: Химический Макнамара  26/07/25 Суб 17:41:48 #570 №10052125 
>>10051540
Были всю жизнь кумулятивы. Шах и мат. А фугасов не было, потому что ручками тяжело таскать.
Аноним ID: Дерзкий Котохито  26/07/25 Суб 18:10:03 #571 №10052153 
>>10052125
В кумулятивах ВВ мало, и взрываются они только в одну сторону.
>А фугасов не было, потому что ручками тяжело таскать.
А ведро картечи на гигаутку ручками не тяжело таскать?
Аноним ID: Снайперский Нгуен Тун  26/07/25 Суб 19:07:14 #572 №10052212 
>>10052153
1,5 кг не очень-то и мало. А взрыв идёт во все стороны.
Аноним ID: Суетливый Чан Кайши  26/07/25 Суб 20:00:38 #573 №10052302 
>>10052153
>взрываются они только в одну сторону.
мань, да, воронка направляет свою (воронки) энергию в одну сторону. Но ты сейчас на серьезных щщах хочешь сказать что КРОМЕ воронки никуда энергия не идет? И сдетонировавшая в укладке одна кума не бахнет соседнюю и все что рядом, лол?
Аноним ID: Водородный Роммель  26/07/25 Суб 23:09:46 #574 №10052571 
>>10052302
Тычо швятобаренские снаряды всегда взрываются в одну сторону не задевая другие, на что и рассчитана швятобаренская вышибная фольга и бронезанавески, пороховые шашки вообще никогда не взрываются тоже

Это как броневоздух и невзрываемые топливные баки. Работает просто потому что это совершенно новые физические принципы.
Аноним ID: Радиоактивный Хироо Онода  27/07/25 Вск 10:18:07 #575 №10053101 
>>10052571
Да блять, там все расчитано, что снаряды не сдетонируют, а дефлагрирует!
Аноним ID: Радиоактивный Хироо Онода  27/07/25 Вск 11:05:31 #576 №10053148 
>>10052571
И бля взрыв бывает разный, если порох с детонирует, с его то нулевой бризой он только сжечь все нахуй сможет да и человека убить, а если ВВ сдетонирует, то там точно 30 мм шторка не спасёт, но они же блять после Ирака додумались новое ВВ делать для снарядов, теперь оно не детонирует от прямого попадания кумулятива, от детонации пороха тем более бля, только горение со взрывом должно быть, ну если экипаж долбоебов решил оставить шторку открытой ему само собой пизда. И теперь к самому главному, в чем проблема взять автомат заряжание япошек или лягушатников, и тупо закатать все в сталь, чтобы даже при заряжение если че попало, все газы которые не имеют скорость свыше 8км/с, а только мегапаскали, вылетели через ствол и ту крышку хуюшку? Разве это невозможно? И почему мы ну, если хотим сделать мега крутой танчик хуянчик, с мега живучим экипажем, быстрой пушкой как на диком западе вся хуйня не можем использовать такой вариант? Объясните в чем я не прав и где тупой малолетка
Аноним ID: Радиоактивный Хироо Онода  27/07/25 Вск 11:30:53 #577 №10053170 
175360479095577488.jpg
>>10052571
http://chemistry-chemists.com/N2_2013/P1/pirosprawka2012.pdf
Опа опа, секретные документы подъехали
Аноним ID: Радиоактивный Хироо Онода  27/07/25 Вск 11:33:11 #578 №10053173 
175360487043449162.jpg
Мб вдруг рил кто-то не знает, чем отличается детонация от дефлаграции.
Аноним ID: Фланкирующий Андрей Шкуро  27/07/25 Вск 12:07:54 #579 №10053215 
>>10053170
Погодика, но ведь динитроанизол это по сути динитрофенол, с лишним углеродом, а динитрофенол это допотопная флегматизирующая хуета из первой мировой войны, тупые амеры ещё с его помощью худеть пытались в 30е, и дохли от интоксикации.
Мы точно про "новые Технологии" говорим?
Аноним ID: Радиоактивный Хироо Онода  27/07/25 Вск 12:32:07 #580 №10053247 
>>10053215
Да я ебу, я тупой зумер. Новые не новые похуй, если так рассуждать, тактика с заменой фугасных снарядов на кумулятивные и только ещё и у немцев была. Докажи плез, что их кумулятивы детонируют от кумулятивной струи
Аноним ID: Блиндированный Гастелло  27/07/25 Вск 12:34:13 #581 №10053249 
>>10053215
Тротил вообще из 19 века.
Аноним ID: Радиоактивный Хироо Онода  27/07/25 Вск 12:51:55 #582 №10053285 
Конечно это нагло о таком просить, но танки с мангалами хоть раз стреляли? И почему очень часто можно встретить видосы/фото где т72 или т90 хз приехав на позицию, не становится передом, лбом к противнику, а банально поворачивает башню и стоя боком хуярит минуту полторы по известным позиция противника? Ведь за эти полторы минуты в него может прилететь птур, СПГ или рпг и шансы пробить его в борт очень высоко, в отличии от лба? Неужели тут как в играх по типу тундры, если че прилетит то убьёт командира или движок?) Или типо он крутится пиздец как долго?
Аноним ID: Радиоактивный Хироо Онода  27/07/25 Вск 12:55:19 #583 №10053293 
Ваще броня танков роляет или логичнее перейти на лёгкие БМП? Ибо бронёй как будто пользоваться не хотят, а если все дрочат на СКОРООООСТЬ, как с рассказами про Т34 и её неебическую мобильность, то нахуя делать метр брони во лбу? Как будто танки делались под чёткую доктрину, а всем похуй и используют как угодно, но не как танки.
Аноним ID: Блиндированный Гастелло  27/07/25 Вск 13:04:32 #584 №10053314 
>>10053293
В вялотекущей позиционке танк реально становится хуевой неточной САУ.
Аноним ID: Радиоактивный Хироо Онода  27/07/25 Вск 13:11:35 #585 №10053324 
>>10053314
Как по мне все эти стрельбы не прямой наводкой банально из-за страха потерять технику, людей не жалко в пиздец отправлять, без нормальной арт подготовки, разведки БПЛА и прочего, а танкистам страшно походу вот и крутятся как могут. Из-за этого всего и выходит, что в штурмы добровольцев нету, они часто помирают, и ваще штурм приговор для провинившихся. А если бы другие работали нормально, ну арта, бронетехника, разведка и все остальное, штурмы бы теряли в полтора два раза больше людей, чем все остальные.
Аноним ID: Гусарский Леннарт Эш  27/07/25 Вск 13:25:03 #586 №10053341 
>>10053293
>логичнее перейти на лёгкие БМП
Нет
>броня танков роляет
Да
Аноним ID: Гомогенный Лев Мехлис  27/07/25 Вск 13:38:10 #587 №10053350 
>>10053293

БМП ещё хуже. Вообще хуже БМП сложно что-то придумать.
Аноним ID: Блиндированный Гастелло  27/07/25 Вск 13:56:30 #588 №10053373 
>>10053324
Так нету направлений для наступления танковой бригадой. Только взаимная долбежка артой, и наступления пехотой на миллиметр.
Аноним ID: Гусарский Леннарт Эш  27/07/25 Вск 14:15:38 #589 №10053416 
>>10053350
>Вообще хуже БМП сложно что-то придумать
Двачую
Аноним ID: Гусарский Леннарт Эш  27/07/25 Вск 14:20:49 #590 №10053428 
>>10052302
>воронка направляет свою (воронки) энергию в одну сторону
Компьютерные игрульки. Итоги
Хоть погугли что-ли
Аноним ID: Радиоактивный Хироо Онода  27/07/25 Вск 14:54:26 #591 №10053479 
Кста а че ну танчикам ударное ядро не юзать а-а-а-а-а??? Типо ну вот там вроде энергия во все стороны типа нуууу и лишь малая часть на ядро-о-о-о, или это мёртвый проект из-за слишком малых милиметриков? Как у пенсила
Аноним ID: Бронебойный Рой Чадвик  31/07/25 Чтв 16:18:21 #592 №10060573 
>>10053479
напиши нормально что ты имел ввиду.
Аноним ID: Артиллерийский Вацлав Холек  16/08/25 Суб 22:59:15 #593 №10094801 
unnamed.jpg
>>10014024
>Приводить в качестве пруфов геноцид тапочников (который был с воздуха против страны с морально устаревшей пво)

>одна из немногих нефтяных экономик, споконо покупавшая топовое экспортное советское вооружение за доллары (а не получавшее по братской помощи в долг)
>лучшее в мире эшелонированное ПВО за пределами СССР и ОВД
>самые топовые советские ЗРК, разрешенные к поставкам за пределцы соц. стран (не было разве что С-300)
>французские ЗРК
>ИЛ-76 с самодельной эрзац ДРЛО с французскеой РЛС
>наземные станции РЛС дальнего обнаружения
>около 700 стребителей включая трехмаховый миг-25пд, мираж ф1 и новейший на тот момент миг-29
>10 лет боевого опыта армии в ирано-иракской
>куча бункеров, подземных баз

>геноцид тапочников
Аноним ID: Логистический фон Унгерн-Штернберг  16/08/25 Суб 23:44:07 #594 №10094838 
>>10094801
Топовые Т-55 и Т-72М с 3БМ15 вместо снарядов да уж
Аноним ID: Артиллерийский Вацлав Холек  17/08/25 Вск 00:08:54 #595 №10094863 
>>10094838
>Т-72М с 3БМ15 вместо снарядов да уж

Ничего другого на экспорт не шло, во всем мире за пределами двух блоков были танки со 105 пушкой с гомогенной броней или того хуже всякие м48, в Израиле в 1990 только-только приняли на вооружение меркаву-3 с комбинашкой и 120 пушкой. До этого меркава по бронированию и огневой мощи была чуть лучше т-55/62, и то спорно учитывая количество уязвимых зон. Так что т-72м был топовым экспортным танком на 1991 год, да, пробить из 105 пушки (которая была к тому же на абрамсе) его было невозможно имеющимися на тот момент боеприпасами.

Полная доминация Ирака над соседями в т.ч. по танковой мощи. Какие-же это тапочники, зачем ты передергиваешь факты?
Аноним ID: Артиллерийский Вацлав Холек  17/08/25 Вск 00:25:47 #596 №10094886 
Merkava-Mk42.jpg
Кстати меркава-4 сама по себе очень интересная конструкция, но рассматривать ее нужно с тз не классических танков и тем более не "противотанковых" танков, как западные, а с тз боевой машины в целом.

Учитывая, что там большой заброневой объем (который сам по себе уже подразумевает высокую живучесть), боеукладка ниже башни в огнеупорных контейнерах на 4 снаряда, нормально забронированный композитной броней борт корпуса и башни, то евреи создали лучший танк под свои задачи. Ей бы еще вместо гладкоствола короткую мортиру с большим углом возвышения для того, чтобы можно было с ЗОП складывать панельки и было бы вообще идеально. Тапочнику с рпг нужно очень сильно изъебнуться, чтобы уничтожить это все паленой копией пг-7в, тем более поджечь боеукладку. Из угрос разве что мощные фугасы
sageАноним ID: Heaven 17/08/25 Вск 00:56:27 #597 №10094923 DELETED
>>10094886
Яб ее даунгрейднул до 105мм и побольше фугасни накидал.
Аноним ID: Реактивный Вацлав Холек  17/08/25 Вск 01:03:00 #598 №10094931 
>>10094886
>Учитывая, что там большой заброневой объем

Ох уж этот броневоздух.

>боеукладка ниже башни в огнеупорных контейнерах на 4 снаряда

Всё отлично, только вот корм для фпв сзади, который нормально не прикроешь из-за аппарели. Ну и
>огнеупорных контейнерах
Это из разряда вышибных панелей - плюс 0.00001% к выживаемости.
Хотя у западных танков хотя бы БК первой очереди массивная и удобная для негра (для фпв, кстати, тоже лакомка). ЕРЖ же придётся дрочиться туда-сюда.

>короткую мортиру

ЕМНИП там есть миномёт встроенный.

>то евреи создали лучший танк под свои задачи

Ну против тапочников... Хотя нет, уже и тапочники этот королевский тигр в 80+ тонн кладут штабелями, приходится аж 3-и меркавы расчехлять. Таки броневоздушная NERA не спасает. А технологии ДЗ почему-то евреи просрали, хотя смогли сделать блейзер раньше чем контакт-1. Западная танковая дегенеративная мысль видимо выбила все зачатки разумного.
Аноним ID: Артиллерийский Вацлав Холек  17/08/25 Вск 01:26:42 #599 №10094953 
>>10094931
>Ох уж этот броневоздух.

Броневоздух работает в отличие от сверхплотной компоновки, потому что при пробитии меньше шансов задеть что-то жизненно важное

>Это из разряда вышибных панелей - плюс 0.00001% к выживаемости.

Вышибные панели дают +100% к выживаемости экипажа, сюда же огнеупорные контейнеры в меньшей степени. Задача вышибных панелей это сброс давления от легковоспламеняющихся метательных зарядов (да, унитара тоже есть разделение на заряд и снаряд), дабы избежать бума с последующим взрывом самих снарядов. Были пруфы как в лео укладка прогорела, но снаряды со шрапнелью лежали невзорванные потому что их трудно инициировать не задев взрыватель.

Задача огнеупорных контейнеров это защита БК от горячих осколков и искр в случае пробития, т.е. поджечь бк в меркаве можно непосредственно задев его кумулятивной струей, также в случае попадания струи в контейнер соседний контейнер как минимум не загорится сразу

+ и тот и другой вариант позволяет экипажу дать по съебам, хотя бы с ранения хоть как-то, а не дизентигрироваться на атомы вместе с танком в ту же секунду после попадания. Это физика, учи матчасть
Аноним ID: Артиллерийский Вацлав Холек  17/08/25 Вск 01:30:47 #600 №10094957 
>>10094931
> Таки броневоздушная NERA не спасает. А технологии ДЗ почему-то евреи просрали, хотя смогли сделать блейзер раньше чем контакт-1

NERA это не броневоздух и не композитная броня в традиционном понимания, а невзрывная динамическая защита на основе полимера, который при пробитии вступает в хим реакцию, вспучивается и своей энергией гасит кумулятивную струю. По тому же пути пошли НИИ стали со своим малахитом на армате, где взрывчатку из дз практически убрали, читай интервью с главой НИИ стали на bmpd. Ты вообще нихуя не знаешь буквально.
Аноним ID: Логистический фон Унгерн-Штернберг  17/08/25 Вск 02:56:45 #601 №10095075 
Irak Cumhuriyet Muhafizlari T-72 Ural Iran Irak Savasi.webp
>>10094863
Это ты передергиваешь, долбоебина, либо просто тупишь. При чем тут какие-то М48 если иракские старые Т-72 воевали против новейших М1А1 с пушкой 120мм. Судя по фоткам они даже ОКР Отражение не проходили, это была игра в одни ворота
Аноним ID: Реактивный Вацлав Холек  17/08/25 Вск 02:59:04 #602 №10095077 
>>10094953
>Броневоздух работает в отличие от сверхплотной компоновки, потому что при пробитии меньше шансов задеть что-то жизненно важное

Зато как легко попадать в броневоздушный сарайчик. К слову этот сарайчик ещё и весит дофига. То есть минус мобильность на всех уровнях сразу - в тактической луже застрянет, оперативный мост обрушит, а стратегический самолёт попросту не взлетит. Но ковырять тапочников буквально под боком - да, дело другое. Только стоит ли оно того специально проектировать танк - вопрос.

>Это физика, учи матчасть

Ну тогда тебе следует разделять понятие горения (дефларгации) и взрыва (детонации). И понимать, что пачка фугасов рванёт и разорвёт танк с экипажем независимо от бронезанавесок. Фугас - это основа БК, 90%. А ещё бронезанавеска картонная, башенная ниша большая и уязвимая.

Всё это работает (если не спекулировать на теме детонации пороховых зарядов) только в условиях, когда у тебя в БК одни ломы и кумули (они развёрнуты назад, стало быть при детонации ломают корму башни), а противник - танковые орды, а сам танк стоит где-то в фульде с заготовленными позициями, между которыми можно без опаски застревания перегонять технику. Нет коптеров и фпв, птуров с метром+ бронепробития. Короче, детский сад.

>>10094957
Ну только армата так и пылится, а вот Т-90М свинорезит сильно и стабильно.
Аноним ID: Реактивный Вацлав Холек  17/08/25 Вск 03:01:28 #603 №10095079 
>>10095075
Ну будь у иракских танков бопсы с 2 метрами бронепробития. Это как поможет, когда тебя долбит авиация 24/7, а у танков везде тепловизоры?

То что иракцы тапочники факт, но ты не туда смотришь. Вообще Т-72 и Т-55 в классической роли танков даже будут лучше, чем абрамсы, которые противатоанковые самоходки, а не танки.
Аноним ID: Свето-шумовой Джон Нортроп  17/08/25 Вск 08:30:03 #604 №10095390 
photo91695446116jpg.jpg
photo121695446116jpg.jpg
photo21695447476jpg.jpg
photo11695447670jpg.jpg
>>10095079
Т-72 это вообще чудо-танк. Вершина танкостроения 20 века. На отсталых технологиях с кучей ограничений по массе, высоте, ширине создать годный танк это надо было постараться.
Аноним ID: Артиллерийский Вацлав Холек  17/08/25 Вск 12:49:22 #605 №10095705 
>>10095075
Дурачок здесь только ты, у которого т-72м в 80е это оружие тапочников, а не лучший экспортный танк из возможных к поставке за пределы двух блоков. К тому же Ирак воевал не только танками, и танки с танками в той войне практически не воевали уже в отличие например от арабо-израильских, были единичные случаи как истинг 73.

Я уже написал выше почему Ирак не тапочники, и почему высеры в духе что клятые пендосы только с дикарями на ослах воюют это копиум. Оказалось что не только с дикарями, а вполне себе с милитиристскими развитыми странами с нефтяной экономикой сотнями топовых танков и истребителей/эшелонированным ПВО
Аноним ID: Артиллерийский Вацлав Холек  17/08/25 Вск 13:16:48 #606 №10095780 
>>10095390
>Вершина танкостроения 20 века

Думаю это очевидный леопард 2 ибо танчик поставил кучу стандартов в танкостроении на годы вперед, породил кучу клонов начиная от японца и заканчивая индусом, мто полностью перекочевало на китайские танки, всякие леклерки и к2 отсюда же растут. леопард 2 в 80е как т-34 в 40е - не был революционным, не был самым защищенным, но по совокупности характеристик это был лучший танк и прародитель послевоенных обт, так и лео прародитель современных обт.
Аноним ID: Свето-шумовой Джон Нортроп  17/08/25 Вск 13:37:43 #607 №10095853 
>>10095780
> это был лучший танк
слишком тяжёлый и дорогой.
>и прародитель послевоенных обт
Это тупиковая ветка пчел. Либо ты делаешь Т-72, либо делаешь Т-14, где утяжеление избегается за счёт необитаемости башни. Есть два стула и ничего больше. Остальное на мусорку.
Аноним ID: Артиллерийский Вацлав Холек  17/08/25 Вск 14:54:43 #608 №10096097 
>>10095853
>слишком тяжёлый и дорогой.
Больше телевизор смотри.

>Либо ты делаешь Т-72,
Т-72 исчерпал модернизационный потенциал, нет модульности брони, нет моноблока, замена двигателя по нормативу занимает сутки, куча костылей вроде гитары чтобы связать рудиментарные БКП от т-64 с традиционным мотором v-12, сам двигатель старый уже по меркам 70х, в последних модернизациях удельное давление на грунт за счет 6 катковой ходовой равно или даже выше удельному давлению на грунт семикатковых западных танков, живучесть экипажа при пробитии брони минимальная

>либо делаешь Т-14
Пока что это нежизнеспособный концепт
Аноним ID: Дерзкий Котохито  17/08/25 Вск 17:07:27 #609 №10096378 
001.jpg
>>10095780
Лео2 это эталонная машина мирного времени. Он во всём хорош, если только на нём не воевать.
Стоит дохуя, но папочка из ФРС заплатит. Щеголяет модульностью, при этом зависит от дорогостоящей логистики сложных крупноблочных элементов, которой в реальном замесе не будет. Прекрасно защищён с правильного ракурса, а с неправильного на учениях не атакуют. Не содержит страшной карусели под днищем, правда боеукладка вместе с баками лежат прямо во лбу вокруг мехвода-камикадзе, и всё это метает башню ничуть не хуже.

Главное достоинство леопёрда - что вплоть до 17 года они не воевали, а эффектно позировали перед журнашлюхами своей футуристичностью и занимали первые места во всяких манярейтингах. Что сделало его коммерчески успешным. А главное - его сделал коммерчески успешным тот факт, что основной американский конкурент проебал своё танковое производство и самоустранился с рынка, дав немцам чуть-чуть пожить.

После Сирии вау-эффект прошёл, после Украины от леопёрда ничего не осталось. Оказалось, что это такая же страдай-телега, что и ржавые советские дабабы в чуркестанах. Только дабабы кое-как десятилетиями обслуживать можно, а эльфийские поделки одноразовые.
Аноним ID: Устаревший Алоис Томишка  17/08/25 Вск 18:05:06 #610 №10096475 
>>10096378
Вообще говоря Лео2 успел повоевать в Афганистане и затанковать несколько ПТУРов и фугасов от талибов.
Аноним ID: Свето-шумовой Джон Нортроп  17/08/25 Вск 18:22:10 #611 №10096517 
>>10096097
>Больше телевизор смотри.
Это не телевизор, это факты.

>Т-72 исчерпал модернизационный потенциал, нет модульности брони, нет моноблока, замена двигателя по нормативу занимает сутки, куча костылей вроде гитары чтобы связать рудиментарные БКП от т-64 с традиционным мотором v-12, сам двигатель старый уже по меркам 70х, в последних модернизациях удельное давление на грунт за счет 6 катковой ходовой равно или даже выше удельному давлению на грунт семикатковых западных танков, живучесть экипажа при пробитии брони минимальная
И всё равно он лучше всех остальных танков (кроме Т-90 и Т-80).
>Пока что это нежизнеспособный концепт
Концепт не может быть нежизнеспособным.
Аноним ID: Авиационный Виктор Золотов  17/08/25 Вск 19:07:43 #612 №10096574 
>>10096475
А почему когда на нем воевали турки ЛЕО затанковать не сумел и стал башнеметом, хотя он вроде как пиромангал.
>>10095780
>леопард 2
А как же самый непробиваемый танк в мире с сортиром и чайной станцией, истинный лев поля боя - ЧЛЕНОЖОР 2/3?
Аноним ID: Многофункциональный Ямашев  18/08/25 Пнд 00:17:16 #613 №10097172 
>>10096378
>правда боеукладка вместе с баками лежат прямо во лбу вокруг мехвода-камикадзе

Наоборот БК в корпусе многократно повышает живучесть, потому что в корпус прилетает многократно меньше, чем в башню. Вышибные фанеры и бронезанавески - это буквально механизм самоуничтожения техники. Потому что от детонации спасает только вынос БК метров этак за 10, то есть танк тогда перестаёт быть танком. Танкисты всегда имели атмосферу камикадзе.

Вообще самый лучший и универсальный контраргумент против западного говна - это его вес. Это на бумажке выгодно чертить убиваторы неубиваемые, вот только тактическая лужа передаёт привет.

>что и ржавые советские дабабы в чуркестанах

Вообще-то советские ржавульки воюют десятилетиями и в роли классических танков и в рот и в жопу уделывают западное дерьмо.

Сколько вообще ещё можно опускать баренососов на военаче? Они совсем решили закидывать мясом без аргументов? Был тут ещё один пироманьяк, который оправдывал бронезанавески и изоляцию БК, наверное в одном из своих экспериментов себя таки подорвал.
Аноним ID: Десантно-штурмовой Николай Сутягин  18/08/25 Пнд 02:04:01 #614 №10097219 
IMG20250818022756261.jpg
IMG20250818022756287.jpg
влд-199.jpg
K3l1UcErSnkfLIhixqIEJBbDtA3QgyRVMJOxCOmVtBg.jpg
>>10095390
>Вершина танкостроения 20 века
Почему он, а не Т64/Т80?
>>10095780
>Думаю это очевидный леопард 2
Честно говоря не очевидно, вполне себе можно назвать Т64 который поставил планку, породил клонов и какие-то современные танки вытекают из него
>>10095853
>Это тупиковая ветка пчел. Либо ты делаешь Т-72, либо делаешь Т-14
Можно сказать Армата из той же оперы, но концептуально по лучше
Я свою шизу скажу что возможно танку иметь большую пушку не нужно и даже 105мм, а какой-нибудь 57мм (в наших реалиях) достаточно и 2 члена экипажа
>>10096097
>Больше телевизор смотри
Тот случай когда в телевизоре врать не будут, современный Леопольд весит ~65 тонн без КАЗа
Т-72 исчерпал модернизационный потенциал, нет модульности брони, нет моноблока, замена двигателя по нормативу занимает сутки
>двигатель старый
Как исчерпал модернизационный потенциал, если ты сам написал что можно модернизировать от себя добавлю можно ещё изолировать баки, осилить керамику для комбинированной брони, задний ход, может ещё выстрелил забыл к птурам прикрутить, но это я уже обсмотрелся американских фильмов
>>10096574
Ебать нахуй вообще приплетать челенджер никто его не называет хорошим танком кроме британцев, но у них свой вайб
Аноним ID: Бомбардировочный Речкалов  18/08/25 Пнд 03:00:47 #615 №10097248 
>>10094801
>миг-25пд
Это не истребитель

>>10095780
>лео прародитель современных обт
ОБТ появились за несколько десятилетий до Лео2. Уже Т-62 и М-48 были по факту ОБТ. У немцев в то время ещё Лео1 с 60-мм ВЛД бегал
Аноним ID: Свето-шумовой Джон Нортроп  18/08/25 Пнд 03:44:13 #616 №10097271 
>>10097219
>Почему он, а не Т64/Т80?
По балансу цена/качество/количество/обслуживаемость если смотреть, то т-72 на топе.
Аноним ID: Малозаметный Чжан Таофан  18/08/25 Пнд 04:13:51 #617 №10097276 
>>10095390
говнина состояшия из только недостатков.

>>10097172
>Наоборот БК в корпусе многократно повышает живуче
охраноскот всё ещё копритивлется за это говно после тысяч метанйи башни. как и вприцепе за танки.
Аноним ID: Свето-шумовой Джон Нортроп  18/08/25 Пнд 04:55:20 #618 №10097294 
>>10097276
Лучший танк в истории, имеющий лишь одни достоинства.
Аноним ID: Свето-шумовой Джон Нортроп  18/08/25 Пнд 06:50:51 #619 №10097386 
photo11669753759.png
photo11632261450.jpg
photo11596650375.jpg
photo71567975968.JPG
Аноним ID: Снайперский Нгуен Тун  18/08/25 Пнд 07:43:34 #620 №10097457 
>>10095077
Так детонация в нише и не происходит, потому что панельки работают - стравливают давление. И пока так никто и не принес как взрываются снаряды в нише с выносом "бесполезной" шторки.
Аноним ID: Пограничный Роман Шухевич  18/08/25 Пнд 08:16:27 #621 №10097504 
>>10097457
Детонировать даже не обязательно, достаточно пробить шторку, т.е. с любой проекции кроме строго сбоку/сзади строго в заднюю часть. И будет шашлык
Аноним ID: Десантно-штурмовой Николай Сутягин  18/08/25 Пнд 08:35:05 #622 №10097523 
>>10097504
>достаточно пробить шторку, т.е. с любой проекции
кроме строго сбоку/сзади строго в заднюю часть И будет шашлык
Правильно понимаю ты считаешь что пробить современный обт в лоб башни очень просто?
Аноним ID: Многофункциональный Ямашев  18/08/25 Пнд 08:40:46 #623 №10097530 
>>10097504
Её не надо дырявить, её негр сам открытой оставит, потому что иначе скорострельность будет залупа в минуту.

Западный "гений" танковой мысли вообще не постижим. Броневоздух, "невзрывная" реактивная броня, незагорающиеся топливные баки, бронезанавески.
Аноним ID: Артиллерийский Вацлав Холек  18/08/25 Пнд 18:24:47 #624 №10098775 
>>10097172

>Наоборот БК в корпусе многократно повышает живучесть, потому что в корпус прилетает многократно меньше, чем в башню
Ты диванный, расскажи это служивым с отваги, которые почему-то кладут 6 фугасов в танк

>Вообще самый лучший и универсальный контраргумент против западного говна - это его вес

Во первых не вес, а масса. Во вторых за проходимость танка отвечает удельное давление на грунт, которое зависит от количества катков и ширины гусли и у западных танков оно даже лучше последних пожирневших т-90 куда напрашивается седьмой каток как на армату. В третьих за мобильность танка отвечает соотношение лс/т и здесь дизельные тешки худшие танки в мире со своими чахлыми дизелями, хуже наверное только челенджер который еще больший калл
Аноним ID: Пехотный Курт Танк  18/08/25 Пнд 18:25:36 #625 №10098778 
image
image
>>10097172
>Наоборот БК в корпусе многократно повышает живучесть, потому что в корпус прилетает многократно меньше, чем в башню.
Так у леопатры БК И в корпусе, И в башне, в том и прикол.
Аноним ID: Бригадный Нгуен Тун  18/08/25 Пнд 18:37:33 #626 №10098810 
>>10097172
Пока Леопард 2 не воевал, то был лучшим. Потому что "лук наиболее полезен, когда пуст и висит на стене". А когда он пошел в бой, то оказалось, что он не лучше других танков.

Хотя есть годные идеи в нем, которые стоит перенимать. Но не имеет смысла делать его клон.

мнение с дивана
Аноним ID: Пехотный Курт Танк  18/08/25 Пнд 18:57:54 #627 №10098852 
>>10098810
Единственные годные идеи у Лепика - Rh120 на первом варике и PERI R17 на 2А4, которые спиздили швятыя в виде M256 и CITV на M1A1 и M1A2 соотв-но. Ничего из этого перенимать сейчас уже нет смысла, а в остальном Леопольд-2 - танк не менее устаревший и не менее обскурно сконструированный, чем тэшки.
Аноним ID: Артиллерийский Вацлав Холек  18/08/25 Пнд 19:24:45 #628 №10098913 
>>10098852
>а в остальном Леопольд-2 - танк не менее устаревший и не менее обскурно сконструированный, чем тэшки.

Как минимум там нормальный, актуальный по сей день дизель и нормальная коробка в моноблоке. В остальном танк сконструирован нормально, просто очень консервативно, не прорыв. Когда-то у нас также делали танки когда был Т-34 и ИС, а потом морозова понесло на микромоторчики, микрокаточки и пороховые бочки

Он прост, в осблуживании проще и удобнее чем какой-нибудь т-62, не говоря уже про карусельные танки. Уязвимых зон больше чем у тэшки, тонкая броня крыши и кормы, но против угроз 70х-80х это не играет роли, а против фпв горит все одинаково! Фпв под погон башни тэшки со стороны мто поражает бк, точно также как и фпв в нишу леопарда. Контрить надо КАЗом и курятниками сверху

Главное что у экипажа было время чтобы съебаться пока горит боеукладка.
Аноним ID: Стальной Геннадий Осипович  18/08/25 Пнд 20:50:05 #629 №10099272 
>>10097523
Оказалось пробивается в лоб с пожаром. Т-90 в аналогичной ситуации не горит
>>10098775
>оно даже лучше последних пожирневших т-90
Пиздёж
>дизельные тешки худшие танки в мире
Опять пиздеж
Аноним ID: Артиллерийский Вацлав Холек  18/08/25 Пнд 21:16:56 #630 №10099432 
>>10099272
>оно даже лучше последних пожирневших т-90
>Пиздёж

Из открытых источников

Удельное давление на грунт леопарда 2а6 - 0.90, 2а4 - 0.85

Удельное давление на грунт т-90а - 0.94. Еще бы ему быть ниже, там же 6 катков всего

У тигра в свое время была единица и он застревал постоянно

Поридж, ты когда нибудь ходил на лыжах по сугробам, думаю нет. Тогда бы понимал почему 7 катковая ходовая коспенсирует массу танка.

>дизельные тешки худшие танки в мире

По официальным данным т-90м весит 51т, при этом имеет двигатель на 1130 лс, получается 22 лс на тонну, это один из худших результатов по подвижности в мире, хуже только челенджер. Леопард 2а6 имеет 25 лс на тонну, более ранние 27 лс на тонну, у леклерка 27 лс на тонну, у арматы 27 лс на тонну. Даже у жирнющего m1a2 sep v3 23 лс на тонну, больше чем у т-90м

Этт тупо факты, ты че думаешь просто так мучают х-образ 50 лет? а что ты можешь высрать кроме "пиздеж"?
Аноним ID: Стальной Геннадий Осипович  18/08/25 Пнд 21:32:13 #631 №10099509 
>>10099432
При чем тут катки вообще. Т-90М дошел до 50 тонн за последнюю пару лет когда его обвешали всем чем можно и нельзя. Если защиту Леопарда довести до такого уровня то он за 70 тонн легко уйдет
Аноним ID: Артиллерийский Вацлав Холек  18/08/25 Пнд 21:40:08 #632 №10099543 
>>10099509
>При чем тут катки вообще.

Притом что ты форсишь манямирок, где западные танки тяжёлые и везде застревают, хотя проходимость не зависит напрямую от массы танка, которая легко коспенсируется. Застревал по факту только челенджер, у которого внезапно 6 катков и убогое все

>Если защиту Леопарда довести до такого уровня то он за 70 тонн легко уйдет

И будет удельное давление на грунт как у т-90м
Аноним ID: Авиационный Владимир Вахмистров  18/08/25 Пнд 23:01:26 #633 №10100009 
>>10099543
>где западные танки тяжёлые и везде застревают, хотя
А как размер катков влияет на проходимость?
Аноним ID: Десантно-штурмовой Николай Сутягин  18/08/25 Пнд 23:20:53 #634 №10100103 
>>10099272
>Оказалось пробивается в лоб с пожаром
Жду видео пробития в лоб башни с пожаром БК
Аноним ID: Ретивый Сухой  18/08/25 Пнд 23:46:42 #635 №10100202 
>>10098778
Из корпуса обычно убирают, как и из немеханизированных укладок тешек.

>>10098810
И какие же там "годные идеи"? Тепловизор? Уже не новость. Западная школа техники - это говно, у нас их высеры никто всерьёз никогда не принимал, ну кроме всяких предателей-сердюковых и прочих западенцев.
Аноним ID: Стальной Геннадий Осипович  19/08/25 Втр 01:20:49 #636 №10100433 
>>10099543
Да не, это ты какую-то херню про катки выдумал. Ну сделай ваще 8 катков на 4 тележках с пружинами, охуенно же будет? Челленджер даже длиннее Леопарда, а катков 6 потому что они диаметра большего. Проблема его в том, что это царь-сарай отожратый с обвесом уже до 75 тонн. Обмажь Леопард-2 экранами, динамичкой и мангалами и будет такое же уебище перегруженное
Аноним ID: Строевой Эрнст Буш  19/08/25 Втр 02:09:42 #637 №10100487 
>>8112526 (OP)
>Бурлак
Закопайте стюардессу.
Аноним ID: Десантно-штурмовой Николай Сутягин  19/08/25 Втр 12:15:49 #638 №10101183 
>>10100202
>И какие же там "годные идеи"?
Вот Хмен выложил https://t.me/btvt2019/19160
>Рекомендации
>В ходе разработки новых или модернизации отечественных образцов БТВТ представляется целесообразным:
рассмотреть возможность доработки конструкции отечественных танковых трансмиссий в части повышения максимальной скорости заднего хода ... путем установки >механизма реверса заднего хода
>применение быстросъемных соединений
>модульной прокладки проводов
>установка видеосмотровых устройств с диагональю не менее 38 см для обеспечения высокой ситуационной осведомленности
Даже если это фейк инфа чем эти идеи не годные
>предателей-сердюковых
Не смотря на то что его реформа была спорная много всего годного было закуплено
Аноним ID: Ретивый Сухой  19/08/25 Втр 12:22:28 #639 №10101202 
>>10101183
>тонколюк

Я лучше пойду с деревом разговаривать.

>скорости заднего хода

Как это актуально когда дроны прилетают со всех сторон?

>установка видеосмотровых устройств с диагональю не менее 38 см для обеспечения высокой ситуационной осведомленности

Которые отвалятся в реальной войне, потому что ВНЕЗАПНО такое надо обслуживать и потому что такое выйдет из строя от первого осколка.
Аноним ID: Десантно-штурмовой Николай Сутягин  19/08/25 Втр 13:07:12 #640 №10101338 
>>10101202
>Как это актуально когда дроны прилетают со всех сторон?
Вероятность городских боёв мы вычеркиваем как и ситуации когда прилетает ПТУР и РПГ в лоб и нужно быстро откатиться
Исключительно ситуации что в нас летит 50 ФПВ в чисто поле и задний ход не НУЖЕН идея хуйета
>потому что ВНЕЗАПНО такое надо обслуживать и потому что такое выйдет из строя от первого осколка.
Удобные экраны тоже не нужны пусть смотрят в 10 см квадратики иначе могут сломать это что из оперы, мы кнопочку нажмём дроны все упадут, а вы им розетку в окоп проведёте и.т п
И что ты про остальное промолчал или это тоже говно идеи
Аноним ID: Артиллерийский Вацлав Холек  22/08/25 Птн 14:40:56 #641 №10109043 
>>10101338
> Вероятность городских боёв мы вычеркиваем как и ситуации когда прилетает ПТУР и РПГ в лоб и нужно быстро откатиться

Чекни его предыдущий пост итт про Сердюкова и западную школу. Тупорогий скот будет оправдывать что угодно, какой угодно изъян включая задний ход 4км/ч, даже не зная, что у той же серийной бмп-3 совершенно нормальная трансмиссия без всяких бкп, где есть гидротрансформатор и реверс 30км/ч. а бмд-3 и бтр-90 жопой могли ехать 70км/ч при желании, но не срослось в серию из двигателя 2в. Ну тупые конструкторы, ведь 4км/ч хватило же, ведь так решил морозов на своем т-64, лишние скорости заднего хода добавляют массу же

Да что уж там, даже на тигре было 4 задних скорости и нормальный для того времени реверс что-то около 15км/ч, и эта коробка была изучена еще в 40х, а гидротрансформатор для танка был создан в Челябинске еще в 50х, но это все не нужно!
sageАноним ID: Heaven 22/08/25 Птн 14:44:18 #642 №10109053 DELETED
>>10095390
Так, вы меня разбудили. Придется расшевелить ваше болото капсболдом про тагиломразей и клинское, но пока лень.
Аноним ID: Триумфальный Фусими Хироясу  22/08/25 Птн 16:05:14 #643 №10109345 
>>10109043
ебать охранительский даун 2025 год всё копротивлялся за этот ущербный задний ход.
comments powered by Disqus